TOP
|
特許
|
意匠
|
商標
特許ウォッチ
Twitter
他の特許を見る
公開番号
2025142968
公報種別
公開特許公報(A)
公開日
2025-10-01
出願番号
2024042623
出願日
2024-03-18
発明の名称
細胞励起装置
出願人
株式会社豊田中央研究所
代理人
個人
,
個人
主分類
C12M
1/42 20060101AFI20250924BHJP(生化学;ビール;酒精;ぶどう酒;酢;微生物学;酵素学;突然変異または遺伝子工学)
要約
【課題】信号源で発生する磁気信号を十分に抑えつつ、磁気を利用した刺激を高い空間分解能で細胞に加える。
【解決手段】
細胞励起装置は、磁場発生源と、磁場発生源上に配置されて、磁場発生源に対向する第1の面とは異なる第2の面として、表面に細胞を配置するための面、あるいは細胞に対向して配置するための面を有する基板と、基板内において2次元的に配置された複数の磁性体コンセントレータによって構成される磁性体コンセントレータアレイと、を備え、複数の磁性体コンセントレータの各々は、磁気異方性を有しており、磁性体コンセントレータにおける磁化容易軸の延長線上に前記磁場発生源が配置された状態において、磁場発生源が発生する磁気信号が磁性体コンセントレータを介して第2の面に出力される磁気回路を形成する。
【選択図】図1
特許請求の範囲
【請求項1】
細胞励起装置であって、
磁場を発生する磁場発生源と、
前記磁場発生源上に配置された基板であって、前記磁場発生源に対向する第1の面とは異なる第2の面として、表面に細胞を配置するための面、あるいは細胞に対向して配置するための面を有する基板と、
前記基板内において2次元的に配置された複数の磁性体コンセントレータによって構成される磁性体コンセントレータアレイと、
を備え、
前記複数の磁性体コンセントレータの各々は、磁気異方性を有しており、
前記磁性体コンセントレータにおける磁化容易軸の延長線上に前記磁場発生源が配置された状態において、前記磁場発生源が発生する磁気信号が前記磁性体コンセントレータを介して前記第2の面に出力される磁気回路を形成する
細胞励起装置。
続きを表示(約 1,300 文字)
【請求項2】
請求項1に記載の細胞励起装置であって、さらに、
前記磁場発生源に対して磁場発生のための電流を供給する電流供給部を備え、
前記磁場発生源は、コイル、または、コイルおよび磁性体コアによって構成されている
細胞励起装置。
【請求項3】
請求項1に記載の細胞励起装置であって、
複数の前記磁場発生源を備え、
複数の前記磁場発生源は、2次元的に配置されたアレイ構造を有し、
前記磁場発生源の各々は、対応する前記磁性体コンセントレータと共に磁場発生ユニットを構成し、
各々の前記磁場発生ユニットにおいて、前記磁場発生源は、対応する前記磁性体コンセントレータにおける磁化容易軸の延長線上に配置されている
細胞励起装置。
【請求項4】
請求項3に記載の細胞励起装置であって、
前記複数の磁性体コンセントレータの各々は、前記基板の面方向に垂直な方向が前記磁化容易軸となるように配置されており、
前記磁場発生源の各々は、対応する前記磁性体コンセントレータと、前記基板の面方向に垂直な方向に重なる位置に配置されている
細胞励起装置。
【請求項5】
請求項1に記載の細胞励起装置であって、さらに、
前記複数の磁性体コンセントレータの各々の磁化容易軸の延長線上に前記磁場発生源が位置するように、前記磁場発生源および前記基板のうちの少なくともいずれか一方を2次元的に水平移動させる移動機構を備える
細胞励起装置。
【請求項6】
請求項1に記載の細胞励起装置であって、
前記複数の磁性体コンセントレータの各々は、前記基板内に埋め込まれて配置されている、あるいは、前記基板を貫通して配置されている
細胞励起装置。
【請求項7】
請求項1に記載の細胞励起装置であって、
前記複数の磁性体コンセントレータの各々は、形状磁気異方性、誘導磁気異方性、応力磁気異方性、および結晶磁気異方性のうちの1つ以上の性質を有する軟磁性材料によって構成される
細胞励起装置。
【請求項8】
請求項7に記載の細胞励起装置であって、
前記複数の磁性体コンセントレータの各々は、形状磁気異方性を有し、円柱状、直方体形状、中心軸に平行な断面の形状が楕円になるカプセル形状、角錐形状、円錐形状、から選択される形状に形成されている
細胞励起装置。
【請求項9】
請求項1に記載の細胞励起装置であって、
前記複数の磁性体コンセントレータの各々は、磁気異方性を有すると共に、前記磁性体コンセントレータの表面を含む外周部において、前記磁気異方性に係る磁化容易方向以外の方向からの磁束の侵入を抑える閉回路磁区構造を有する
細胞励起装置。
【請求項10】
請求項1に記載の細胞励起装置であって、
前記磁性体コンセントレータと、該磁性体コンセントレータに対応して設けられた前記磁場発生源の少なくとも一部とが、一体化して形成されている
細胞励起装置。
(【請求項11】以降は省略されています)
発明の詳細な説明
【技術分野】
【0001】
本開示は、細胞励起装置に関する。
続きを表示(約 7,300 文字)
【背景技術】
【0002】
従来、細胞に対して磁場刺激を与えることにより、細胞の分化の誘導や、細胞の増殖の促進あるいは抑制を行うなど、種々の反応を引き起こすことができることが知られている。また、細胞に対して刺激を与える方法として、電極を使って細胞と外界とを接続する電気刺激の方法は、有害なイオンの発生や環境汚染等のリスクがあるのに対し、磁気的刺激を与える方法は、健康な組織を害することなく、生体に与えるストレスを抑えることができ、比較的安全な方法として、医療関連の分野においても有用である。例えば、特許文献1には、連続するパルス磁場中で細胞培養を行うことにより、細胞の形態的・機能的変化、すなわち細胞分化を誘導させる構成が開示されている。また、特許文献2には、変化する磁場を使用した電磁誘導によって、人間の脳内部における標的領域の神経細胞を磁気で刺激するという、非侵襲的な方法が開示されている。また、非特許文献1には、磁気電気ナノ粒子(MENP)を用いて、ワイヤレスで印加された磁場を双極子電界に変換することにより(磁気電気効果)、ナノ粒子からの電場が膜電位に影響を及ぼし、活動電位を発生させ得ることが開示されている。
【先行技術文献】
【特許文献】
【0003】
特開2014-161323号公報
特開平7-143971号公報
【非特許文献】
【0004】
E. Zhang et al., "Magnetic-field-synchronized wireless modulation of neural activity by magnetoelectric nanoparticles" Brain Stimulation, vol.15, (2022) 1451-1462
【発明の概要】
【発明が解決しようとする課題】
【0005】
しかしながら、上記のような従来知られる細胞の磁気刺激方法には、以下のような2つの問題点があった。第1に、細胞の刺激のために信号源において発生すべき磁気信号が、比較的大きいという問題があった。具体的には、刺激対象である細胞が生育する培養容器の外側に磁場刺激の信号源を配置する特許文献1に記載の構成や、刺激対象である神経細胞が内部に存在する頭蓋の外側に磁場刺激の信号源を配置する特許文献2に記載の構成では、テスラレベル(0.1T~10T)程度の磁気信号を発生する信号源が必要となっていた。このように、極めて大きな磁場が必要になるため、信号源の装置構成において大型化および複雑化が引き起こされていた。すなわち、磁気信号は信号源と細胞の距離の3乗に比例して減衰するため、信号の減衰を考慮すると、細胞の培養容器の外側や頭蓋の外側に配置する信号源としては、より大きな磁場発生装置(コイル)が必要になる。また、このような信号源では大電流を印加する必要があることから、冷却システムを使用する場合には、さらに装置が大型化および複雑化する。
【0006】
第2に、磁場刺激の空間解像度が、センチメートルレベルのように不十分であるという問題があった。例えば、一細胞レベルの局所的領域に絞って磁場刺激を付与するためには、数十μm程度の空間分解能が必要となる。これに対して、特許文献1では、細胞の培養容器の外側から培養容器内に対して広く磁場刺激を加えているため、高い空間分解能を実現することは困難であった。特許文献2では、神経単位や神経細胞体を磁気的に刺激することが記載されているが、一細胞レベルで磁場刺激を付与可能にするような、より高い空間分解能には対応していなかった。また、非特許文献1では、磁気-電気変換素子である個々の磁気電気ナノ粒子(MENP)は、刺激対象である細胞の大きさに対して十分に小さいとも考えられるが、細胞の培養容器の外側から磁場刺激を加えることにより、磁場刺激が加えられた範囲全体のMENPが磁気-電気変換を行うため、個々の細胞に対しては、十分な空間分解能で刺激を与えることができなかった。上記のように、信号源で発生する磁気信号を十分に抑えつつ、磁気を利用した刺激を高い空間分解能で細胞に加える技術については、十分な検討が成されていなかった。
【課題を解決するための手段】
【0007】
本開示は、以下の形態として実現することが可能である。
(1)本開示の一形態によれば、細胞励起装置が提供される。この細胞励起装置は、磁場を発生する磁場発生源と、前記磁場発生源上に配置された基板であって、前記磁場発生源に対向する第1の面とは異なる第2の面として、表面に細胞を配置するための面、あるいは細胞に対向して配置するための面を有する基板と、前記基板内において2次元的に配置された複数の磁性体コンセントレータによって構成される磁性体コンセントレータアレイと、を備え、前記複数の磁性体コンセントレータの各々は、磁気異方性を有しており、
前記磁性体コンセントレータにおける磁化容易軸の延長線上に前記磁場発生源が配置された状態において、前記磁場発生源が発生する磁気信号が前記磁性体コンセントレータを介して前記第2の面に出力される磁気回路を形成する。
この形態の細胞励起装置によれば、磁性体コンセントレータにおける磁化容易軸の延長線上に磁場発生源が配置された状態では、磁場発生源が発生する磁気信号が磁性体コンセントレータを介して基板の第2の面に出力される磁気回路を形成する。そのため、磁場発生源で発生した磁気信号が、効率良く磁性体コンセントレータに入力して収束され、基板の第2の面上において磁性体コンセントレータの容易軸の延長線上に配置される細胞に対して出力される。その結果、磁場発生源で発生すべき磁気信号を抑えることができる。そして、磁性体コンセントレータが2次元的に配置されているため、磁性体コンセントレータの大きさや、隣り合う磁性体コンセントレータ間の距離を、刺激対象である細胞に応じて適宜設定することにより、空間分解能をより高めた刺激を加えることが可能になる。
(2)上記形態の細胞励起装置において、さらに、前記磁場発生源に対して磁場発生のための電流を供給する電流供給部を備え、前記磁場発生源は、コイル、または、コイルおよび磁性体コアによって構成されていることとしてもよい。このような構成とすれば、交流電流供給部から磁場発生源に供給する交流電流を抑えつつ、刺激対象である細胞を効率良く刺激することができる。
(3)上記形態の細胞励起装置において、複数の前記磁場発生源を備え、複数の前記磁場発生源は、2次元的に配置されたアレイ構造を有し、前記磁場発生源の各々は、対応する前記磁性体コンセントレータと共に磁場発生ユニットを構成し、各々の前記磁場発生ユニットにおいて、前記磁場発生源は、対応する前記磁性体コンセントレータにおける磁化容易軸の延長線上に配置されていることとしてもよい。このような構成とすれば、刺激対象である細胞を上記磁化容易軸の延長線上に配置することで、効率良く細胞を刺激することができる。
(4)上記形態の細胞励起装置において、前記複数の磁性体コンセントレータの各々は、前記基板の面方向に垂直な方向が前記磁化容易軸となるように配置されており、前記磁場発生源の各々は、対応する前記磁性体コンセントレータと、前記基板の面方向に垂直な方向に重なる位置に配置されていることとしてもよい。このような構成とすれば、基板上において、刺激対象である細胞を、磁性体コンセントレータに対して基板の面方向に垂直な位置に配置することで、効率良く細胞を刺激することができる。
(5)上記形態の細胞励起装置において、さらに、前記複数の磁性体コンセントレータの各々の磁化容易軸の延長線上に前記磁場発生源が位置するように、前記磁場発生源および前記基板のうちの少なくともいずれか一方を2次元的に水平移動させる移動機構を備えることとしてもよい。このような構成とすれば、刺激対象としたい細胞に対応する磁性体コンセントレータの磁化容易軸の延長線上に位置するように磁場発生源を移動させることにより、効率良く細胞を刺激することができる。
(6)上記形態の細胞励起装置において、前記複数の磁性体コンセントレータの各々は、前記基板内に埋め込まれて配置されている、あるいは、前記基板を貫通して配置されていることとしてもよい。このような構成とすれば、細胞励起装置の構造を簡素化することができる。
(7)上記形態の細胞励起装置において、前記複数の磁性体コンセントレータの各々は、形状磁気異方性、誘導磁気異方性、応力磁気異方性、および結晶磁気異方性のうちの1つ以上の性質を有する軟磁性材料によって構成されることとしてもよい。このような構成とすれば、磁性体コンセントレータにおいて、容易に磁束の収束を行うことができる。
(8)上記形態の細胞励起装置において、前記複数の磁性体コンセントレータの各々は、形状磁気異方性を有し、円柱状、直方体形状、中心軸に平行な断面の形状が楕円になるカプセル形状、角錐形状、円錐形状、から選択される形状に形成されていることとしてもよい。このような構成とすれば、比較的簡素な構造により、磁性体コンセントレータを構成することができる。
(9)上記形態の細胞励起装置において、前記複数の磁性体コンセントレータの各々は、磁気異方性を有すると共に、前記磁性体コンセントレータの表面を含む外周部において、前記磁気異方性に係る磁化容易方向以外の方向からの磁束の侵入を抑える閉回路磁区構造を有することとしてもよい。このような構成とすれば、磁性体コンセントレータにおいて、磁化容易軸以外の方向からの磁束の出入りが抑えられるため、磁化容易軸方向の磁束の収束が集中的に行われ、細胞を刺激する際の空間分解能をさらに高めることができる。
(10)上記形態の細胞励起装置において、前記磁性体コンセントレータと、該磁性体コンセントレータに対応して設けられた前記磁場発生源の少なくとも一部とが、一体化して形成されていることとしてもよい。このような構成とすれば、細胞励起装置全体の構成を簡素化することができる。
(11)上記形態の細胞励起装置において、前記基板における前記第2の面上において、前記複数の磁性体コンセントレータが形成された領域を含む範囲を覆うように、細胞接着性成分を備えるコーティング層が設けられており、前記複数の磁性体コンセントレータの各々における前記基板の面方向に平行な横断面の径の大きさは、5μm以上、1000μm以下であることとしてもよい。このような構成とすれば、基板の第2の面上で培養する細胞を対象として、個々の細胞ごとに磁場刺激を加えることが容易になる。
(12)上記形態の細胞励起装置において、前記磁性体コンセントレータは、前記基板における前記第2の面で露出しており、前記基板における前記第2の面と、前記磁性体コンセントレータにおける前記第2の面で露出する箇所と、の間の高さの差は、10μm以下であることとしてもよい。このような構成とすれば、基板の第2の面上で培養する細胞を刺激対象とする際に、第2の面上において細胞培養を、より良好に行うことが可能になる。
(13)上記形態の細胞励起装置において、さらに、前記基板における前記第2の面上に、前記第2の面から突出して、前記複数の磁性体コンセントレータが配置された領域全体を囲むように設けられて、磁束の通過を妨げるシールド部を備えることとしてもよい。このような構成とすれば、細胞励起装置の周りからの環境ノイズを遮断して、基板の第2の面上に配置される細胞に対して所望の磁場刺激を精度良く加えることができる。
(14)上記形態の細胞励起装置において、さらに、前記基板における前記第2の面上に、前記第2の面から突出して、前記磁性体コンセントレータごとに前記磁性体コンセントレータが配置された領域を囲むように設けられて、磁束の通過を妨げるシールド部を備えることとしてもよい。このような構成とすれば、細胞励起装置の周りからの環境ノイズを遮断する信頼性を高め、細胞を刺激する精度をさらに高めることができる。
(15)上記形態の細胞励起装置において、前記基板の前記第1の面側において、前記複数の磁性体コンセントレータの一部に対応して、前記磁場発生源に代えて磁気センサ素子が配置されており、前記磁気センサ素子と、該磁気センサ素子に対応して設けられた磁性体コンセントレータとは、前記磁性体コンセントレータを介して前記磁気センサ素子へと磁気信号が入力される磁気回路を形成するように配置されていることとしてもよい。このような構成とすれば、磁場発生源および磁性体コンセントレータを用いて、基板の第2の面上の細胞を高い空間分解能で精度良く刺激することができると共に、磁気センサ素子および磁性体コンセントレータを用いて、基板の第2の面上の細胞からの磁気信号を、高い空間分解能で精度良く検出することができる。
(16)上記形態の細胞励起装置において、さらに、前記基板の前記第2の面上において、磁気信号を電気信号に変換する磁気電気素子を備え、前記基板の前記第2の面上では、前記細胞と前記磁気電気素子のうちの少なくとも一方が、前記磁性体コンセントレータの磁化容易軸の延長線上に配置されていることとしてもよい。このような構成とすれば、磁性体コンセントレータで収束された磁場発生源からの磁気信号が、磁気電気素子において電気信号に変換されるため、磁気電気素子に近接して存在する細胞に対して、磁場発生源からの磁気信号を利用して電気刺激を加えることができる。
本開示は、上記以外の種々の形態で実現可能であり、例えば、細胞励起装置の製造方法、細胞の分化誘導方法、細胞増殖の調整方法、細胞の刺激方法などの形態で実現することが可能である。
【図面の簡単な説明】
【0008】
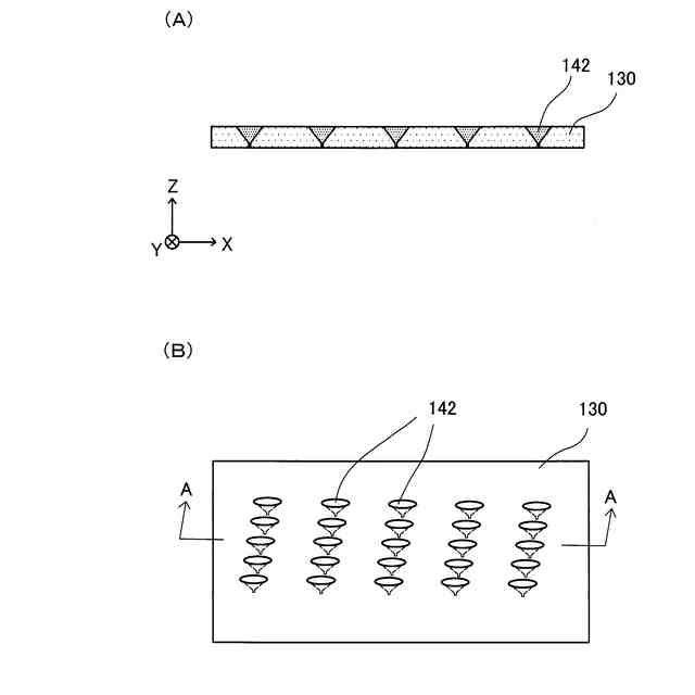
第1実施形態としての細胞励起装置の概略構成を表す説明図。
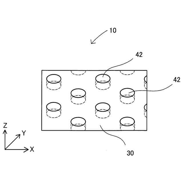
細胞励起装置の外観の一部を表す斜視図。
円柱状の磁性体コンセントレータ42の磁化曲線を示す説明図。
細胞励起装置の製造方法を示すフローチャート。
磁性体コンセントレータを含む基板の一部を拡大した様子を示す断面図。
細胞励起装置の製造方法を示すフローチャート。
磁性体コンセントレータを有する場合の磁気信号の様子を示す説明図。
磁性体コンセントレータを有しない場合の磁気信号の様子を示す説明図。
異なる形状の磁性体コンセントレータを備える基板を示す説明図。
異なる形状の磁性体コンセントレータを備える基板を示す説明図。
異なる形状の磁性体コンセントレータを備える基板を示す説明図。
第3実施形態の磁性体コンセントレータの構成を示す説明図。
磁性体コンセントレータについての磁化曲線を表す説明図。
第4実施形態の細胞励起装置の概略構成を表す説明図。
第5実施形態の細胞励起装置の概略構成を表す説明図。
細胞励起装置の外観の一部を表す斜視図。
磁性体コンセントレータを有する場合の磁気信号の様子を示す説明図。
磁性体コンセントレータを有しない場合の磁気信号の様子を示す説明図。
第6実施形態の細胞励起装置の概略構成を表す説明図。
第7実施形態の細胞励起装置の概略構成を表す説明図。
第8実施形態の細胞励起装置の概略構成を表す説明図。
第9実施形態の細胞励起装置の概略構成を表す説明図。
第10実施形態の細胞励起装置の概略構成を表す説明図。
細胞励起装置の写真を示す説明図。
基板の第2の面の表面粗さを調べた結果を示す説明図。
基板の第2の面の表面粗さを調べた結果を示す説明図。
培養後の細胞を蛍光観察した結果を示す説明図。
【発明を実施するための形態】
【0009】
A.第1実施形態:
(A-1)細胞励起装置の構成:
図1は、本開示の第1実施形態としての細胞励起装置10の概略構成を表す説明図であり、図2は、細胞励起装置10の外観の一部を表す斜視図である。図1、図2、および後述する図9~図11、図14~図16、図19~図23では、方向を特定するために、互いに直交するXYZ軸を示している。各図に示されるX軸、Y軸、Z軸は、それぞれ同じ向きを表す。本願明細書においては、Z軸は鉛直方向を示し、X軸およびY軸は水平方向を示している。また、上記した鉛直方向および水平方向は、説明のために便宜的に特定したものであり、細胞励起装置10を使用する際の配置方向とは一致しなくてもよい。また、図2、および後述する図9~図11、図16、図23に示す斜視図において、外部から視認できない内部構造は、破線で示している。なお、図1および図2は、各部の配置を模式的に表しており、各部の寸法の比率を正確に表すものではない。
【0010】
図1に示すように、細胞励起装置10は、複数の磁場発生源22を備える磁場発生源アレイ20と、磁場発生源アレイ20上に配置された基板30と、基板30内に配置された複数の磁性体コンセントレータ42によって構成される磁性体コンセントレータアレイ40と、を備える。
(【0011】以降は省略されています)
この特許をJ-PlatPat(特許庁公式サイト)で参照する
関連特許
個人
抗遺伝子劣化装置
1か月前
個人
細胞内探査とその利用
1か月前
個人
細胞培養容器
2か月前
杏林製薬株式会社
核酸検出用PCR溶液
3か月前
日本バイリーン株式会社
細胞用支持基材
3か月前
テルモ株式会社
吐出デバイス
23日前
株式会社タクマ
バイオマス処理装置
1か月前
株式会社タクマ
バイオマス処理装置
1か月前
東洋紡株式会社
改変型RNAポリメラーゼ
2か月前
日油株式会社
蛋白質安定化剤
2か月前
株式会社東洋新薬
経口組成物
1か月前
サッポロビール株式会社
飲料
3か月前
テルモ株式会社
容器蓋デバイス
23日前
東ソー株式会社
pH応答性マイクロキャリア
26日前
宝酒造株式会社
アルコール飲料
2日前
大陽日酸株式会社
培養装置
1か月前
大陽日酸株式会社
培養装置
1か月前
トヨタ自動車株式会社
バイオ燃料製造方法
20日前
株式会社ファンケル
SEC12タンパク発現促進剤
2か月前
株式会社豊田中央研究所
細胞励起装置
今日
株式会社東海ヒット
灌流培養ユニット
3か月前
オンキヨー株式会社
浸漬酒の製造方法、及び、浸漬酒
3か月前
個人
ナノ微粒子の製造方法
3か月前
アサヒビール株式会社
柑橘風味アルコール飲料
2か月前
アサヒビール株式会社
柑橘風味アルコール飲料
2か月前
テルモ株式会社
採取組織細切補助デバイス
23日前
株式会社シャローム
スフィンゴミエリン製造方法
29日前
横河電機株式会社
藻類培養装置
12日前
株式会社今宮
瓶詰ビールの加熱殺菌方法および装置
1か月前
花王株式会社
リパーゼ変異体
3か月前
公立大学法人北九州市立大学
微生物の検知方法
1か月前
株式会社ショウワ
キトサンオリゴマー分画方法
2日前
住友金属鉱山株式会社
連続発酵方法及び連続発酵装置
26日前
池田食研株式会社
抗疲労用組成物
3か月前
学校法人藤田学園
アンチセンス核酸およびその利用
4か月前
住友ベークライト株式会社
培養キット
26日前
続きを見る
他の特許を見る