TOP
|
特許
|
意匠
|
商標
特許ウォッチ
Twitter
他の特許を見る
10個以上の画像は省略されています。
公開番号
2025121653
公報種別
公開特許公報(A)
公開日
2025-08-20
出願番号
2024017231
出願日
2024-02-07
発明の名称
地山探査装置
出願人
株式会社奥村組
代理人
個人
主分類
E21D
9/06 20060101AFI20250813BHJP(地中もしくは岩石の削孔;採鉱)
要約
【課題】超音波センサを用いた地山探査装置に地山保持材を供給する供給システムを小規模な構成にすることが可能になる。
【解決手段】泥土圧シールド掘進機1に既に備えられている添加材供給部ASから地山保持供給部RSの加泥調整槽RScに供給された添加材に加水して希釈する加泥材調整槽RScと、希釈後の添加材に高分子剤を加えて攪拌するバッチ式ミキサRSmとを備える。
【選択図】図17
特許請求の範囲
【請求項1】
シールド掘進機のスキンプレートの頂上部に前記スキンプレートの内外を貫通した状態で設けられた貫通孔と、
前記貫通孔の内周面に上端部の外周面を接続させた状態で設けられた筒状体と、
前記筒状体の外周面に前記筒状体の内外を貫通した状態で設けられた注入孔と、
前記注入孔に接続された注入配管と、
前記注入配管を通じて前記筒状体の内部に地山保持材を圧送する注入ポンプと、
前記注入配管の内部の注入圧を検出する圧力検出手段と、
前記筒状体の下端面に取り付けられた板状体と、
前記板状体の下面に取り付けられた超音波センサと、
前記注入ポンプに前記地山保持材を供給する地山保持材供給部と、
前記シールド掘進機の添加材注入部に鉱物系材料を含む添加材を供給する添加材供給部と前記添加材注入部との供給流路途中に設けられ、前記添加材供給部から供給された前記添加材の供給流路を前記添加材注入部と前記地山保持材供給部とのいずれかに切り換える流路切換手段と、
前記添加材供給部から前記流路切換手段に供給された前記添加材を前記流路切換手段によって前記地山保持材供給部に供給し、前記地山保持材供給部に供給された前記添加材を希釈する希釈部と、
前記添加材に高分子剤を加えて攪拌する高分子剤混合部と、
を備えることを特徴とする地山探査装置。
続きを表示(約 120 文字)
【請求項2】
前記希釈材が、水であることを特徴とする請求項1記載の地山探査装置。
【請求項3】
前記添加材供給部の前記添加材が、ベントナイトと水との混合材であることを特徴とする請求項1または2記載の地山探査装置。
発明の詳細な説明
【技術分野】
【0001】
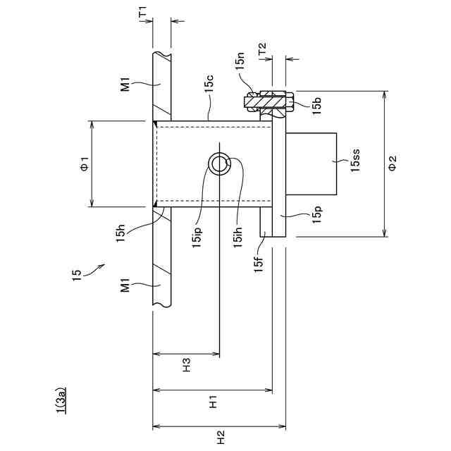
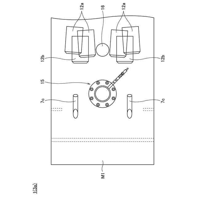
本発明は、地山探査装置に関し、例えば、超音波センサを用いてシールド掘進機の直上の地山の内壁面の状態を探査する地山探査装置に関するものである。
続きを表示(約 1,500 文字)
【背景技術】
【0002】
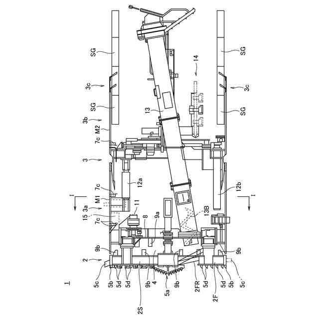
シールド掘進機により地山を掘削する際に、シールド掘進機の直上の掘削坑の内壁面に著しい緩みや空洞があると地盤沈下等の可能性があるので、その対策として当該地山の内壁面の状態を地山探査装置により常時、測定およびモニタリングすることで地盤沈下等を早期の段階で発見し、対処するようにしている。
【0003】
このような地山探査装置については、例えば、特許文献1に記載があり、シールドマシン内に設置された水流発生装置の噴射口から地山に向けて噴射された水により形成された水柱内に、当該噴射口の噴射方向後端に配設された超音波センサから超音波を発することにより、シールドマシンの周囲の余堀り量を測定する技術が開示されている。
【先行技術文献】
【特許文献】
【0004】
特開2021-134549号公報
【発明の概要】
【発明が解決しようとする課題】
【0005】
ところで、超音波センサを用いた地山探査装置に超音波伝搬用の媒質として地山保持材を供給するための供給システムを全く別個に設けると、その供給システムが大規模となり、シールド掘進機の全体的なシステムも著しく大規模になってしまう、という課題がある。
【0006】
本発明は、上述の技術的背景からなされたものであって、超音波センサを用いた地山探査装置に地山保持材を供給する供給システムを小規模な構成にすることができる技術を提供することを目的とする。
【課題を解決するための手段】
【0007】
上記課題を解決するため、請求項1に記載の本発明の地山探査装置は、シールド掘進機のスキンプレートの頂上部に前記スキンプレートの内外を貫通した状態で設けられた貫通孔と、前記貫通孔の内周面に上端部の外周面を接続させた状態で設けられた筒状体と、前記筒状体の外周面に前記筒状体の内外を貫通した状態で設けられた注入孔と、前記注入孔に接続された注入配管と、前記注入配管を通じて前記筒状体の内部に地山保持材を圧送する注入ポンプと、前記注入配管の内部の注入圧を検出する圧力検出手段と、前記筒状体の下端面に取り付けられた板状体と、前記板状体の下面に取り付けられた超音波センサと、前記注入ポンプに前記地山保持材を供給する地山保持材供給部と、前記シールド掘進機の添加材注入部に鉱物系材料を含む添加材を供給する添加材供給部と前記添加材注入部との供給流路途中に設けられ、前記添加材供給部から供給された前記添加材の供給流路を前記添加材注入部と前記地山保持材供給部とのいずれかに切り換える流路切換手段と、前記添加材供給部から前記流路切換手段に供給された前記添加材を前記流路切換手段によって前記地山保持材供給部に供給し、前記地山保持材供給部に供給された前記添加材を希釈する希釈部と、前記添加材に高分子剤を加えて攪拌する高分子剤混合部と、を備えることを特徴とする。
【0008】
請求項2に記載の本発明の地山探査装置は、上記請求項1に記載の発明において、前記希釈材が、水であることを特徴とすることを特徴とする。
【0009】
請求項3に記載の本発明の地山探査装置は、上記請求項1または2に記載の発明において、前記添加材供給部の前記添加材が、ベントナイトと水との混合材であることを特徴とする。
【発明の効果】
【0010】
本発明によれば、超音波センサを用いた地山探査装置に地山保持材を供給する供給システムを小規模な構成にすることが可能になる。
【図面の簡単な説明】
(【0011】以降は省略されています)
この特許をJ-PlatPat(特許庁公式サイト)で参照する
関連特許
株式会社奥村組
破砕装置
1か月前
株式会社奥村組
破砕装置
1か月前
株式会社奥村組
吊り治具
12日前
株式会社奥村組
制振機構
12日前
株式会社奥村組
制振機構
12日前
株式会社奥村組
設置架台
4日前
株式会社奥村組
破砕装置
1か月前
株式会社奥村組
運搬方法
12日前
株式会社奥村組
解体システム
1か月前
株式会社奥村組
施工管理装置
1日前
株式会社奥村組
ケーソン工法
15日前
株式会社奥村組
地山探査方法
1か月前
株式会社奥村組
地山探査装置
1か月前
株式会社奥村組
爆薬装填装置
2日前
株式会社奥村組
施工管理方法
1日前
株式会社奥村組
施工管理装置
1日前
株式会社奥村組
地山探査装置
1か月前
株式会社奥村組
地山探査装置
1か月前
株式会社奥村組
シールド掘進機
15日前
株式会社奥村組
非開削推進工法
1日前
株式会社奥村組
非開削推進工法
1日前
株式会社奥村組
非開削推進工法
1日前
株式会社奥村組
非開削推進工法
1日前
株式会社奥村組
非開削推進工法
1日前
株式会社奥村組
ケーソン刃口金物
15日前
株式会社奥村組
廃棄物分類処理装置
4日前
株式会社奥村組
外壁部施工用足場構造
2日前
株式会社奥村組
セグメントの組立方法
1か月前
株式会社奥村組
圧入式オープンケーソン
8日前
株式会社奥村組
洗浄器具および洗浄方法
8日前
株式会社奥村組
バッテリーロコの充電機構
1か月前
株式会社奥村組
バッテリーロコの充電方法
1か月前
株式会社奥村組
壁下地用胴縁の端部固定構造
8日前
株式会社奥村組
ドラムカッタ用集塵カバー体
4日前
株式会社奥村組
掘削機および非開削推進工法
1日前
株式会社奥村組
鉄筋コンクリート柱の補強工法
1か月前
続きを見る
他の特許を見る