TOP
|
特許
|
意匠
|
商標
特許ウォッチ
Twitter
他の特許を見る
10個以上の画像は省略されています。
公開番号
2025123125
公報種別
公開特許公報(A)
公開日
2025-08-22
出願番号
2024019014
出願日
2024-02-09
発明の名称
引込線支持構造及び腕金用補助具
出願人
中国電力株式会社
代理人
弁理士法人維新国際特許事務所
,
個人
,
個人
主分類
H02G
7/00 20060101AFI20250815BHJP(電力の発電,変換,配電)
要約
【課題】配電用の引込線を電柱に引き留める引込線支持構造を提供する。
【解決手段】一文字状をなす主アーム部2と、この主アーム部2の長手方向の少なくとも一方の端部寄りで、かつ主アーム部2の軸心に対して交差する方向に突設される副アーム部3と、この副アーム部3において先の主アーム部2に連結されない側の端部に突設される第1の引込線係止部4と、電柱40の周側面上に上記主アーム部2を取設する第1の固定構造6を備える引込線支持構造1による。
【選択図】図1
特許請求の範囲
【請求項1】
一文字状をなす主アーム部と、
前記主アーム部の長手方向の少なくとも一方の端部寄りで、かつ前記主アーム部の軸心に対して交差する方向に突設される副アーム部と、
前記副アーム部において前記主アーム部に連結されない側の端部に突設される第1の引込線係止部と、
電柱の周側面上に前記主アーム部を取設する第1の固定構造を備えることを特徴とする引込線支持構造。
続きを表示(約 770 文字)
【請求項2】
前記主アーム部の長手方向の端部に突設される第2の引込線係止部を備えることを特徴とする請求項1に記載の引込線支持構造。
【請求項3】
前記第1の引込線係止部は、前記主アーム部を前記電柱に取設した状態で前記引込線支持構造を平面視した際に、弱電ケーブルの配設位置よりも前記電柱から離れた位置に配されていることを特徴とする請求項1又は請求項2に記載の引込線支持構造。
【請求項4】
前記主アーム部の長手方向両端はそれぞれ前記副アーム部を備え、
前記主アーム部と2つの前記副アーム部からなる連結体の平面形状はコ字状であり、
2つの前記副アーム部間の距離Xは、前記引込線支持構造の設置対象である前記電柱の直径がL1、前記電柱に設置される2つの変圧器の直径がそれぞれL2、L3である場合に、
(L1+L2+L3)≦X
を満たすことを特徴とする請求項1又は請求項2に記載の引込線支持構造。
【請求項5】
一文字状をなす主アーム部と、前記主アーム部の長手方向の端部のそれぞれに突設される第2の引込線係止部と、前記主アーム部を電柱に取設する第1の固定構造を備える引込専用腕金に後付けされる補助具であって、
前記補助具は、
前記主アーム部の長手方向の少なくとも一方の端部寄りで、かつ前記主アーム部の軸心に対して交差する方向に突設される副アーム部と、
前記副アーム部において前記主アーム部に接続されない側の端部に突設される第1の引込線係止部と、
前記副アーム部において前記第1の引込線係止部を備えない側の端部に設けられ、前記主アーム部の周側面上に前記副アーム部を取設する第2の固定構造を備えることを特徴とする腕金用補助具。
発明の詳細な説明
【技術分野】
【0001】
本発明は、配電用の引込線を電柱に引き留める引込線支持構造に関する。
続きを表示(約 3,000 文字)
【背景技術】
【0002】
まず、従来の引込専用腕金を備えた電柱及びその関連設備について図6乃至図9を参照しながら説明する。
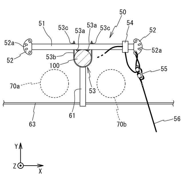
図6Aは従来の引込専用腕金を備える電柱を側面から見た図であり、図6Bは同電柱を正面から見た図である。また、図7は従来の引込専用腕金の斜視図である。
一般に、家屋や建物等に引込線を架設する際は、例えば図6Bに示すように、低圧線80から低圧引下線81(図6A、6Bを参照)を分岐し、この低圧引下線81を電柱100に設置される引込専用腕金50(従来品)まで引き下ろし、さらに、この引込専用腕金50の長手方向端部に突設される引込線係止部52にバインドレス碍子55(後段の図8~9を参照)などを介して、個々の家屋や建物に引込線56(後段の図8~9を参照)を架設している。
以下の説明では、図6A、6Bに示すように、低圧線80の架設方向(水平方向)を「X方向」と定義し、電柱100の延びる方向(鉛直方向)を「Z方向」と定義し、図5中の紙面奥側に向かう方向を「Y方向」と定義する。
【0003】
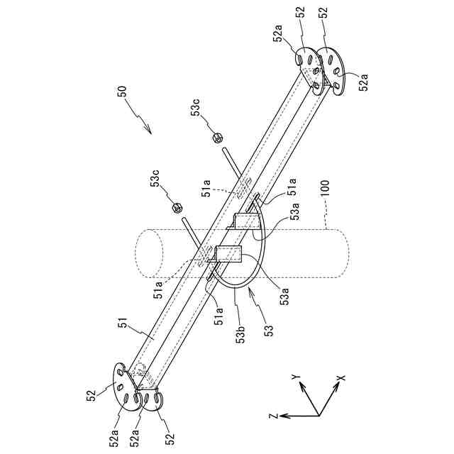
さらに、従来の引込専用腕金50は、例えば図7に示すように、鋼製で例えば一文字状の角筒体からなる主アーム部51と、この主アーム部51の長手方向の端部のそれぞれに突設され、例えば鋼材からなる扇形状の平板体に放射状に複数の引込線係止用孔52aを形成してなる引込線係止部52と、主アーム部51の中央部に設けられ主アーム部51を電柱100の周側面上に、主アーム部51の軸心が略水平に配されるように取設する固定構造53を備えている。
また、従来の引込専用腕金50における固定構造53は、例えば図7に示すように、例えばL字鋼材からなり、主アーム部51において電柱100の周側面と対向する面上に固設される一対のガイド部材53a、53aと、主アーム部51における一対の側面(図7中の紙面手前側の面と紙面奥側の面)を貫通して形成され、主アーム部51を電柱100の周側面上に固定するUボルト53bを挿通させる2対の長孔51aと、このUボルト53bの端部に螺着されるナット53c、53cを備える。
【0004】
また、図6に示すような従来の引込専用腕金50を用いて引込線を支持する場合は以下に示すような課題が生じていた。
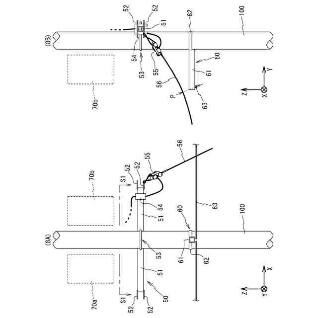
ここで、図8~9を参照しながら従来の引込専用腕金50を用いる際の課題について詳細に説明する。
図8Aは従来の引込専用腕金を備える電柱をY方向から見た図(正面図)であり、図8Bは同電柱をX方向から見た図(側面図)である。さらに、図9は図8A中のS1-S1線断面図である。
家屋や建物等に電力を供給する引込線56を支持する引込専用腕金50を備える電柱100には、電線(例えば図5中の低圧線80等)以外にも通信ケーブル等のいわゆる弱電ケーブル63が架設される場合がある(図8~9を参照)。
また、この弱電ケーブル63の設置やメンテナンス時に、作業者が電柱100に架設される電線(例えば図5中の低圧線80等)に触れて感電事故等が起こらないよう、弱電ケーブル63は通常、引込専用腕金50(従来品)の設置位置よりも1m程度鉛直下方に設置される。
より詳細には、弱電ケーブル63は電柱100に弱電ケーブル支持構造60により保持されている。
また、この弱電ケーブル支持構造60は、例えば図8~9に示すように、引込専用腕金50の軸心方向と交差(より詳細には略直交)する方向で、かつ電柱100の半径方向に突設される支持アーム61と、この支持アーム61を電柱100の周側面上に固定する固定バンド62からなる。
【0005】
そして、図8~9に示すように、弱電ケーブル63が架設される電柱100に取設される引込専用腕金50の引込線係止部52に、バインドレス碍子55を介して引込線56を係留する場合は、図8Bに示すように引込専用腕金50に係留される引込線56と弱電ケーブル63の間に十分な離隔距離P(好ましくは60cm以上)を確保できない場合があった。
本発明と同じ解決すべき課題を有する先願は現時点では発見されていないが、同じ技術分野の先願としては、例えば「引込腕金」(実開平2-146925号公報;特許文献1)や、「引込線用腕金」(特開昭54-30491号公報;特許文献2)が知られている。
【先行技術文献】
【特許文献】
【0006】
実開平2-146925号公報
特開昭54-30491号公報
【発明の概要】
【発明が解決しようとする課題】
【0007】
特許文献1、2に開示される引込線用の腕金はいずれも、先の図7に示す従来の引込専用腕金50と実質的に同じ形態を有するため、特許文献1、2に開示される腕金を用いる場合も、図8~9に示すような電柱100に架設される弱電ケーブル63と引込線56の間に十分な離隔距離Pを確保することができなかった。
【0008】
本発明はかかる従来の事情に対処してなされたものでありその目的は、弱電ケーブルが架設される電柱に引込線を引き留める際に、弱電ケーブルと引込線の間に十分な離隔を確保することができる引込線支持構造を提供することにある。
また、本発明の他の目的は、従来の引込専用腕金に後付けすることで従来の引込専用腕金を本発明に係る引込線支持構造として使用できる腕金用補助具を提供することにある。
【課題を解決するための手段】
【0009】
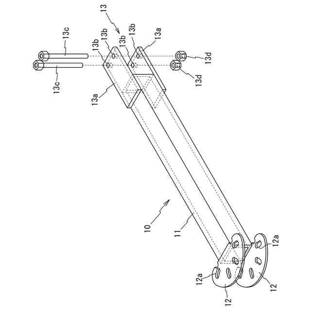
上記課題を解決するための第1の発明である引込線支持構造は、一文字状をなす主アーム部と、この主アーム部の長手方向の少なくとも一方の端部寄りで、かつ主アーム部の軸心に対して交差する方向に突設される副アーム部と、この副アーム部において先の主アーム部に連結されない側の端部に突設される第1の引込線係止部と、電柱の周側面上に上記主アーム部を取設する第1の固定構造を備えることを特徴とする。
上記構成の第1の発明において主アーム部は、副アーム部の支持部材として作用する。
また、副アーム部は、電柱に主アーム部が取設された際に、主アーム部の長手方向における副アーム部の取設位置を基準にして、そこから副アーム部の長さ分だけ離れた位置でかつ、主アーム部と略同じ鉛直方向高さに第1の引込線係止部を配置して保持するという作用を有する。
また、第1の引込線係止部は、家屋又は建物に配されない側の引込線の端部を支持(係留)するという作用を有する。
さらに、第1の固定構造は、主アーム部の軸心を略水平に維持しながら、主アーム部を電柱の周側面上に取設するという作用を有する。
【0010】
第2の発明は、上述の第1の発明であって、主アーム部の長手方向の端部に突設される第2の引込線係止部を備えることを特徴とする。
上記構成の第2の発明では、主アーム部に連結されない側の副アーム部の端部に加えて、主アーム部の長手方向の端部にも引込線の建物又は家屋に配されない側の端部を支持(係留)することができる。
(【0011】以降は省略されています)
この特許をJ-PlatPat(特許庁公式サイト)で参照する
関連特許
中国電力株式会社
養生シート
5日前
中国電力株式会社
電柱管理システム
11日前
中国電力株式会社
落雪損傷判定方法
6日前
中国電力株式会社
空き家判定システム
11日前
中国電力株式会社
落雪損傷範囲推定装置
5日前
中国電力株式会社
安全装備チェックシステム
13日前
中国電力株式会社
需要及び電源想定システム
12日前
中国電力株式会社
医薬品使用履歴登録システム
11日前
中国電力株式会社
容器内の水分量検知システム
11日前
中国電力株式会社
生体情報の異常検知システム
11日前
中国電力株式会社
品質判定装置及び品質判定方法
14日前
中国電力株式会社
配薬カートの医薬品提供システム
11日前
中国電力株式会社
分散型エネルギー資源管理システム
11日前
中国電力株式会社
配薬カートの引き出し方向制御システム
11日前
中国電力株式会社
充電部可視化装置、及び充電部可視化方法
12日前
中国電力株式会社
管理対象者又は管理対象物の位置特定システム
11日前
中国電力株式会社
無人航空機を用いた検針方法、及び無人航空機
12日前
中国電力株式会社
ノイズ推定装置、ノイズ推定装置の制御方法及びプログラム
13日前
中国電力株式会社
停電エリア表示システム及び停電エリア表示方法及び表示画面
22日前
中国電力株式会社
離隔判定装置、離隔判定システム、離隔判定方法及びプログラム
12日前
中国電力株式会社
計測データ分析装置、計測データ分析装置の制御方法及びプログラム
13日前
中国電力株式会社
二酸化炭素排出量の計算システム、二酸化炭素排出量の計算方法、二酸化炭素排出量を計算するプログラム
13日前
中国電力株式会社
二酸化炭素排出量の計算システム、二酸化炭素排出量の計算方法および二酸化炭素排出量を計算するプログラム
13日前
個人
単極モータ
7日前
株式会社アイシン
ロータ
11日前
株式会社アイシン
ロータ
7日前
西部電機株式会社
充電装置
14日前
日本精機株式会社
サージ保護回路
14日前
西部電機株式会社
充電装置
14日前
トヨタ自動車株式会社
固定子
12日前
トヨタ自動車株式会社
回転子
18日前
株式会社デンソー
回転機
5日前
トヨタ自動車株式会社
製造装置
12日前
個人
連続ガウス加速器形磁力増幅装置
14日前
株式会社ダイヘン
充電装置
11日前
株式会社アイシン
ステータ
11日前
続きを見る
他の特許を見る