TOP
|
特許
|
意匠
|
商標
特許ウォッチ
Twitter
他の特許を見る
10個以上の画像は省略されています。
公開番号
2025153366
公報種別
公開特許公報(A)
公開日
2025-10-10
出願番号
2024055814
出願日
2024-03-29
発明の名称
配薬カートの引き出し方向制御システム
出願人
中国電力株式会社
代理人
弁理士法人ライトハウス国際特許事務所
主分類
A61G
12/00 20060101AFI20251002BHJP(医学または獣医学;衛生学)
要約
【課題】
本発明の目的は、収納部を第1方向へ引き出すことで、収納された医薬品を取り出すことが可能となり、該1方向とは逆の第2方向へ引き出すことでも、収納された医薬品を取り出すことが可能となる、配薬カートを提供することである。
【解決手段】
利用者に提供する医薬品が収納される配薬カートである。配薬カートは、収納部を備え、収納部を第1方向へ引き出すことで、収納された医薬品を取り出すことが可能となり、該1方向とは逆の第2方向へ引き出すことでも、収納された医薬品を取り出すことが可能となる。
【選択図】 図1
特許請求の範囲
【請求項1】
利用者に提供する医薬品が収納される配薬カートであって、
収納部を備え、
収納部を第1方向へ引き出すことで、収納された医薬品を取り出すことが可能となり、該1方向とは逆の第2方向へ引き出すことでも、収納された医薬品を取り出すことが可能となる、配薬カート。
続きを表示(約 1,600 文字)
【請求項2】
配薬カートに対する利用者の位置に応じて、収納部を第1方向又は第2方向のいずれかの方向のみへ引き出すことで、収納された医薬品を取り出すことが可能となる、請求項1に記載の配薬カート。
【請求項3】
利用者に提供する医薬品が収納される配薬カートを備えるシステムであって、
配薬カートは、収納部を備えるものであり、
配薬カートは、収納部を第1方向へ引き出すことで、収納された医薬品を取り出すことが可能となり、該1方向とは逆の第2方向へ引き出すことでも、収納された医薬品を取り出すことが可能となるものであり、
配薬カートの位置を特定する第1位置特定手段と、
利用者の位置を特定する第2位置特定手段と
を備え、
特定した配薬カートの位置、及び、特定した利用者の位置に応じて、収納部を第1方向又は第2方向のいずれかの方向のみへ引き出すことで、収納された医薬品を取り出すことが可能となる、システム。
【請求項4】
複数の第1装置を備え、
配薬カートが、第2装置を備えるものであり、
複数の第1装置のそれぞれと第2装置との情報又は信号の伝搬時間を基に、複数の第1装置のそれぞれと第2装置の距離を算出する第1距離算出手段
を備え、
第1位置特定手段が、算出された複数の第1装置のそれぞれと第2装置の距離を基に、第2装置の位置を特定する、請求項3に記載のシステム。
【請求項5】
複数の第1装置を備え、
利用者が、第3装置を装着又は所持しており、
複数の第1装置のそれぞれと第3装置との情報又は信号の伝搬時間を基に、複数の第1装置のそれぞれと第3装置の距離を算出する第2距離算出手段
を備え、
第2位置特定手段が、算出された複数の第1装置のそれぞれと第3装置の距離を基に、第3装置の位置を特定する、請求項3に記載のシステム。
【請求項6】
第1距離算出手段及び/又は第2距離算出手段が、1の第1装置の時計と、第2装置及び/又は第3装置の時計との時刻のずれを基に距離を算出するものである、請求項4又は5に記載のシステム。
【請求項7】
1の第1装置と第2装置及び/又は第3装置との間で通信を行うことにより、1の第1装置と第2装置及び/又は第3装置との間の時刻のずれを算定する時刻ずれ算定手段と、
算定された時刻ずれに基づいて、第2装置及び/又は第3装置における時刻を補正する時刻補正手段と
を備える、請求項4又は5に記載のシステム。
【請求項8】
1の第1装置と第2装置及び/又は第3装置との間で通信を行うことにより、1の第1装置と第2装置及び/又は第3装置との間の時計の位相のずれを算定する位相ずれ算定手段と、
算定された位相ずれに基づいて、第2装置及び/又は第3装置における位相を補正する位相補正手段と
を備える、請求項4又は5に記載のシステム。
【請求項9】
利用者に提供する医薬品が収納される配薬カートを備えるシステムにおいて実行される方法であって、
配薬カートは、収納部を備えるものであり、
配薬カートは、収納部を第1方向へ引き出すことで、収納された医薬品を取り出すことが可能となり、該1方向とは逆の第2方向へ引き出すことでも、収納された医薬品を取り出すことが可能となるものであり、
配薬カートの位置を特定する第1位置特定ステップと、
利用者の位置を特定する第2位置特定ステップと
を備え、
特定した配薬カートの位置、及び、特定した利用者の位置に応じて、収納部を第1方向又は第2方向のいずれかの方向のみへ引き出すことで、収納された医薬品を取り出すことが可能とする、方法。
発明の詳細な説明
【技術分野】
【0001】
本発明は、配薬カート、システム、及び方法に関する。
続きを表示(約 3,800 文字)
【背景技術】
【0002】
医療現場において、入院患者への配薬を効率化するため、配薬カートが利用されている。例えば、特許文献1には、医療施設等において入院患者等に医薬品や輸液等を配薬する際に使用される与薬カートが開示されている。看護士等の医療従事者は、配薬カートを手動で押して患者の傍に行き、該患者に対応する医薬品を探して、患者に医薬品を渡す。このような配薬に係る医療従事者の負担をより軽減することが望まれている。
【先行技術文献】
【特許文献】
【0003】
特開2007-307997号公報
【発明の概要】
【発明が解決しようとする課題】
【0004】
本発明は、例えば、下記のいずれかを目的とする。本発明の第1の目的は、収納部を第1方向へ引き出すことで、収納された医薬品を取り出すことが可能となり、該1方向とは逆の第2方向へ引き出すことでも、収納された医薬品を取り出すことが可能となる、配薬カートを提供することである。本発明の第2の目的は、配薬カートの位置、及び、利用者の位置に応じて、収納部を第1方向又は第2方向のいずれかの方向のみへ引き出すことで、収納された医薬品を取り出すことが可能となるシステムを提供することである。
【課題を解決するための手段】
【0005】
本発明の課題は、
[1]利用者に提供する医薬品が収納される配薬カートであって、収納部を備え、収納部を第1方向へ引き出すことで、収納された医薬品を取り出すことが可能となり、該1方向とは逆の第2方向へ引き出すことでも、収納された医薬品を取り出すことが可能となる、配薬カート;
[2]配薬カートに対する利用者の位置に応じて、収納部を第1方向又は第2方向のいずれかの方向のみへ引き出すことで、収納された医薬品を取り出すことが可能となる、前記[1]に記載の配薬カート;
[3]利用者に提供する医薬品が収納される配薬カートを備えるシステムであって、配薬カートは、収納部を備えるものであり、配薬カートは、収納部を第1方向へ引き出すことで、収納された医薬品を取り出すことが可能となり、該1方向とは逆の第2方向へ引き出すことでも、収納された医薬品を取り出すことが可能となるものであり、配薬カートの位置を特定する第1位置特定手段と、利用者の位置を特定する第2位置特定手段とを備え、特定した配薬カートの位置、及び、特定した利用者の位置に応じて、収納部を第1方向又は第2方向のいずれかの方向のみへ引き出すことで、収納された医薬品を取り出すことが可能となる、システム;
[4]複数の第1装置を備え、配薬カートが、第2装置を備えるものであり、複数の第1装置のそれぞれと第2装置との情報又は信号の伝搬時間を基に、複数の第1装置のそれぞれと第2装置の距離を算出する第1距離算出手段を備え、第1位置特定手段が、算出された複数の第1装置のそれぞれと第2装置の距離を基に、第2装置の位置を特定する、前記[3]に記載のシステム;
[5]複数の第1装置を備え、利用者が、第3装置を装着又は所持しており、複数の第1装置のそれぞれと第3装置との情報又は信号の伝搬時間を基に、複数の第1装置のそれぞれと第3装置の距離を算出する第2距離算出手段を備え、第2位置特定手段が、算出された複数の第1装置のそれぞれと第3装置の距離を基に、第3装置の位置を特定する、前記[3]又は[4]に記載のシステム;
[6]第1距離算出手段及び/又は第2距離算出手段が、1の第1装置の時計と、第2装置及び/又は第3装置の時計との時刻のずれを基に距離を算出するものである、前記[4]又は[5]に記載のシステム;
[7]1の第1装置と第2装置及び/又は第3装置との間で通信を行うことにより、1の第1装置と第2装置及び/又は第3装置との間の時刻のずれを算定する時刻ずれ算定手段と、算定された時刻ずれに基づいて、第2装置及び/又は第3装置における時刻を補正する時刻補正手段とを備える、前記[4]~[6]のいずれかに記載のシステム;
[8]1の第1装置と第2装置及び/又は第3装置との間で通信を行うことにより、1の第1装置と第2装置及び/又は第3装置との間の時計の位相のずれを算定する位相ずれ算定手段と、算定された位相ずれに基づいて、第2装置及び/又は第3装置における位相を補正する位相補正手段とを備える、前記[4]~[7]のいずれかに記載のシステム;
[9]利用者に提供する医薬品が収納される配薬カートを備えるシステムにおいて実行される方法であって、配薬カートは、収納部を備えるものであり、配薬カートは、収納部を第1方向へ引き出すことで、収納された医薬品を取り出すことが可能となり、該1方向とは逆の第2方向へ引き出すことでも、収納された医薬品を取り出すことが可能となるものであり、配薬カートの位置を特定する第1位置特定ステップと、利用者の位置を特定する第2位置特定ステップとを備え、特定した配薬カートの位置、及び、特定した利用者の位置に応じて、収納部を第1方向又は第2方向のいずれかの方向のみへ引き出すことで、収納された医薬品を取り出すことが可能とする、方法;
により達成することができる。
【発明の効果】
【0006】
本発明によれば、収納部を第1方向へ引き出すことで、収納された医薬品を取り出すことが可能となり、該1方向とは逆の第2方向へ引き出すことでも、収納された医薬品を取り出すことが可能となる、配薬カートを提供することができる。本発明によれば、配薬カートの位置、及び、利用者の位置に応じて、収納部を第1方向又は第2方向のいずれかの方向のみへ引き出すことで、収納された医薬品を取り出すことが可能となるシステムを提供することができる。
【図面の簡単な説明】
【0007】
本発明の実施の形態にかかるシステムの構成を示すブロック図である。
本発明の実施の形態にかかる第1装置のハードウェア構成を示すブロック図である。
本発明の実施の形態にかかる配薬カートのハードウェア構成を示すブロック図である。
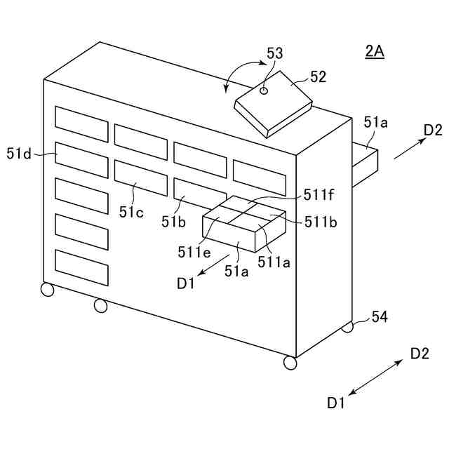
本発明の実施の形態にかかる配薬カートの概略図である。
本発明の実施の形態にかかる配薬カートの断面概略図である。
本発明の実施の形態にかかるサーバ装置のハードウェア構成を示すブロック図である。
本発明の実施の形態にかかる距離算定処理のフローチャートを示す図である。
本発明の実施の形態にかかる位置特定処理のフローチャートを示す図である。
本発明の実施の形態にかかる配薬処理のフローチャートを示す図である。
本発明の実施の形態にかかる配薬情報管理テーブルの一例を示す図である。
【発明を実施するための形態】
【0008】
以下、添付図面を参照して、本発明の実施の形態について説明する。以下、効果に関する記載は、本発明の実施の形態の効果の一側面であり、ここに記載するものに限定されない。以下で説明するフローチャートを構成する各処理の順序は、処理内容に矛盾や不整合が生じない範囲で順不同であり、また、処理内容に矛盾や不整合が生じない範囲で、フローチャートを構成する各処理の一部を省略することや、フローチャートを構成する各処理に新たな処理を追加することも可能である。また、フローチャートを構成する各処理を実行する主体となる装置は、本発明の趣旨に反しない限り、他の装置へ変更することが可能である。その際、処理内容に矛盾や不整合が生じないように、処理内容を変更することが可能である。
【0009】
本発明のシステムは、病院、療養所、介護施設、老人ホーム等、利用者に対して医薬品を提供する施設において利用可能である。利用者とは、医薬品を提供される者であり、医療機関だけでなく介護施設等の医療機関以外の施設又は組織にて医薬品を服用する人、医療従事者だけでなく医療機関以外の施設又は組織の管理者や担当者から医薬品の提供を受ける人も含む。例えば、利用者は、病院の入院患者や、介護施設の入居者や短期の利用者も含まれる。また、医薬品は、錠剤、カプセル剤等の口から摂取する内用剤だけでなく、点眼剤、シップ等の外用剤、注射剤も含む。
【0010】
[システムの構成]
図1は、本発明の実施の形態にかかるシステムの構成を示すブロック図である。図示するように、システム10は、少なくとも1のコンピュータ装置を備える。より具体的には、システム10は、配薬カート2Aを備える。システム10は、複数の第1装置1(第1装置1a~1z)と、第3装置3とを備えてもよい。システム10は、配薬カート2Aに備えられる第2装置2と、サーバ装置4と、管理者端末5とを備えてもよい。システム10は、複数の第2装置2(不図示)、複数の配薬カート2A(不図示)、複数のサーバ装置4(不図示)、又は、複数の管理者端末5(不図示)を備えてもよい。
(【0011】以降は省略されています)
この特許をJ-PlatPat(特許庁公式サイト)で参照する
関連特許
中国電力株式会社
電柱管理システム
4日前
中国電力株式会社
鉄塔地際部雨よけ具
25日前
中国電力株式会社
空き家判定システム
4日前
中国電力株式会社
電力ケーブル接続部カバー
18日前
中国電力株式会社
安全装備チェックシステム
6日前
中国電力株式会社
需要及び電源想定システム
5日前
中国電力株式会社
生体情報の異常検知システム
4日前
中国電力株式会社
医薬品使用履歴登録システム
4日前
中国電力株式会社
容器内の水分量検知システム
4日前
中国電力株式会社
品質判定装置及び品質判定方法
7日前
中国電力株式会社
配薬カートの医薬品提供システム
4日前
中国電力株式会社
分散型エネルギー資源管理システム
4日前
中国電力株式会社
沈砂池排砂方法及び沈砂池排砂システム
19日前
中国電力株式会社
配薬カートの引き出し方向制御システム
4日前
中国電力株式会社
充電部可視化装置、及び充電部可視化方法
5日前
中国電力株式会社
管理対象者又は管理対象物の位置特定システム
4日前
中国電力株式会社
無人航空機を用いた検針方法、及び無人航空機
5日前
中国電力株式会社
表示装置、撮像防止装置、表示方法およびプログラム
15日前
中国電力株式会社
ノイズ推定装置、ノイズ推定装置の制御方法及びプログラム
6日前
中国電力株式会社
停電エリア表示システム及び停電エリア表示方法及び表示画面
15日前
中国電力株式会社
離隔判定装置、離隔判定システム、離隔判定方法及びプログラム
5日前
中国電力株式会社
計測データ分析装置、計測データ分析装置の制御方法及びプログラム
6日前
中国電力株式会社
ケーブル支持具、高圧ケーブルの取付工法および高圧ケーブルの取外し工法
25日前
中国電力株式会社
二酸化炭素排出量の計算システム、二酸化炭素排出量の計算方法、二酸化炭素排出量を計算するプログラム
6日前
中国電力株式会社
二酸化炭素排出量の計算システム、二酸化炭素排出量の計算方法および二酸化炭素排出量を計算するプログラム
6日前
個人
短下肢装具
2か月前
個人
白内障治療法
7か月前
個人
洗井間専家。
6か月前
個人
嚥下鍛錬装置
3か月前
個人
前腕誘導装置
2か月前
個人
排尿補助器具
今日
個人
脈波測定方法
7か月前
個人
汚れ防止シート
15日前
個人
胸骨圧迫補助具
1か月前
個人
アイマスク装置
1か月前
個人
歯の修復用材料
3か月前
続きを見る
他の特許を見る