TOP
|
特許
|
意匠
|
商標
特許ウォッチ
Twitter
他の特許を見る
公開番号
2025151964
公報種別
公開特許公報(A)
公開日
2025-10-09
出願番号
2024053616
出願日
2024-03-28
発明の名称
無人航空機を用いた検針方法、及び無人航空機
出願人
中国電力株式会社
代理人
弁理士法人一色国際特許事務所
主分類
B64U
10/13 20230101AFI20251002BHJP(航空機;飛行;宇宙工学)
要約
【課題】難検針地域に存在する検針設備の検針等をより確実かつ検針員等の安全を確保し、効率よく行えるようにする。
【解決手段】プロセッサ及び記憶装置を有する情報処理装置、地上に存在する一つ以上の検針設備と無線通信する第1通信装置、及び検針値等の通知先と通信可能な無線基地局と無線通信する第2通信装置を備えた無人航空機を、検針設備と通信可能な位置まで飛行させる。第1通信装置は、上記位置において検針設備と無線通信することにより検針値等を取得する。第2通信装置は、無線基地局と無線通信することにより検針値等を通知先に通知する。検針値等を取得した後、無線基地局と無線通信することができない場合、無人航空機は、無線基地局と通信可能な位置まで飛行し、第2通信装置が、上記位置において無線基地局と無線通信することにより検針値等を通知先に通知する。
【選択図】図1
特許請求の範囲
【請求項1】
プロセッサ及び記憶装置を有する情報処理装置、地上に存在する一つ以上の検針設備と無線通信する第1通信装置、及び検針値の通知先と通信可能な無線基地局と無線通信する第2通信装置を備えた無人航空機を、前記検針設備と通信可能な位置まで飛行させ、
前記位置において前記第1通信装置が前記検針設備と無線通信することにより検針値等を取得し、
前記第2通信装置が前記無線基地局と無線通信することにより前記検針値等を前記通知先に通知する、
無人航空機を用いた検針方法。
続きを表示(約 1,200 文字)
【請求項2】
請求項1に記載の無人航空機を用いた検針方法であって、
前記無人航空機が前記検針設備から検針値等を取得した後、前記第2通信装置が前記無線基地局と無線通信することができない場合、前記無人航空機が、前記無線基地局と通信可能な位置まで飛行し、
前記第2通信装置が、前記通信可能な位置において前記無線基地局と無線通信することにより前記検針値等を前記通知先に通知する、
無人航空機を用いた検針方法。
【請求項3】
請求項1又は2に記載の無人航空機を用いた検針方法であって、
前記無人航空機は、
一つ以上の前記検針設備の夫々と通信可能な位置を順に通過した後、前記無線基地局と通信可能な位置に向かうように計画された飛行計画を生成し、
生成した前記飛行計画に沿って飛行する、
無人航空機を用いた検針方法。
【請求項4】
請求項1又は2に記載の無人航空機を用いた検針方法であって、
前記無人航空機に、周囲に情報を報知する報知装置を搭載し、
前記無人航空機の飛行中に前記報知装置が検針設備の検針等に関する業務を行っていることを示す情報を報知する、
無人航空機を用いた検針方法。
【請求項5】
飛行装置と、
飛行制御装置と、
プロセッサ及び記憶装置を有する情報処理装置と、
地上に存在する一つ以上の検針設備と無線通信する第1通信装置と、
検針値等の通知先と通信可能な無線基地局と無線通信する第2通信装置と、
を備え、
前記検針設備と通信可能な位置まで飛行し、
前記位置において前記第1通信装置が前記検針設備と無線通信することにより検針値等を取得し、
前記第2通信装置が前記無線基地局と無線通信することにより前記検針値等を前記通知先に通知する、
無人航空機。
【請求項6】
請求項5に記載の無人航空機であって、
前記検針設備から検針値等を取得した後、前記第2通信装置が前記無線基地局と無線通信することができない場合、前記無人航空機が前記無線基地局と通信可能な位置まで飛行し、
前記第2通信装置が、前記通信可能な位置において前記無線基地局と無線通信することにより前記検針値等を前記通知先に通知する、
無人航空機。
【請求項7】
請求項5又は6に記載の無人航空機であって、
一つ以上の前記検針設備の夫々と通信可能な位置を順に通過した後、前記無線基地局と通信可能な位置に向かうように計画された飛行計画を生成し、
生成した前記飛行計画に沿って飛行する、
無人航空機。
【請求項8】
請求項5又は6に記載の無人航空機であって、
周囲に情報を報知する報知装置を備え、
飛行中に前記報知装置が検針設備の検針等に関する業務を行っていることを示す情報を周囲に報知する、
無人航空機。
発明の詳細な説明
【技術分野】
【0001】
本発明は、無人航空機を用いた検針方法、及び無人航空機に関する。
続きを表示(約 1,500 文字)
【背景技術】
【0002】
特許文献1には、難検針地域での検針データの取得を容易にすることを目的として構成された検針システムについて記載されている。上記の検針システムは、山等の障害物によって電波の伝搬が阻害される山間部等の地域(以下、「難検針地域」と称する。)に設けられる複数の難検針地域用のスマートメータと、難検針地域用の集約装置と、携帯可能な携帯検針装置であるハンディーターミナルとを備える。
【先行技術文献】
【特許文献】
【0003】
特開2021-158432号公報
【発明の概要】
【発明が解決しようとする課題】
【0004】
従来より、難検針地域に存在する需要家の検針設備を対象とした検針は、検針員が現地に赴くことにより行っている。しかし、例えば、災害や豪雪等で長期間道路が閉鎖された場合には検針員が現地に赴くことができず、予定された検針日に検針を行えないことがある。また、例えば、船舶の定期便がない離島の検針設備の検針に際しては船をチャーターする必要があり、コスト(人的、時間的、金銭的コスト)の観点から非効率である上、悪天候等で欠航になった場合はやはり検針を行うことができない。尚、検針日に検針を行えなかった場合、電気事業者等は、推定した検針値を用いて電気料金を算出しており、仮請求した料金(託送料金、電気料金)の精算対応に苦慮している。
【0005】
特許文献1では、難検針地域用の集約装置を設置することにより、難検針地域での検針データの取得の容易化を図っている。しかし、災害や悪天候等で検針員が集約装置と通信可能な場所に近づけない場合は検針を行うことができない。
【0006】
本発明は、このような背景に鑑みてなされたものであり、難検針地域に存在する検針設備の検針等を従来よりも確実かつ検針員等の安全を確保し、効率よく行うことが可能な無人航空機を用いた検針方法、及び無人航空機を提供することを目的とする。
【課題を解決するための手段】
【0007】
上記課題を解決するための手段の一つは、無人航空機を用いた検針方法であって、プロセッサ及び記憶装置を有する情報処理装置、地上に存在する一つ以上の検針設備と無線通信する第1通信装置、及び検針値の通知先と通信可能な無線基地局と無線通信する第2通信装置を備えた前記無人航空機を、前記検針設備と通信可能な位置まで飛行させ、前記位置において前記第1通信装置が前記検針設備と無線通信することにより検針値等を取得し、前記第2通信装置が前記無線基地局と無線通信することにより前記検針値等を前記通知先に通知する。
【0008】
その他、本願が開示する課題、及びその解決方法は、発明を実施するための形態の欄、及び図面により明らかにされる。
【発明の効果】
【0009】
本発明によれば、難検針地域に存在する検針設備の検針等を従来よりも確実かつ検針員等の安全を確保し、効率よく行うことができる。
【図面の簡単な説明】
【0010】
検針システムによる検針方法を説明する図である。
無人航空機の主な構成を示す図である。
無人航空機が備える主な機能を示す図である。
検針設備の主な構成を示す図である。
検針設備が備える主な機能を示す図である。
無線基地局の主な構成を示す図である。
無線基地局が備える主な機能を示す図である。
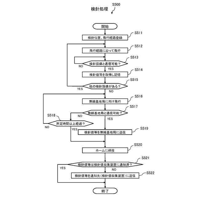
検針処理を説明するフローチャートである。
【発明を実施するための形態】
(【0011】以降は省略されています)
この特許をJ-PlatPat(特許庁公式サイト)で参照する
関連特許
中国電力株式会社
標示旗
25日前
中国電力株式会社
電柱管理システム
4日前
中国電力株式会社
空き家判定システム
4日前
中国電力株式会社
鉄塔地際部雨よけ具
25日前
中国電力株式会社
電力ケーブル接続部カバー
18日前
中国電力株式会社
安全装備チェックシステム
6日前
中国電力株式会社
需要及び電源想定システム
5日前
中国電力株式会社
生体情報の異常検知システム
4日前
中国電力株式会社
医薬品使用履歴登録システム
4日前
中国電力株式会社
容器内の水分量検知システム
4日前
中国電力株式会社
品質判定装置及び品質判定方法
7日前
中国電力株式会社
配薬カートの医薬品提供システム
4日前
中国電力株式会社
分散型エネルギー資源管理システム
4日前
中国電力株式会社
配薬カートの引き出し方向制御システム
4日前
中国電力株式会社
沈砂池排砂方法及び沈砂池排砂システム
19日前
中国電力株式会社
充電部可視化装置、及び充電部可視化方法
5日前
中国電力株式会社
管理対象者又は管理対象物の位置特定システム
4日前
中国電力株式会社
無人航空機を用いた検針方法、及び無人航空機
5日前
中国電力株式会社
表示装置、撮像防止装置、表示方法およびプログラム
15日前
中国電力株式会社
ノイズ推定装置、ノイズ推定装置の制御方法及びプログラム
6日前
中国電力株式会社
停電エリア表示システム及び停電エリア表示方法及び表示画面
15日前
中国電力株式会社
離隔判定装置、離隔判定システム、離隔判定方法及びプログラム
5日前
中国電力株式会社
計測データ分析装置、計測データ分析装置の制御方法及びプログラム
6日前
中国電力株式会社
ケーブル支持具、高圧ケーブルの取付工法および高圧ケーブルの取外し工法
25日前
中国電力株式会社
圧縮位置表示シール及び圧縮位置表示シールセット及び圧縮位置表示シール付き圧縮スリーブ
25日前
中国電力株式会社
二酸化炭素排出量の計算システム、二酸化炭素排出量の計算方法、二酸化炭素排出量を計算するプログラム
6日前
中国電力株式会社
二酸化炭素排出量の計算システム、二酸化炭素排出量の計算方法および二酸化炭素排出量を計算するプログラム
6日前
個人
人工台風
2か月前
個人
ドローン
7か月前
個人
着火ドローン
4か月前
個人
救難消防飛行艇
4か月前
個人
ドローンシステム
8か月前
東レ株式会社
中空回転翼
3か月前
個人
無人空中移動体
4日前
個人
動力原付きグライダー
20日前
個人
連続回転可能な飛行機翼
5か月前
続きを見る
他の特許を見る