TOP
|
特許
|
意匠
|
商標
特許ウォッチ
Twitter
他の特許を見る
公開番号
2025149555
公報種別
公開特許公報(A)
公開日
2025-10-08
出願番号
2024050280
出願日
2024-03-26
発明の名称
安全装備チェックシステム
出願人
中国電力株式会社
代理人
弁理士法人維新国際特許事務所
,
個人
,
個人
,
個人
主分類
G06Q
50/08 20120101AFI20251001BHJP(計算;計数)
要約
【課題】作業者が着用する安全装備品の種類が、作業者のスケジュールに応じて変化する場合でも、このスケジュールを事前に把握することなく、安全装備品の着用の不備を確認できる安全装備チェックシステムを提供する。
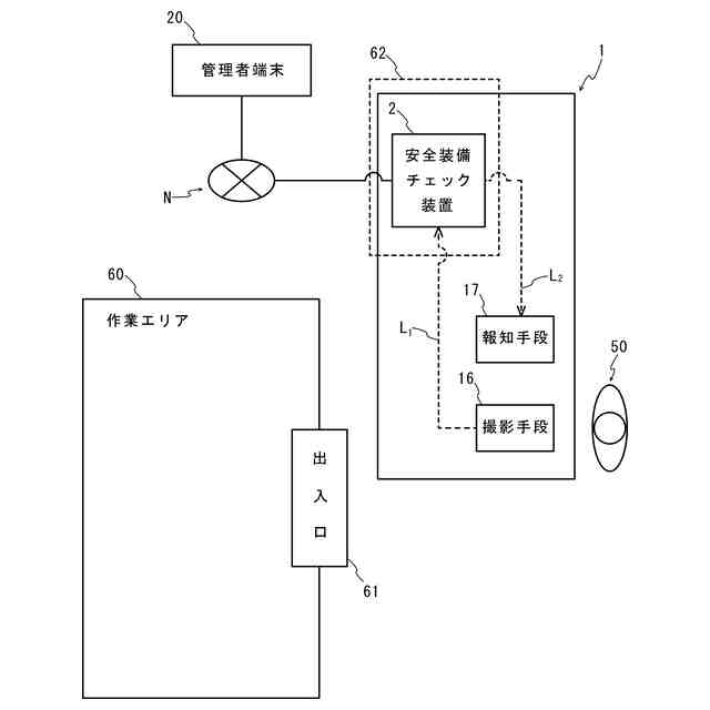
【解決手段】安全装備チェックシステム1は、安全装備品を着用した作業者を撮影した画像と、この画像に対応する安全装備品の着用に関する不備の有無を少なくとも含む判定データと、の組み合わせからなる教師データを用いて、学習モデルを生成する学習モデル生成部6と、安全装備品を着用した作業前作業者を撮影して、作業前画像を出力する撮影手段16と、学習モデルに基づいて、作業前画像についての作業前判定データを出力する判定部8と、作業前判定データにおいて安全装備品の作業前不備がある場合に、少なくとも作業前作業者へ、警報を報知する報知手段17を備える。
【選択図】図3
特許請求の範囲
【請求項1】
安全装備品を着用した作業者を撮影した画像と、
この画像に対応する前記安全装備品の着用に関する不備の有無、及びこの不備がある場合の前記安全装備品の不備種類を少なくとも含む判定データと、の組み合わせからなる教師データを用いて、学習モデルを生成する学習モデル生成部と、
前記安全装備品を着用した作業前作業者を撮影して、作業前画像を出力する撮影手段と、
前記学習モデルに基づいて、前記作業前画像についての作業前判定データを出力する判定部と、
前記作業前判定データにおいて、前記安全装備品の作業前不備がある場合に、少なくとも前記作業前作業者へ、警報を報知する報知手段を備えることを特徴とする安全装備チェックシステム。
続きを表示(約 560 文字)
【請求項2】
前記判定データは、前記不備の有無と、前記不備種類に加えて、前記作業者が実施する作業の作業種類を含み、
前記作業種類は、前記不備種類と、前記不備がない場合の前記安全装備品の標準種類にそれぞれ対応しており、
前記作業前判定データは、前記作業種類毎の、前記作業前不備の有無と、前記安全装備品の作業前不備種類であることを特徴とする請求項1に記載の安全装備チェックシステム。
【請求項3】
出力部と、
前記作業前判定データを、前記作業前作業者を識別する識別情報と関連付けて、作業前作業者別判定データを作成する演算部を備え、
前記演算部は、前記作業前作業者別判定データにおける前記作業前不備がある場合の回数を積算して積算回数を演算し、この積算回数を前記識別情報と関連付けて作業前作業者別積算データを作成し、
前記出力部は、前記作業前作業者別積算データを、少なくとも管理者端末に送信することを特徴とする請求項1又は請求項2に記載の安全装備チェックシステム。
【請求項4】
前記報知手段は、光を発する発光手段、音を発する発音手段のうちの、少なくともいずれかを含むことを特徴とする請求項1又は請求項2に記載の安全装備チェックシステム。
発明の詳細な説明
【技術分野】
【0001】
本発明は、工事現場において、作業者が作業エリアに立ち入る際に、安全装備品の着用の不備を確認する安全装備チェックシステムに係り、特に、作業内容によって必要とされる安全装備品の種類が異なる場合においても、その不備の有無を確認できる安全装備チェックシステムに関する。
続きを表示(約 2,600 文字)
【背景技術】
【0002】
従来、工事の施工にあたっては、作業者に対し、例えば、墜落制止用器具や、保護帽といった安全装備品の着用が義務付けられている。そのため、作業開始前の朝礼時に危険予知活動を実施し、安全装備品の着用状況を確認している。ただし、作業者によっては、作業間の休憩後に安全装備品の着用を忘れ、未着用のまま作業を行ってしまうことがある。
このように、個人の注意力には限界があることや、個人の主観によって着用する安全装備品の種類が異なる(例えば、規格外のものを着用する)ことがあるため、安全装備品の着用の不備は、各作業者の意識問題によるところが大きいと考えられる。
すなわち、作業者が作業エリアに立ち入る際、安全装備品の着用に不備があるか否かについて、客観的に判定されないことがあったため、安全装備品の未着用等が見逃されて、作業中の事故を十分に防止できないおそれがあった。
このような課題を解決するため、近年、必要な安全装備品を認識する技術が開発されており、それに関して既に発明が開示されている。
【0003】
特許文献1には「装備認識システム」という名称で、人物が装備を装着しているか否かを認識する装備認識システムに関する発明が開示されている。
特許文献1に開示された発明は、全方位を撮像可能な撮像装置と、この撮像装置で撮像された画像データを用いた処理をおこなう端末装置と、報知情報を出力する報知情報出力装置と、からなる装備認識システムであって、撮像装置は、画像データを生成する画像データ生成部と、画像データを端末装置に送信する送信部と、を備え、端末装置は、画像解析により画像データ上の人物を抽出し、この人物が装着すべき装備を装着しているか否かを判定する判定部と、人物が装着すべき装備を装着していない場合、報知情報を出力するための制御信号を報知情報出力装置に送信する送信部と、を備え、報知情報出力装置は、制御信号に基づいて報知情報を出力する出力部を備えることを特徴とする。
このような特徴を有する発明においては、業務領域などの対象領域内を撮影した画像データを用いて、対象領域内の人物が必要な装備を装着しているか否かを判定し、装備を装着していない人物がいる場合には報知情報を出力する。
また、この発明は、装着すべき装備の種類が個々の従業者ごとに異なる場合では、識別された従業者に対応する装備の種類が記録された判定用データベースを参照し、従業者が装着すべき装備の種類を特定する。その後、装備の種類毎の特徴量データを記憶する装備データベースを用いて、従業者が装着すべき装備の種類に対応する特徴量がみられるか否かを判定する。これにより、従業者ごとに、必要な装備の種類を装着しているか否かが判定される。
【先行技術文献】
【特許文献】
【0004】
特開2014-154129号公報
【発明の概要】
【発明が解決しようとする課題】
【0005】
しかし、特許文献1に開示された発明においては、装着すべき装備の種類が個々の従業者毎に異なる場合に、従業者に対応する装備の種類が記録された判定用データベースを参照する必要がある。また、従業者に対応する装備の種類は、作業の内容や作業日時に伴って、変化するものである。そのため、判定用データベースを、作業者のスケジュールに合わせて常時更新する必要があり、その手間が煩雑であると考えられる。
【0006】
本発明は、このような従来の事情に対処してなされたものであり、作業者が着用する安全装備品の種類が、作業者のスケジュールに応じて変化する場合でも、このスケジュールを事前に把握することなく、安全装備品の着用の不備を確認できる安全装備チェックシステムを提供することを目的とする。
【課題を解決するための手段】
【0007】
上記目的を達成するため、第1の発明は、安全装備品を着用した作業者を撮影した画像と、この画像に対応する安全装備品の着用に関する不備の有無、及びこの不備がある場合の安全装備品の不備種類を少なくとも含む判定データと、の組み合わせからなる教師データを用いて、学習モデルを生成する学習モデル生成部と、安全装備品を着用した作業前作業者を撮影して、作業前画像を出力する撮影手段と、学習モデルに基づいて、作業前画像についての作業前判定データを出力する判定部と、作業前判定データにおいて、安全装備品の作業前不備がある場合に、少なくとも作業前作業者へ、警報を報知する報知手段を備えることを特徴とする。
【0008】
このような構成の発明において、撮影手段と、報知手段は、例えば、作業が実施される作業エリアの出入口の外側に設置される。また、学習モデル生成部と、判定部は、具体的には、コンピューターが内蔵する制御部に設けられる。
また、報知手段は、警報を作業前作業者に報知する以外に、工事の現場管理者や、工事現場外の管理者に報知してもよい。
さらに、安全装備品の着用に関する不備の有無とは、作業者が必要な安全装備品のいずれかを着用していない、又は着用していることをいう。そして、安全装備品の不備種類とは、作業者が着用していない安全装備品の、具体的な物品の名称をいう。
【0009】
上記構成の発明においては、作業前判定データは、少なくとも、安全装備品の作業前不備の有無、及びこの作業前不備がある場合の、安全装備品の作業前不備種類を含む。よって、作業前不備がある場合に警報が報知されることで、作業前作業者が、その旨と、どの種類の物品が不備であるかを認識し得る。
これに対し、作業前判定データにおいて、作業前不備がない場合は、警報は報知されない。ただし、安全装備品は完備されている旨の、警報に該当しない報知はされてもよい。
【0010】
第2の発明は、第1の発明において、判定データは、不備の有無と、不備種類に加えて、作業者が実施する作業の作業種類を含み、作業種類は、不備種類と、不備がない場合の安全装備品の標準種類にそれぞれ対応しており、作業前判定データは、作業種類毎の、作業前不備の有無と、安全装備品の作業前不備種類であることを特徴とする。
(【0011】以降は省略されています)
この特許をJ-PlatPat(特許庁公式サイト)で参照する
関連特許
中国電力株式会社
標示旗
24日前
中国電力株式会社
異常箇所検出装置
25日前
中国電力株式会社
電柱管理システム
3日前
中国電力株式会社
蜂の巣判定警告装置
26日前
中国電力株式会社
鉄塔地際部雨よけ具
24日前
中国電力株式会社
空き家判定システム
3日前
中国電力株式会社
需要及び電源想定システム
4日前
中国電力株式会社
電力ケーブル接続部カバー
17日前
中国電力株式会社
安全装備チェックシステム
5日前
中国電力株式会社
生体情報の異常検知システム
3日前
中国電力株式会社
容器内の水分量検知システム
3日前
中国電力株式会社
医薬品使用履歴登録システム
3日前
中国電力株式会社
品質判定装置及び品質判定方法
6日前
中国電力株式会社
配薬カートの医薬品提供システム
3日前
中国電力株式会社
分散型エネルギー資源管理システム
3日前
中国電力株式会社
配薬カートの引き出し方向制御システム
3日前
中国電力株式会社
沈砂池排砂方法及び沈砂池排砂システム
18日前
中国電力株式会社
充電部可視化装置、及び充電部可視化方法
4日前
中国電力株式会社
車両位置特定システム及び車両位置特定方法
1か月前
中国電力株式会社
無人航空機を用いた検針方法、及び無人航空機
4日前
中国電力株式会社
管理対象者又は管理対象物の位置特定システム
3日前
中国電力株式会社
文書作成支援システムおよび文書作成支援プログラム
24日前
中国電力株式会社
表示装置、撮像防止装置、表示方法およびプログラム
14日前
東芝エネルギーシステムズ株式会社
系統安定化システム
1か月前
東芝エネルギーシステムズ株式会社
系統安定化システム
1か月前
中国電力株式会社
ノイズ推定装置、ノイズ推定装置の制御方法及びプログラム
5日前
中国電力株式会社
停電エリア表示システム及び停電エリア表示方法及び表示画面
14日前
東芝エネルギーシステムズ株式会社
電力系統安定化システム
1か月前
東芝エネルギーシステムズ株式会社
電力系統安定化システム
1か月前
中国電力株式会社
離隔判定装置、離隔判定システム、離隔判定方法及びプログラム
4日前
中国電力株式会社
計測データ分析装置、計測データ分析装置の制御方法及びプログラム
5日前
中国電力株式会社
ケーブル支持具、高圧ケーブルの取付工法および高圧ケーブルの取外し工法
24日前
中国電力株式会社
圧縮位置表示シール及び圧縮位置表示シールセット及び圧縮位置表示シール付き圧縮スリーブ
24日前
中国電力株式会社
二酸化炭素排出量の計算システム、二酸化炭素排出量の計算方法、二酸化炭素排出量を計算するプログラム
5日前
中国電力株式会社
二酸化炭素排出量の計算システム、二酸化炭素排出量の計算方法および二酸化炭素排出量を計算するプログラム
5日前
個人
工程設計支援装置
1か月前
続きを見る
他の特許を見る