TOP
|
特許
|
意匠
|
商標
特許ウォッチ
Twitter
他の特許を見る
10個以上の画像は省略されています。
公開番号
2025125306
公報種別
公開特許公報(A)
公開日
2025-08-27
出願番号
2024021276
出願日
2024-02-15
発明の名称
タイヤ
出願人
横浜ゴム株式会社
代理人
弁理士法人酒井国際特許事務所
主分類
B60C
13/00 20060101AFI20250820BHJP(車両一般)
要約
【課題】パターン部の視認性を向上することのできるタイヤを提供すること。
【解決手段】タイヤ表面3A,5Aにリッジ7を複数配置したパターン部4を備え、パターン部4は、リッジ7により形成される要素パターン8を複数有し、複数の要素パターン8は、連続するリッジ7により形成されると共に隣り合う要素パターン8同士はリッジ7により連結され、要素パターン8は、要素パターン8を形成するリッジ7が、リッジ7の延在方向における一方向において要素パターン8の外側から要素パターン8の内側に向かう第1部分7Aと、要素パターン8の内側から要素パターン8の外側に向かう第2部分7Bとを有する。
【選択図】図14
特許請求の範囲
【請求項1】
タイヤ表面にリッジを複数配置したパターン部を備え、
前記パターン部は、前記リッジにより形成される要素パターンを複数有し、
複数の前記要素パターンは、連続する前記リッジにより形成されると共に隣り合う前記要素パターン同士は前記リッジにより連結され、
前記要素パターンは、前記要素パターンを形成する前記リッジが、前記リッジの延在方向における一方向において前記要素パターンの外側から前記要素パターンの内側に向かう第1部分と、前記要素パターンの内側から前記要素パターンの外側に向かう第2部分とを有することを特徴とするタイヤ。
続きを表示(約 700 文字)
【請求項2】
前記第1部分と前記第2部分とは、それぞれ渦巻き状に形成される請求項1に記載のタイヤ。
【請求項3】
前記要素パターンは、前記第1部分と前記第2部分とが連続することにより略円形の渦巻き状の形状で形成される請求項2に記載のタイヤ。
【請求項4】
前記要素パターンは、前記第1部分と前記第2部分とが連続することにより略多角形の渦巻き状の形状で形成される請求項2に記載のタイヤ。
【請求項5】
前記第1部分と前記第2部分とは、中心点が共通でピッチが等間隔となる相似形状の複数の環状形状部と、外周形状が前記環状形状部と相似形状で複数の前記環状形状部の内側に位置するベース形状部とからなる基本形状体を、前記中心点を通る分割線で二分割した2つの分割体を1ピッチ分互いにずらした形状で形成される請求項1に記載のタイヤ。
【請求項6】
前記パターン部は、
前記リッジの幅が0.03[mm]以上0.3[mm]以下であり、隣り合う前記リッジのピッチが0.5[mm]以下である請求項1に記載のタイヤ。
【請求項7】
前記パターン部は、
前記タイヤ表面から凹む標章部の凹部の内底に設けられる請求項1に記載のタイヤ。
【請求項8】
前記パターン部は、
前記タイヤ表面から突出する標章部の凸部の周りに設けられる請求項1に記載のタイヤ。
【請求項9】
前記パターン部は、
前記タイヤ表面から突出する標章部の凸部の周りを縁取って設けられる請求項1に記載のタイヤ。
発明の詳細な説明
【技術分野】
【0001】
この発明は、タイヤに関し、さらに詳しくは、パターン部の視認性を向上できるタイヤに関する。
続きを表示(約 2,200 文字)
【背景技術】
【0002】
従来のタイヤの中には、タイヤサイド部の表面に複数の突起で構成されたパターン部を形成し、パターン部の視認性を向上させているものがある。例えば、特許文献1に記載されたタイヤは、タイヤ表面に、稜線が平面視で曲部を有する突条が中心点を有する入れ子状に配置されたパターン部を備え、突条は高さが0.2mm以上0.5mm以下で、互いに隣接する突条同士が0.15mm以上0.35mm以下の一定ピッチで配置されている。
【先行技術文献】
【特許文献】
【0003】
特開2017-132296号公報
【発明の概要】
【発明が解決しようとする課題】
【0004】
しかしながら、曲部を有する突条を、中心点を有する入れ子状に配置した場合、パターン部は入れ子状の突条による模様が単調化しがちになり、パターン部のコントラストが軽減されてしまうことから、より視認性を向上することが望まれている。
【0005】
本発明は、上記に鑑みてなされたものであって、パターン部の視認性を向上することのできるタイヤを提供することを目的とする。
【課題を解決するための手段】
【0006】
上述した課題を解決し、目的を達成するために、本発明の一態様に係るタイヤは、タイヤ表面にリッジを複数配置したパターン部を備え、前記パターン部は、前記リッジにより形成される要素パターンを複数有し、複数の前記要素パターンは、連続する前記リッジにより形成されると共に隣り合う前記要素パターン同士は前記リッジにより連結され、前記要素パターンは、前記要素パターンを形成する前記リッジが、前記リッジの延在方向における一方向において前記要素パターンの外側から前記要素パターンの内側に向かう第1部分と、前記要素パターンの内側から前記要素パターンの外側に向かう第2部分とを有する。
【発明の効果】
【0007】
本発明に係るタイヤは、パターン部の視認性を向上することができる、という効果を奏する。
【図面の簡単な説明】
【0008】
図1は、実施形態に係る空気入りタイヤのタイヤ子午線方向の断面図である。
図2は、図1に記載したタイヤのタイヤサイド部を示す平面図である。
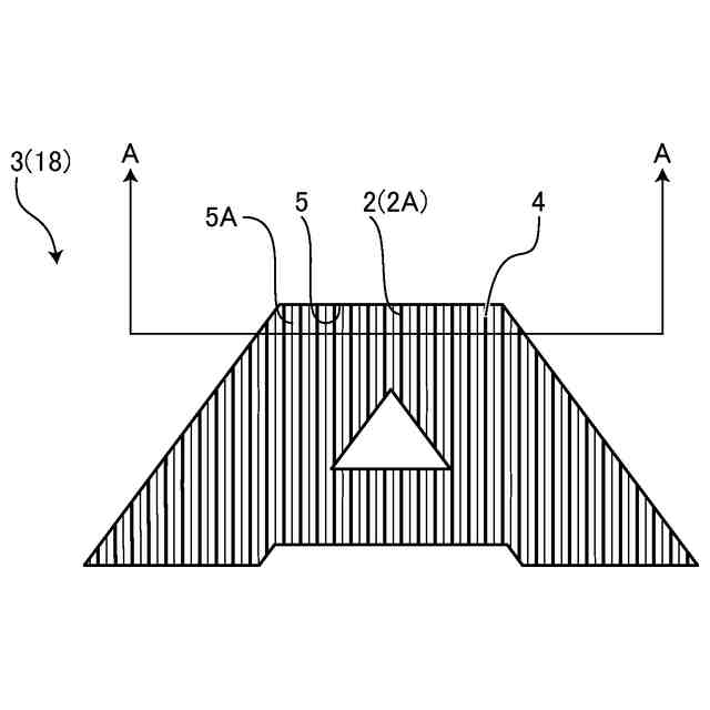
図3は、図2に記載したタイヤサイド部の標章部の一部の拡大図である。
図4は、図3に記載した標章部の一部の断面図である。
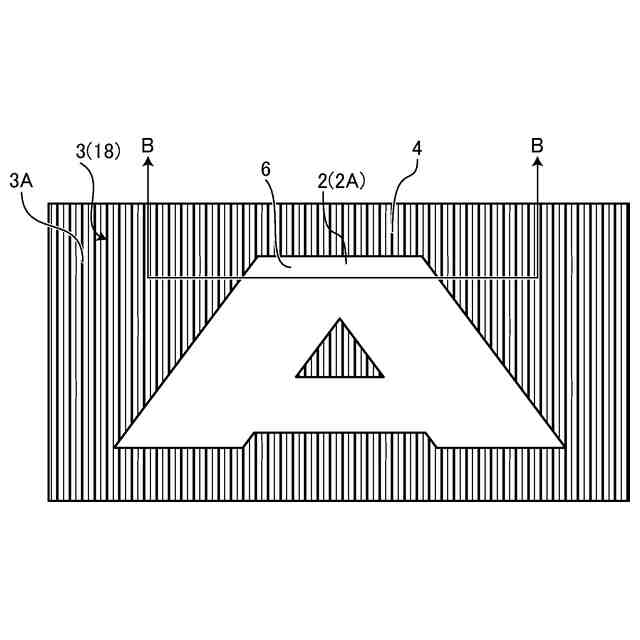
図5は、図2に記載したタイヤサイド部の標章部の一部の拡大図である。
図6は、図5に記載した標章部の一部の断面図である。
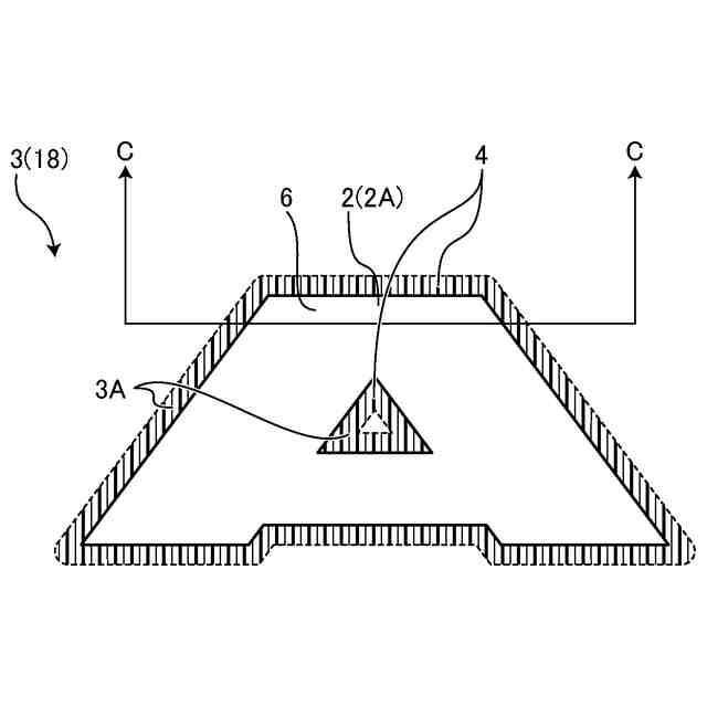
図7は、図2に記載したタイヤサイド部の標章部の一部の拡大図である。
図8は、図7に記載した標章部の一部の断面図である。
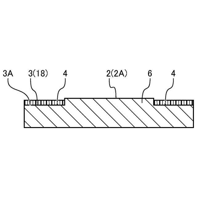
図9は、パターン部の拡大図である。
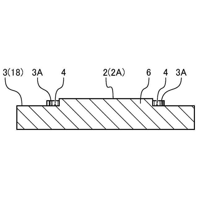
図10は、パターン部の部分拡大断面図である。
図11は、図9に示す要素パターンの詳細図である。
図12は、要素パターンの元となる基本形状体の説明図である。
図13は、基本形状体の2つの分割体をずらした状態を示す説明図である。
図14は、連続するリッジで複数の要素パターンを形成する状態を示す説明図である。
図15は、実施形態に係る空気入りタイヤの変形例であり、要素パターンのリッジが4重の渦巻きで形成される形態を示す説明図である。
図16は、実施形態に係る空気入りタイヤの変形例であり、要素パターンのリッジが2重の渦巻きで形成される形態を示す説明図である。
図17は、実施形態に係る空気入りタイヤの変形例であり、要素パターンが略矩形の渦巻き状の形状で形成される形態を示す説明図である。
図18は、実施形態に係る空気入りタイヤの変形例であり、要素パターンが略矩形の渦巻き状の形状で形成される形態を示す説明図である。
図19は、実施形態に係る空気入りタイヤの変形例であり、要素パターンが略菱形の渦巻き状の形状で形成される形態を示す説明図である。
図20は、実施形態に係る空気入りタイヤの変形例であり、要素パターンが略六角形の渦巻き状の形状で形成される形態を示す説明図である。
図21は、実施形態に係る空気入りタイヤの変形例であり、要素パターンが略三角形の渦巻き状の形状で形成される形態を示す説明図である。
図22は、空気入りタイヤの性能評価試験の結果を示す図表である。
【発明を実施するための形態】
【0009】
以下に、本発明に係る実施形態を図面に基づいて詳細に説明する。なお、この実施形態によりこの発明が限定されるものではない。また、この実施形態の構成要素には、発明の同一性を維持しつつ置換可能かつ置換自明なものが含まれる。また、この実施形態に記載された複数の変形例は、当業者自明の範囲内にて任意に組み合わせが可能である。
【0010】
[実施形態]
図1は、実施形態に係る空気入りタイヤのタイヤ子午線方向の断面図である。図1では、リム20に装着された空気入りタイヤ1のタイヤ径方向の片側領域の断面図を示している。実施形態では、タイヤの一例として、空気入りタイヤであって、乗用車用空気入りラジアルタイヤについて説明する。
(【0011】以降は省略されています)
この特許をJ-PlatPat(特許庁公式サイト)で参照する
関連特許
横浜ゴム株式会社
タイヤ
19日前
横浜ゴム株式会社
タイヤ
9日前
横浜ゴム株式会社
タイヤ
19日前
横浜ゴム株式会社
タイヤ
19日前
横浜ゴム株式会社
タイヤ
3日前
横浜ゴム株式会社
タイヤ
15日前
横浜ゴム株式会社
タイヤ
9日前
横浜ゴム株式会社
タイヤ
15日前
横浜ゴム株式会社
タイヤ
8日前
横浜ゴム株式会社
タイヤ
8日前
横浜ゴム株式会社
重荷重タイヤ
15日前
横浜ゴム株式会社
空気入りタイヤ
19日前
横浜ゴム株式会社
空気入りタイヤ
16日前
横浜ゴム株式会社
タイヤの製造方法
8日前
横浜ゴム株式会社
熱可塑性樹脂組成物
8日前
横浜ゴム株式会社
積層体、およびその製造方法
9日前
横浜ゴム株式会社
更生タイヤ及びその製造方法
19日前
横浜ゴム株式会社
センサユニットを備えるタイヤ
15日前
横浜ゴム株式会社
センサユニットを備えるタイヤ
15日前
横浜ゴム株式会社
架橋ゴム分子鎖の配向評価方法
10日前
横浜ゴム株式会社
センサユニットを備えるタイヤ
15日前
横浜ゴム株式会社
ホース用ゴム組成物及びホース
3日前
横浜ゴム株式会社
タイヤ用ゴム組成物およびタイヤ
15日前
横浜ゴム株式会社
ゴム組成物、及び、コンベヤベルト
8日前
横浜ゴム株式会社
未加硫ゴムシートの供給装置および方法
4日前
横浜ゴム株式会社
熱可塑性樹脂組成物のフィルムの成形方法
19日前
横浜ゴム株式会社
タイヤの成形装置およびタイヤの製造方法
10日前
横浜ゴム株式会社
未加硫ゴムシートの状態検知装置および方法
4日前
横浜ゴム株式会社
高分子材料の内部構造解析方法およびシステム
15日前
横浜ゴム株式会社
センサユニット及びセンサユニットを備えるタイヤ
15日前
横浜ゴム株式会社
サイドトレッド用ゴム組成物、およびその製造方法
11日前
横浜ゴム株式会社
製品設計支援システム、製品設計支援方法及びプログラム
19日前
横浜ゴム株式会社
学習装置、推定装置、学習済モデルの生成方法、推定方法、学習プログラム及び推定プログラム
15日前
個人
カーテント
4か月前
個人
タイヤレバー
2か月前
個人
前輪キャスター
1か月前
続きを見る
他の特許を見る