TOP
|
特許
|
意匠
|
商標
特許ウォッチ
Twitter
他の特許を見る
公開番号
2025145967
公報種別
公開特許公報(A)
公開日
2025-10-03
出願番号
2024046505
出願日
2024-03-22
発明の名称
高分子材料の内部構造解析方法およびシステム
出願人
横浜ゴム株式会社
代理人
清流国際弁理士法人
,
個人
,
個人
主分類
G01N
23/04 20180101AFI20250926BHJP(測定;試験)
要約
【課題】電子顕微鏡により取得した画像データを用いて高分子材料の内部の構造を、簡便により忠実に把握できる高分子材料の内部構造解析方法およびシステムを提供する。
【解決手段】電子顕微鏡2により取得した高分子材料の元画像データD1に対して演算装置3により前処理工程を実行し、前処理工程では、所望の対象構造に関するパラメータと、元画像データD1の隣接する画素どうしの画素値の変化の具合と、に基づいて、元画像データD1での所望の対象構造を抽出し、抽出した所望の対象構造に対応するそれぞれの画素の画素値と、その他のそれぞれの画素の画素値との差異を大きくした強調画像データD2を作成し、解析工程では、適切な強調画像データD2を用いて所望の対象構造の特徴量を算出し、この特徴量に基づいて高分子材料の所定の特性を把握する。
【選択図】図1
特許請求の範囲
【請求項1】
電子顕微鏡により取得した高分子材料の元画像データを用いて、演算装置により前記高分子材料の内部の構造を解析する高分子材料の内部構造解析方法において、
前記元画像データを取得する画像取得工程と、
前記元画像データに対して所望の対象構造を強調した強調画像データを得る前処理工程と、
前記強調画像データを用いて前記対象構造の特徴量を算出して、前記特徴量に基づいて前記高分子材料の所定の特性を把握する解析工程とを有し、
前記前処理工程では、前記対象構造に関するパラメータと、前記元画像データの隣接する画素どうしの画素値の変化の具合と、に基づいて、前記元画像データでの前記対象構造を抽出し、その抽出した前記対象構造に対応するそれぞれの前記画素の画素値と、その他のそれぞれの前記画素の画素値との差異を大きくした前記強調画像データを作成する高分子材料の内部構造解析方法。
続きを表示(約 1,200 文字)
【請求項2】
前記対象構造が線状構造または粒状構造であり、前記前処理工程では、前記元画像データの前記画素ごとにヘッセ行列の固有値を算出し、算出した前記固有値を前記画素値の変化の具合として使用して前記元画像データでの前記対象構造を抽出する請求項1に記載の高分子材料の内部構造解析方法。
【請求項3】
前記対象構造として線状構造を抽出し、その抽出した前記対象構造に対応するそれぞれの前記画素に対して細線化処理を施す請求項2に記載の高分子材料の内部構造解析方法。
【請求項4】
架橋ゴムを膨潤させて分子鎖により構成される網目構造を固定化し、この架橋ゴムを前記高分子材料として使用して、前記対象構造として前記分子鎖を抽出する請求項1または3に記載の高分子材料の内部構造解析方法。
【請求項5】
前記解析工程では、前記特徴量として前記対象構造の分布密度と、前記対象構造のサイズ別の存在割合と、の少なくとも一方を算出する請求項1または2に記載の高分子材料の内部構造解析方法。
【請求項6】
前記解析工程では、前記特徴量として前記対象構造の分布と前記対象構造のサイズとの少なくとも一方の分散状態を示す分散指標を算出する請求項1または2に記載の高分子材料の内部構造解析方法。
【請求項7】
前記解析工程では、前記特徴量を示すヒストグラムを生成する請求項5に記載の高分子材料の内部構造解析方法。
【請求項8】
前記元画像データとして三次元データを使用する請求項1または2に記載の高分子材料の内部構造解析方法。
【請求項9】
前記前処理工程では、前記元画像データを複数の空間領域に分割して、それぞれの前記空間領域ごとに独立して前記対象構造を強調した三次元の前記強調画像データを作成し、作成したそれぞれの三次元の前記強調画像データどうしを、対応する前記元画像データどうしが分割された位置で結合する請求項7に記載の高分子材料の内部構造解析方法。
【請求項10】
高分子材料の元画像データを取得する電子顕微鏡と、前記元画像データを用いて前記高分子材料の内部の構造を解析する演算装置と、を備えた高分子材料の内部構造解析システムにおいて、
前記演算装置により、前記元画像データに対して所望の対象構造を強調した強調画像データを作成する前処理工程と、前記強調画像データを用いて前記対象構造の特徴量が算出されて前記高分子材料の所定の特性が前記特徴量に基づいて把握される解析工程とが実行され、
前記前処理工程では、前記対象構造に関するパラメータと、前記元画像データの隣接する画素どうしの画素値の変化の具合と、に基づいて、前記元画像データでの前記対象構造が抽出されて、その抽出された前記対象構造に対応するそれぞれの前記画素の画素値と、その他のそれぞれの前記画素の画素値との差異を大きくした前記強調画像データが作成される高分子材料の内部構造解析システム。
発明の詳細な説明
【技術分野】
【0001】
本発明は、高分子材料の内部構造解析方法およびシステムに関し、より詳しくは、電子顕微鏡により取得した画像データを用いて高分子材料の内部の構造を、簡便により忠実に把握できる高分子材料の内部構造解析方法およびシステムに関する。
続きを表示(約 2,500 文字)
【背景技術】
【0002】
電子顕微鏡により取得した画像データを用いて架橋ゴムの網目構造を把握する方法が提案されている(特許文献1参照)。架橋ゴムの網目構造は、多数の分子鎖が三次元に複雑に交差および分岐して構成されている。電子顕微鏡により取得した架橋ゴムの画像データでは重なる分子鎖の数が多い程、或いは、分子鎖の配置位置が手前になる程、画素値が大きくなる(画像が明るくなる)。一方、この画像データでは、重なる分子鎖の数が少ない程、或いは、分子鎖の配置位置が奥になる程、画素値が小さくなる(画像が暗くなる)。そのため、網目構造を構成するそれぞれの分子鎖を忠実に把握するには、この画像データでの画素値の微小な差を判別する必要がある。
【0003】
電子顕微鏡により取得した画像データに対して、対象物である分子鎖を明確にするために正規化や平準化などの公知のノイズ除去画像処理を単純に行うと、画素値が小さい画素で構成される対象物はノイズとして除去される、或いは、対象物の輪郭がぼやけるなどの問題が生じる。架橋ゴムの網目構造に限らず、ゴムや樹脂などの高分子材料にランダムに内在する線状体や粒状体の分布などを、電子顕微鏡により取得した画像データを用いて把握する場合も同様の問題が生じる。画像データの中で明確化したい対象物を特定して、このような画像処理をする場合は、対象物の存在している領域を特定する作業を追加して行う必要があり、特定する領域が細かく多岐に渡っていると、この作業が非常に煩雑になる。それ故、電子顕微鏡により取得した画像データを用いて高分子材料の内部の構造を簡便により忠実に把握するには改善の余地がある。
【先行技術文献】
【特許文献】
【0004】
特開2023-85735号公報
【発明の概要】
【発明が解決しようとする課題】
【0005】
本発明の目的は、電子顕微鏡により取得した画像データを用いて高分子材料の内部の構造を、簡便により忠実に把握できる高分子材料の内部構造解析方法およびシステムを提供することである。
【課題を解決するための手段】
【0006】
上記の目的を達成する本発明の高分子材料の内部構造解析方法は、電子顕微鏡により取得した高分子材料の元画像データを用いて、演算装置により前記高分子材料の内部の構造を解析する高分子材料の内部構造解析方法において、前記元画像データを取得する画像取得工程と、前記元画像データに対して所望の対象構造を強調した強調画像データを得る前処理工程と、前記強調画像データを用いて前記対象構造の特徴量を算出して、前記特徴量に基づいて前記高分子材料の所定の特性を把握する解析工程とを有し、前記前処理工程では、前記対象構造に関するパラメータと、前記元画像データの隣接する画素どうしの画素値の変化の具合と、に基づいて、前記元画像データでの前記対象構造を抽出し、その抽出した前記対象構造に対応するそれぞれの前記画素の画素値と、その他のそれぞれの前記画素の画素値との差異を大きくした前記強調画像データを作成することを特徴とする。
【0007】
本発明の高分子材料の内部構造解析システムは、高分子材料の元画像データを取得する電子顕微鏡と、前記元画像データを用いて前記高分子材料の内部の構造を解析する演算装置と、を備えた高分子材料の内部構造解析システムにおいて、前記演算装置により、前記元画像データに対して所望の対象構造を強調した強調画像データを作成する前処理工程と、前記強調画像データを用いて前記対象構造の特徴量が算出されて前記高分子材料の所定の特性が前記特徴量に基づいて把握される解析工程とが実行され、前記前処理工程では、前記対象構造に関するパラメータと、前記元画像データの隣接する画素どうしの画素値の変化の具合と、に基づいて、前記元画像データでの前記対象構造が抽出されて、その抽出された前記対象構造に対応するそれぞれの前記画素の画素値と、その他のそれぞれの前記画素の画素値との差異を大きくした前記強調画像データが作成されることを特徴とする。
【発明の効果】
【0008】
本発明によれば、前記対象構造が不明確な前記元画像データであっても、前記元画像データに対して前記前処理工程を実行することで、前記対象構造を強調した適切な前記強調画像データを得ることができる。適切な前記強調画像データでは、前記対象構造が明確になるので、前記強調画像データを用いる前記解析工程では前記対象構造の特徴量をより高い精度で把握することができる。その結果、解析対象物である高分子材料の特性を精度よく把握するには有利になる。
【0009】
前記前処理工程では、前記対象構造に関するパラメータと、前記元画像データの隣接する画素どうしの画素値の変化の具合と、に基づいて、前記元画像データに対して前記対象構造を抽出する画像処理が実行されることで、適切な前記強調画像データが得られる。そのため、前記対象構造の形状などに応じて前記元画像データを複雑に区分して複雑な画像処理を実行する必要がない。したがって、本発明によれば、高分子材料の内部の構造を簡便により忠実に把握するには有利になる。
【図面の簡単な説明】
【0010】
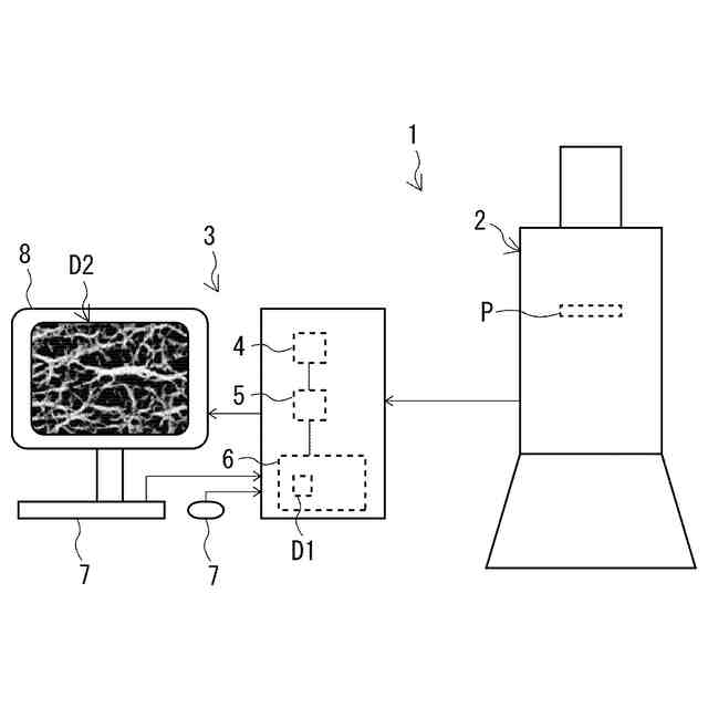
高分子材料の内部構造解析システムの実施形態を例示する説明図である。
電子顕微鏡により取得された高分子材料の画像データを例示する説明図である。
高分子材料の内部構造解析方法の手順の一例を示すフロー図である。
図2の画像データの一部を拡大して模式的に例示する説明図である。
強調画像データを例示する説明図である。
強調画像データでの分子鎖の長さごとの存在数を示すヒストグラムである。
実施例で使用された高分子材料の画像データを例示する説明図である。
図7の分子鎖が強調された強調画像データを例示する説明図である。
【発明を実施するための形態】
(【0011】以降は省略されています)
この特許をJ-PlatPat(特許庁公式サイト)で参照する
関連特許
横浜ゴム株式会社
タイヤ
13日前
横浜ゴム株式会社
タイヤ
1か月前
横浜ゴム株式会社
タイヤ
13日前
横浜ゴム株式会社
タイヤ
13日前
横浜ゴム株式会社
タイヤ
23日前
横浜ゴム株式会社
タイヤ
23日前
横浜ゴム株式会社
タイヤ
23日前
横浜ゴム株式会社
タイヤ
23日前
横浜ゴム株式会社
タイヤ
23日前
横浜ゴム株式会社
タイヤ
1か月前
横浜ゴム株式会社
タイヤ
9日前
横浜ゴム株式会社
タイヤ
9日前
横浜ゴム株式会社
タイヤ
1か月前
横浜ゴム株式会社
タイヤ
1か月前
横浜ゴム株式会社
タイヤ
1か月前
横浜ゴム株式会社
タイヤ
3日前
横浜ゴム株式会社
タイヤ
3日前
横浜ゴム株式会社
タイヤ
2日前
横浜ゴム株式会社
タイヤ
2日前
横浜ゴム株式会社
タイヤ
1か月前
横浜ゴム株式会社
タイヤ
13日前
横浜ゴム株式会社
重荷重タイヤ
9日前
横浜ゴム株式会社
空気入りタイヤ
13日前
横浜ゴム株式会社
空気入りタイヤ
1か月前
横浜ゴム株式会社
空気入りタイヤ
1か月前
横浜ゴム株式会社
空気入りタイヤ
10日前
横浜ゴム株式会社
タイヤの製造方法
2日前
横浜ゴム株式会社
熱可塑性樹脂組成物
2日前
横浜ゴム株式会社
更生タイヤ及びその製造方法
13日前
横浜ゴム株式会社
積層体、およびその製造方法
3日前
横浜ゴム株式会社
高分子微粒子集合体の製造法
1か月前
横浜ゴム株式会社
センサユニットを備えるタイヤ
9日前
横浜ゴム株式会社
化学計算モデル分子の作成方法
17日前
横浜ゴム株式会社
架橋ゴム分子鎖の配向評価方法
4日前
横浜ゴム株式会社
センサユニットを備えるタイヤ
9日前
横浜ゴム株式会社
センサユニットを備えるタイヤ
9日前
続きを見る
他の特許を見る