TOP
|
特許
|
意匠
|
商標
特許ウォッチ
Twitter
他の特許を見る
公開番号
2025127223
公報種別
公開特許公報(A)
公開日
2025-09-01
出願番号
2024023822
出願日
2024-02-20
発明の名称
加熱装置
出願人
株式会社九州日昌
代理人
弁理士法人KEN知財総合事務所
主分類
F27B
17/00 20060101AFI20250825BHJP(炉,キルン,窯;レトルト)
要約
【課題】被加熱物を効率良くかつ均等に加熱可能でクリーン度の高い加熱装置を提供する。
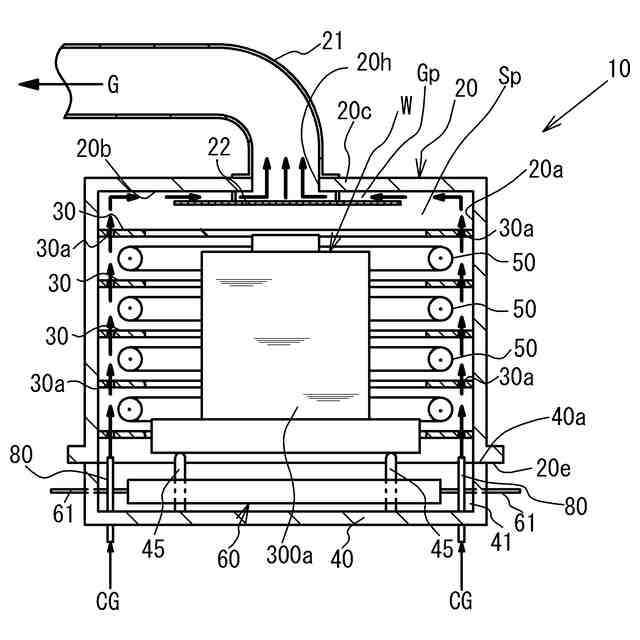
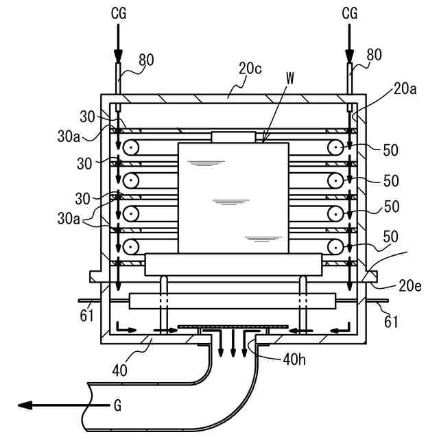
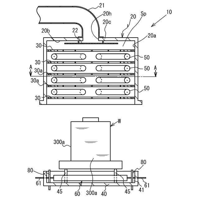
【解決手段】ベース部材40と、ベース部材40と協働して被加熱物Wを収容する閉塞された収容空間Spを画定する円筒状の被覆部材20と、被覆部材20によって保持され、被加熱物の外周面を包囲するように上下方向に設けられた被加熱物を加熱するための光を放射する複数のリング状光源50と、を有し、被覆部材20の円筒状内壁面は、複数のリング状光源からの光を被加熱物の側に向けて反射する反射面20aを備え、ベース部材40の端部には、被覆部材20の反射面20aに沿ってクリーンガスを流通させる供給ノズル80が設けられ、被覆部材20天井部には、排気口20hが形成されている。
【選択図】図1
特許請求の範囲
【請求項1】
被加熱物を支持するベース部材と、
前記ベース部材に対して上下方向に相対移動可能に設けられ、下端部が開口し、天井部を有し、前記ベース部材と協働して前記被加熱物を収容する閉塞された収容空間を画定する円筒状の被覆部材と、
前記被覆部材によって保持され、前記被加熱物の外周面を包囲するように上下方向に設けられた被加熱物を加熱するための光を放射する複数のリング状光源と、を有し、
前記被覆部材の円筒状内壁面は、前記複数のリング状光源からの光を被加熱物の側に向けて反射する反射面を備え、
前記被覆部材および前記ベース部材の一方の上下方向の端部には、前記被覆部材の反射面に沿ってクリーンガスを流通させるクリーンガス供給機構が設けられ、
前記被覆部材および前記ベース部材の他方の上下方向の端部には排気口が形成されている、加熱装置。
続きを表示(約 470 文字)
【請求項2】
前記排気口の前方には、前記収容空間内のガスが横方向から前記排気口に流れ込むようにする整流板が設けられている、請求項1に記載の加熱装置。
【請求項3】
前記被覆部材の内壁面に設けられ、前記複数のリング状光源の、隣り合う2つのリング状光源の間の相互の光の入射を遮る遮光部材を有し、
前記遮光部材には、前記クリーンガス供給機構から供給されたクリーンガスが流通する流通孔が形成されている、請求項1又は2に記載の加熱装置。
【請求項4】
前記排気口は、前記被覆部材の天井部の中心部に形成されており、
前記整流板は、前記被加熱物よりも大きい直径を有する円板状に形成されている、請求項2に記載の加熱装置。
【請求項5】
前記クリーンガスは、前記被覆部材の天井部と前記整流板との間に形成される隙間を通じて前記排気口に流れ込む、請求項4に記載の加熱装置。
【請求項6】
前記クリーンガスは、温度調整された不活性ガス又は空気である、請求項1に記載の加熱装置。
発明の詳細な説明
【技術分野】
【0001】
本発明は、円筒状の被加熱物を効率良くかつ均等に加熱する加熱装置に関する。
続きを表示(約 1,400 文字)
【背景技術】
【0002】
本出願人は、特許文献1において、被加熱物を支持するベース部材と、このベース部材に対して上下方向に相対移動可能に設けられ、下端部が開口し、天井部を有し、ベース部材と協働して被加熱物を収容する閉塞された収容空間を画定する円筒状の被覆部材と、被覆部材によって保持され、被加熱物の外周面を包囲するように上下方向に設けられた被加熱物を加熱するための光を放射する複数のリング状光源と、を備える加熱装置を開示している。
【先行技術文献】
【特許文献】
【0003】
特許第7236174号公報
【発明の概要】
【発明が解決しようとする課題】
【0004】
上記の加熱装置では、被覆部材の円筒状内壁面は、複数のリング状光源からの光を被加熱物の側に向けて反射する反射面を備えており、この反射面は、例えば、被覆部材の内壁面を鏡面加工した鏡面で形成されている。
しかしながら、被加熱物を加熱すると、被加熱物から生じるアウトガスが被覆部材の反射面に付着し、加熱効率が低下する可能性がある。また、被加熱物からのアウトガスが堆積して形成されるパーティクルが被加熱物に付着し被加熱物が汚染される可能性もある。
【0005】
本発明の目的の一つは、被加熱物を効率良くかつ均等に加熱可能な加熱装置であって、かつ、クリーン度の高い加熱装置を提供することにある。
【課題を解決するための手段】
【0006】
本発明の加熱装置は、被加熱物を支持するベース部材と、
前記ベース部材に対して上下方向に相対移動可能に設けられ、下端部が開口し、天井部を有し、前記ベース部材と協働して前記被加熱物を収容する閉塞された収容空間を画定する円筒状の被覆部材と、
前記被覆部材によって保持され、前記被加熱物の外周面を包囲するように上下方向に設けられた被加熱物を加熱するための光を放射する複数のリング状光源と、を有し、
前記被覆部材の円筒状内壁面は、前記複数のリング状光源からの光を被加熱物の側に向けて反射する反射面を備え、
前記被覆部材および前記ベース部材の一方の上下方向の端部には、前記被覆部材の反射面に沿ってクリーンガスを流通させるクリーンガス供給機構が設けられ、
前記被覆部材および前記ベース部材の他方の上下方向の端部には、排気口が形成されている。
【0007】
好適には、前記排気口の前方には、前記クリーンガスが横方向から前記排気口に流れ込むようにする整流板が設けられている。
【0008】
本発明の加熱装置は、前記被覆部材の内壁面に設けられ、前記複数のリング状光源の、隣り合う2つのリング状光源の間の相互の光の入射を遮る遮光部材を有し、
前記遮光部材には、前記クリーンガス供給機構から供給されたクリーンガスが流通する流通孔が形成されている。
【0009】
好適には、前記排気口は、前記被覆部材の天井部の中心部に形成されており、
前記整流板は、前記被加熱物よりも大きい直径を有する円板状に形成されている。
【0010】
さらに好適には、前記クリーンガスは、前記被覆部材の天井部と前記整流板との間に形成される隙間を通じて前記排気口に流れ込む。
【発明の効果】
(【0011】以降は省略されています)
この特許をJ-PlatPat(特許庁公式サイト)で参照する
関連特許
株式会社九州日昌
加熱装置および加熱プレート
10日前
株式会社サンコー
浸漬ヒーター
29日前
東京窯業株式会社
セッター
4か月前
中外炉工業株式会社
熱処理炉
18日前
ノリタケ株式会社
加熱炉
10日前
ノリタケ株式会社
冷却炉
10日前
株式会社プロテリアル
スラグ除滓装置
9か月前
中外炉工業株式会社
処理炉
3か月前
ノリタケ株式会社
連続加熱炉
6か月前
ファーネス重工株式会社
熱風循環炉
6か月前
株式会社不二越
搬送システム
5か月前
ノリタケ株式会社
サヤ
4か月前
ノリタケ株式会社
熱処理装置
5か月前
ノリタケ株式会社
熱処理装置
2か月前
ノリタケ株式会社
熱処理装置
2か月前
ノリタケ株式会社
熱処理装置
2か月前
ノリタケ株式会社
熱処理装置
2か月前
有限会社ヨコタテクニカ
リフロー炉
2か月前
ノリタケ株式会社
熱処理装置
1か月前
ノリタケ株式会社
連続加熱炉
6か月前
ノリタケ株式会社
連続加熱炉
6か月前
中外炉工業株式会社
連続処理炉
5か月前
DiV株式会社
赤外線加熱装置
5か月前
特殊電極株式会社
インゴット予熱装置
5か月前
成都大学
合金粉末酸化防止熱処理装置
6か月前
三菱重工業株式会社
炉設備
7か月前
株式会社豊田中央研究所
加熱装置
1か月前
大同特殊鋼株式会社
溶解炉
11か月前
株式会社不二越
圧力制御システム
5か月前
ノリタケ株式会社
熱処理設備
1か月前
ノリタケ株式会社
熱処理設備
1か月前
ノリタケ株式会社
熱処理容器
7日前
三建産業株式会社
非鉄金属溶解方法
4か月前
大同特殊鋼株式会社
回転炉の異物検出装置
5か月前
ノリタケ株式会社
焼成冷却システム
今日
大同特殊鋼株式会社
熱処理設備
9か月前
続きを見る
他の特許を見る