TOP
|
特許
|
意匠
|
商標
特許ウォッチ
Twitter
他の特許を見る
10個以上の画像は省略されています。
公開番号
2025148412
公報種別
公開特許公報(A)
公開日
2025-10-07
出願番号
2025113982,2023174199
出願日
2025-07-04,2019-07-19
発明の名称
加熱装置および加熱プレート
出願人
株式会社九州日昌
代理人
弁理士法人KEN知財総合事務所
主分類
F27D
11/02 20060101AFI20250930BHJP(炉,キルン,窯;レトルト)
要約
【課題】大面積の板状又はシート状の被加熱物の面内の高い温度均一性を達成する加熱装置を提供する。
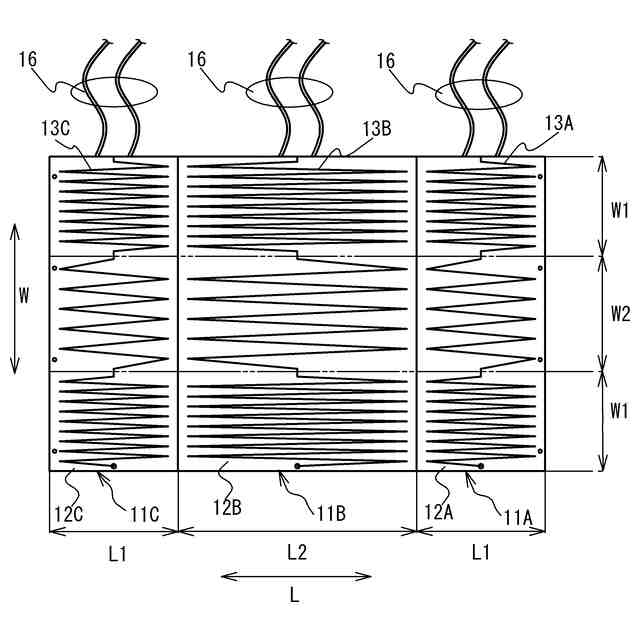
【解決手段】上下方向に間隔を隔てて配置された複数の加熱プレートと、上下方向で対向する加熱プレートの加熱面により画定される加熱スペースと、を有し、加熱プレートの各々は、矩形状の金属製プレートと、金属製プレートに内蔵され、発熱線13A~13Cが配線された複数の発熱体素子11A~11Cと、を有し、発熱体素子11A~11Cは、金属製プレートの配列方向Lに配列され、かつ、配列方向Lに直交する延在方向Wにそれぞれ延在しており、複数の発熱体素子11A~11Cは、配列方向Lにおいてその幅が変化しており、延在方向Wにおいて、複数の発熱体素子11A~11Cの各々は発熱線13A~13Cの配線密度が変化している。
【選択図】図7
特許請求の範囲
【請求項1】
上下方向に所定の間隔を隔てて配置された少なくとも3枚以上の加熱プレートと、
上下方向で対向する前記加熱プレートの加熱面により画定される、被加熱物を収容するための加熱スペースと、を有し、
上下方向で隣り合う前記加熱スペースは、前記加熱プレートにより分離されており、
前記加熱スペースの一の開口部からこの開口部に対向する他の開口部に向けて一方向に不活性ガスあるいは特定ガスを供給するガス供給手段をさらに有し、
前記ガス供給手段は、前記一の開口部の幅方向に沿って等間隔に配列された、均等にガスを噴出する複数の噴出口を有する、
加熱装置。
発明の詳細な説明
【技術分野】
【0001】
本発明は、ガラス基板や半導体リードフレームあるいはその他の金属板や合成樹脂板などの各種板状部材またはシート状部材の熱処理に使用される加熱装置に関する。
続きを表示(約 1,700 文字)
【背景技術】
【0002】
液晶表示パネルなどの構成部材である比較的大型のガラス基板を熱処理する装置としては、放熱板の加熱によって両面から遠赤外線を放射する両面加熱式の遠赤外線パネルヒータからなる多数の棚状ヒータを、炉本体内に上下方向に一定間隔で多段配置し、これらの棚状ヒータの間に形成される各空間部分をそれぞれ乾燥室とした加熱炉が提案されている(特許文献1参照。)。
【0003】
特許文献1記載の加熱炉の場合には、両面加熱式の遠赤外線パネルヒータからなる多数の棚状ヒータが配置されているため、これらの棚状ヒータの間に形成される各空間部(乾燥室)を効率的に加熱することができる点では優れている。
【0004】
しかしながら、上下方向に配置された多数の棚状ヒータから発される熱は、加熱炉内を上昇して炉内の天壁寄りの領域に集まる傾向があるため、炉内上部領域の温度は、炉内下部領域の温度より高くなり、このような炉内上部領域と炉内下部領域との間の温度差をなくすことは極めて困難である。
【0005】
特許文献2は、断熱材で囲まれた空間内に距離を隔てて対向配置された複数の加熱用壁体と、加熱用壁体に設けられた発熱手段と、加熱用壁体の間に距離を隔てて配置された複数の伝熱壁体と、伝熱用壁体の間に棚状に配置された複数の熱放射部材と、上下方向に隣り合う熱放射部材の間に設けられた被加熱物の加熱スペースとを備えた構成とした加熱装置を開示している。
特許文献2に開示された加熱装置は、垂直方向に設けられた加熱用壁体により加熱するため、加熱スペース内に収容することのできる被加熱物のサイズが限定される。特許文献2に開示の技術は、そもそも大面積の板状またはシート状の被加熱物を均一に加熱することを想定していないため、大面積の被加熱物の面内において温度を均一に加熱することは困難である。
【先行技術文献】
【特許文献】
【0006】
特開2001-317872号公報
特開2005-352306号公報
【発明の概要】
【発明が解決しようとする課題】
【0007】
一般的に、広い面内で精度良く温度分布を均一にすることは、加熱装置は大気中に配置されて常に外乱の影響を受けるため難しい。多数のヒータおよび多数の温度センサーを設置して面内の温度管理をすれば、広い面積を精度良く均等に加熱することも可能であるが、装置のコストが高くなる。また、多数のヒータおよび多数の温度センサーを設置すると、加熱スペースを上下方向に積み重ねることも難しい。
【0008】
本発明が解決しようとする課題は、低コストで大面積の板状またはシート状の被加熱物を均一に加熱することができる加熱装置を提供することにある。
【課題を解決するための手段】
【0009】
本発明の加熱装置は、上下方向に間隔を隔てて配置された複数の加熱プレートと、
上下方向で対向する前記加熱プレートの加熱面により画定される、被加熱物を収容するための加熱スペースと、を有し、
前記加熱プレートの各々は、
矩形状の金属製プレートと、
前記金属製プレートに内蔵され、発熱線が配線された複数の発熱体素子と、を有し、
前記複数の発熱体素子は、前記金属製プレートの第1の方向に配列され、かつ、前記第1の方向に直交する第2の方向にそれぞれ延在しており、
前記複数の発熱体素子は、前記第1の方向において、その幅が変化している、又は、その配列間隔が変化しており、
前記第2の方向において、前記複数の発熱体素子の各々は前記発熱線の配線密度が変化している。
【発明の効果】
【0010】
本発明によれば、対向する加熱プレートの間に加熱スペースを画定し、加熱プレートに内蔵させる発熱体素子の構成を最適化したので、大面積の板状又はシート状の被加熱物を均一に加熱できる。
【図面の簡単な説明】
(【0011】以降は省略されています)
この特許をJ-PlatPat(特許庁公式サイト)で参照する
関連特許
株式会社九州日昌
加熱装置
1か月前
株式会社九州日昌
加熱装置および加熱プレート
11日前
株式会社サンコー
浸漬ヒーター
1か月前
東京窯業株式会社
セッター
4か月前
中外炉工業株式会社
熱処理炉
19日前
ノリタケ株式会社
加熱炉
11日前
ノリタケ株式会社
冷却炉
11日前
株式会社プロテリアル
スラグ除滓装置
9か月前
中外炉工業株式会社
処理炉
3か月前
ノリタケ株式会社
連続加熱炉
6か月前
ファーネス重工株式会社
熱風循環炉
6か月前
株式会社不二越
搬送システム
5か月前
ノリタケ株式会社
サヤ
4か月前
ノリタケ株式会社
熱処理装置
5か月前
ノリタケ株式会社
熱処理装置
2か月前
ノリタケ株式会社
熱処理装置
2か月前
ノリタケ株式会社
熱処理装置
2か月前
ノリタケ株式会社
熱処理装置
2か月前
有限会社ヨコタテクニカ
リフロー炉
2か月前
ノリタケ株式会社
熱処理装置
1か月前
ノリタケ株式会社
連続加熱炉
6か月前
ノリタケ株式会社
連続加熱炉
6か月前
中外炉工業株式会社
連続処理炉
5か月前
DiV株式会社
赤外線加熱装置
5か月前
特殊電極株式会社
インゴット予熱装置
5か月前
成都大学
合金粉末酸化防止熱処理装置
6か月前
三菱重工業株式会社
炉設備
7か月前
株式会社豊田中央研究所
加熱装置
1か月前
大同特殊鋼株式会社
溶解炉
11か月前
株式会社不二越
圧力制御システム
5か月前
ノリタケ株式会社
熱処理設備
1か月前
ノリタケ株式会社
熱処理設備
1か月前
ノリタケ株式会社
熱処理容器
8日前
三建産業株式会社
非鉄金属溶解方法
4か月前
大同特殊鋼株式会社
回転炉の異物検出装置
5か月前
ノリタケ株式会社
焼成冷却システム
1日前
続きを見る
他の特許を見る