TOP
|
特許
|
意匠
|
商標
特許ウォッチ
Twitter
他の特許を見る
10個以上の画像は省略されています。
公開番号
2025128594
公報種別
公開特許公報(A)
公開日
2025-09-03
出願番号
2024025343
出願日
2024-02-22
発明の名称
表示装置
出願人
日本精機株式会社
代理人
主分類
G02B
27/01 20060101AFI20250827BHJP(光学)
要約
【課題】偏光選択モジュールを回転させる構造を採用することで、インストルメントパネル内への装置の搭載性を良好にすると共に、表示像を形成することができる表示装置を提供する。
【解決手段】光源111からの光をP偏光で出射すると共に表示像を表示する表示部10と、S偏光を反射すると共にP偏光を透過させる偏光選択モジュール20と、偏光選択モジュールへ表示光Lを反射する位置に配置される第1ミラー11と第2ミラー12と、を有し、表示部から出射した表示光が透過し、第1ミラーでの反射による表示光を入射した後、反射して出射する表示光の向きが第2ミラーへ向かうと共に、第2ミラーでの反射による表示光を透過させた表示光の向きが射出口17へ向かうように偏光選択モジュールを配置する。
【選択図】図1
特許請求の範囲
【請求項1】
車両のインストルメントパネル内に設けられ、射出口から表示光を射出することで前記表示光が表す表示像の実像を視認させる表示装置であって、
光源を備え、前記光源からの光を第1直線偏光で出射すると共に前記表示像を表示する表示部と、
前記第1直線偏光と直交する第2直線偏光を反射すると共に前記第1直線偏光を透過させる偏光選択モジュールと、
前記偏光選択モジュールへ前記表示光を反射する位置に配置される第1ミラーと第2ミラーと、を有し、
前記表示部から出射した前記表示光が透過し、前記第1ミラーでの反射による前記表示光を入射した後、反射して出射する前記表示光の向きが前記第2ミラーへ向かうと共に、前記第2ミラーでの反射による前記表示光を透過させた前記表示光の向きが前記射出口へ向かうように前記偏光選択モジュールを配置することを特徴とする表示装置。
続きを表示(約 790 文字)
【請求項2】
前記偏光選択モジュールは、
直線偏光を第1円偏光に変換すると共に前記第1円偏光を前記直線偏光に変換可能な1/4λ板と、
前記第1円偏光を透過すると共に前記第1円偏光と反対方向の第2円偏光を反射する偏光選択板と、
を備えることを特徴とする請求項1記載の表示装置。
【請求項3】
前記偏光選択モジュールは、
前記1/4λ板が前記偏光選択板よりも前記表示部側に位置していることを特徴とする請求項2記載の表示装置。
【請求項4】
前記第1直線偏光を第1円偏光に変換すると共に前記第1円偏光を前記第1直線偏光に変換し、前記第2直線偏光を第2円偏光に変換すると共に前記第2円偏光を前記第2直線偏光に変換する1/4λ板を、前記第1ミラー及び前記第2ミラーの前記偏光選択モジュール側に更に有し、
前記偏光選択モジュールは、
前記第1直線偏光を透過すると共に前記第2直線偏光を反射する偏光選択板を備えることを特徴とする請求項1記載の表示装置。
【請求項5】
前記第1ミラー及び前記第2ミラーは、凹面鏡であることを特徴とする請求項1乃至請求項4のいずれか1項記載の表示装置。
【請求項6】
前記第1ミラーと前記第2ミラーと前記偏光選択モジュールとを含む結像光学系の第1光学焦点は、光路に沿って前記表示部よりも前記射出口側に位置することを特徴とする請求項1乃至請求項4のいずれか1項記載の表示装置。
【請求項7】
前記偏光選択モジュールと前記射出口側との間に複数のレンズ部材を有することを特徴とする請求項1乃至請求項4のいずれか1項記載の表示装置。
【請求項8】
前記射出口側の前記レンズ部材は着色されることを特徴とする請求項7記載の表示装置。
発明の詳細な説明
【技術分野】
【0001】
本発明は、視認者に対して所望の表示を行う表示装置に関するものである。
続きを表示(約 2,800 文字)
【背景技術】
【0002】
従来、例えば特許文献1に記載の表示装置が知られている。この表示装置では、車両に設けられ、視認者の前方に実像を結像させる光学系と、虚像を結像させる光学系を有し、それを切り替えることによって、異なる表示距離で表示を視認者に見せるものである。具体的には、虚像は車両の外側に出ているように視認され、実像は車両の内部にあるように視認させる。
【先行技術文献】
【特許文献】
【0003】
特開2011-70074号公報
【発明の概要】
【発明が解決しようとする課題】
【0004】
しかしながら、例えば特許文献1に示すようなフロントウインドウ(=ウィンドウシールド)を用いずに表示像を視認させたい場合には、インストルメントパネル内で光学系を完結させる必要があり、実像や虚像といった表示像を表示する場合に光路長を稼ぐ必要が生じる。そのため、装置全体の大型化を招き、インストルメントパネル内への搭載性が悪くなってしまうという問題があった。
【0005】
そこで、本発明は、上記問題点に鑑みてなされたものであり、偏光選択モジュールを回転させる構造を採用することで、インストルメントパネル内への装置の搭載性を良好にすると共に、表示像を形成することができる表示装置を提供することを目的とする。
【課題を解決するための手段】
【0006】
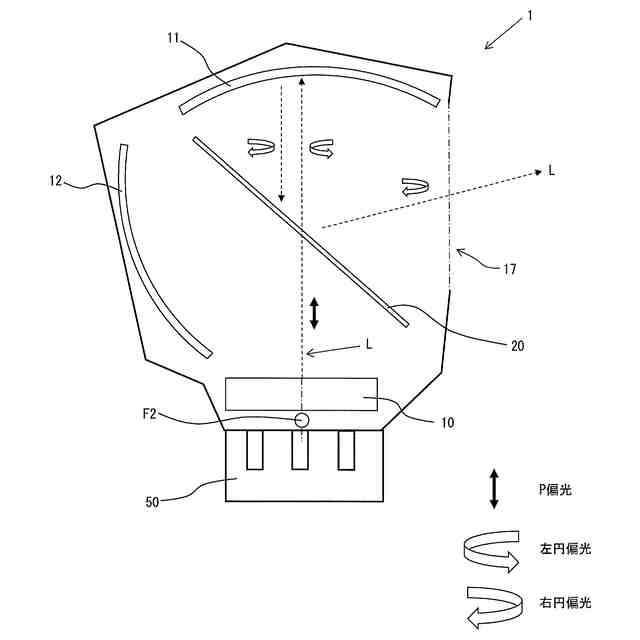
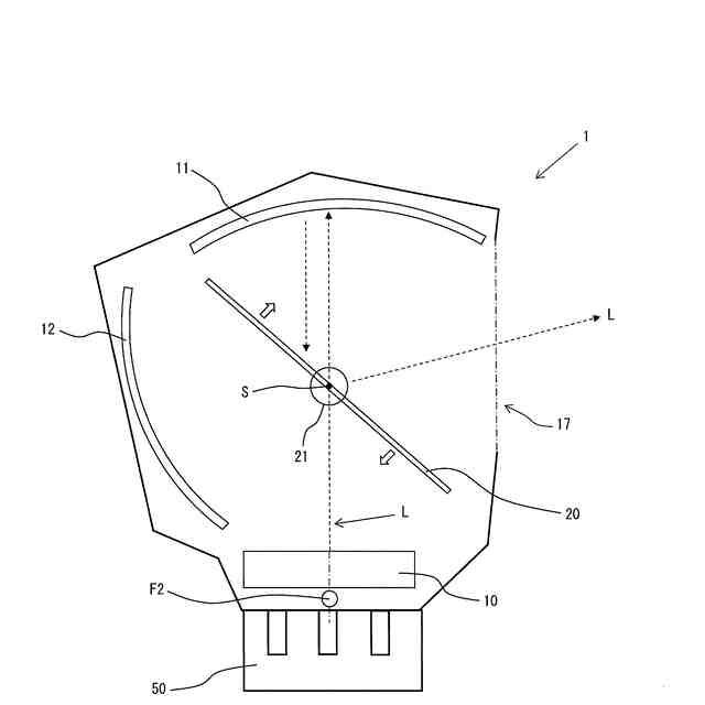
本発明は、車両CのインストルメントパネルIP内に設けられ、射出口17から表示光Lを射出することで前記表示光Lが表す表示像の実像RIを視認させる表示装置1であって、光源111を備え、前記光源111からの光を第1直線偏光で出射すると共に前記表示像を表示する表示部10と、前記第1直線偏光と直交する第2直線偏光を反射すると共に前記第1直線偏光を透過させる偏光選択モジュール20と、前記偏光選択モジュール20へ前記表示光Lを反射する位置に配置される第1ミラー11と第2ミラー12と、を有し、前記表示部10から出射した前記表示光Lが透過し、前記第1ミラー11での反射による前記表示光Lを入射した後、反射して出射する前記表示光Lの向きが前記第2ミラー12へ向かうと共に、前記第2ミラー12での反射による前記表示光Lを透過させた前記表示光Lの向きが前記射出口17へ向かうように前記偏光選択モジュール20を配置することを特徴とする。
【発明の効果】
【0007】
本発明によれば、インストルメントパネル内への搭載性を良好にし、ウィンドウシールドを用いることなく表示像を形成することができる。
【図面の簡単な説明】
【0008】
本発明の第1の実施形態に係る表示装置において視認者が実像を視認する様子を示す図。
本発明の第1の実施形態に係る表示装置において視認者が虚像を視認する様子を示す図。
本発明の第1の実施形態に係る表示装置において実像を視認させる場合のレイアウトを示す図。
本発明の第1の実施形態に係る表示装置において虚像を視認させる場合のレイアウトを示す図。
本発明の第1の実施形態に係る表示装置における表示部の構成を示す図。
本発明の第1の実施形態に係る表示装置における偏光選択モジュールの構造を示す図。
本発明の第1の実施形態に係る表示装置において実像を視認させる場合の表示光の偏光状態の遷移を説明する図。
本発明の第1の実施形態に係る表示装置において虚像を視認させる場合の表示光の偏光状態の遷移を説明する図。
本発明の第2の実施形態に係る表示装置における偏光選択モジュール並びに第1ミラー及び第2ミラーの構造を示す図。
本発明の第2の実施形態に係る表示装置において実像を視認させる場合の表示光の偏光状態の遷移を説明する図。
本発明の第2の実施形態に係る表示装置において虚像を視認させる場合の表示光の偏光状態の遷移を説明する図。
本発明のその他の実施形態に係る表示装置において実像を表示させることができる系を共軸系に置きなおした図。
本発明のその他の実施形態に係る表示装置において虚像を表示させることができる系を共軸系に置きなおした図。
本発明のその他の実施形態に係る表示装置において表示光の光路中にレンズを挿入した場合の構成の一例を示す図。
ダブレットレンズの構成を示す図。
複数のレンズの構成を示す図。
【発明を実施するための形態】
【0009】
(本発明の第1の実施形態)
本実施形態に係る表示装置について、図面を参照して説明する。図1は、本実施形態に係る表示装置において視認者が実像を視認する様子を示す図、図2は、本実施形態に係る表示装置において視認者が虚像を視認する様子を示す図である。図1及び図2において、表示装置1は、車両Cの車内前方に設置されるインストルメントパネルIP(以下、インパネIPという)内に搭載され、視認者PSが視認する表示像を表示する表示部10と、表示部10からの第1直線偏光を透過すると共に当該第1直線偏光に直交する第2直線偏光を反射し、光路に対する角度が可変となるように回転軸Sまわりに回転する偏光選択モジュール20と、表示部10の表示態様を制御すると共に、偏光選択モジュール20の回転角度を制御する制御部30とを備える。表示部10から出た表示光Lが、偏光選択モジュール20や、後述するミラー(第1ミラー11,第2ミラー12)を経由してインパネIPの開口部(射出口)17から出射し、インパネIPを向いて車内に着座している視認者PSに表示光Lが導かれ、視認者PSに表示光Lが表す表示像を視認させることができる。
【0010】
図1は、視認者PSが、実像RIをインパネIPの手前(視認者PSとインパネIPとの間)に浮いているように視認している様子を示している。具体的な表示距離は、目の位置から例えば500mmから800mm程度の距離である。実像RIとして例えば、システム起動時又は視認者PSのジェスチャーを検知した時に、操作画面等を表示する。図2は、視認者PSが、虚像VIをインパネIPの奥にめり込んでいるように視認している様子を示している。具体的な表示距離は、目の位置から例えば2m~3m程度の距離である。虚像VIとして例えば、実像RIで視認者PSが選択した映画やゲームなどのエンタメコンテンツを表示する。その後、コンテンツが終了した時や、視認者PSのジェスチャーを検知した時に実像RIに切り替える。
(【0011】以降は省略されています)
この特許をJ-PlatPat(特許庁公式サイト)で参照する
関連特許
日本精機株式会社
表示装置
2か月前
日本精機株式会社
表示装置
1か月前
日本精機株式会社
表示装置
1か月前
日本精機株式会社
回路基板
1か月前
日本精機株式会社
表示装置
1か月前
日本精機株式会社
画像投映装置
22日前
日本精機株式会社
警報システム
1か月前
日本精機株式会社
車載表示装置
1か月前
日本精機株式会社
位置検出装置
28日前
日本精機株式会社
位置検出装置
28日前
日本精機株式会社
位置検出装置
28日前
日本精機株式会社
車載表示装置
今日
日本精機株式会社
車載表示装置
7日前
日本精機株式会社
車載表示装置
2日前
日本精機株式会社
車両用投射装置
20日前
日本精機株式会社
車両用投影装置
1か月前
日本精機株式会社
車両用表示装置
22日前
日本精機株式会社
車両用表示装置
今日
日本精機株式会社
車両用投射装置
27日前
日本精機株式会社
車両用報知装置
6日前
日本精機株式会社
ミラーユニット
今日
日本精機株式会社
サージ保護回路
22日前
日本精機株式会社
施工管理システム
1か月前
日本精機株式会社
車両用センサ装置
1か月前
日本精機株式会社
投射型表示システム
1か月前
日本精機株式会社
投射型表示システム
1か月前
日本精機株式会社
スペックル低減装置
15日前
日本精機株式会社
車両用投射型表示装置
28日前
日本精機株式会社
ヘッドアップディスプレイ
1か月前
日本精機株式会社
報知装置及び報知システム
1か月前
日本精機株式会社
ヘッドアップディスプレイ装置
20日前
日本精機株式会社
ヘッドアップデテイプレイ装置およびその制御方法
1か月前
NSウエスト株式会社
ヘッドアップディスプレイ装置
1か月前
NSウエスト株式会社
ヘッドアップディスプレイ装置
1か月前
NSウエスト株式会社
ヘッドアップディスプレイ装置
1か月前
日本精機株式会社
ヘッドアップディスプレイ装置およびその表示制御方法
1か月前
続きを見る
他の特許を見る