TOP
|
特許
|
意匠
|
商標
特許ウォッチ
Twitter
他の特許を見る
公開番号
2025163372
公報種別
公開特許公報(A)
公開日
2025-10-29
出願番号
2024066543
出願日
2024-04-17
発明の名称
車両用表示装置
出願人
日本精機株式会社
代理人
主分類
G09F
9/00 20060101AFI20251022BHJP(教育;暗号方法;表示;広告;シール)
要約
【課題】弾性部材を介してノイズが伝搬することを抑制することができる車両用表示装置を提供する。
【解決手段】車両用表示装置10は、情報を表示する表示面51aを有する表示器50と、表示器50を収容し、開口部31を有する筐体30と、筐体30の開口部31を塞ぐ透光性を持つ板状に形成され、筐体30の収容空間Sp側の裏面に表示面51aが接着される保護パネル部材40と、表示器50の裏面側に位置し、グラウンドパターン21を有する回路基板20と、回路基板20の表示器50に対向する表面20Fに実装され、表示器50を押圧する導電材からなる弾性部材70と、を備える。回路基板20は、弾性部材70を実装する領域であり、表面20Fにおいてグラウンドパターン21とは異なる導電パターンとしてグラウンドパターン21から離れた位置に形成される実装用パターン22を有する。
【選択図】図1
特許請求の範囲
【請求項1】
情報を表示する表示面を有する表示器と、
前記表示器を収容し、開口部を有する筐体と、
前記筐体の前記開口部を塞ぐ透光性を持つ板状に形成され、前記筐体の収容空間側の裏面に前記表示面が接着される保護パネル部材と、
前記表示器の裏面側に位置し、グラウンドパターンを有する回路基板と、
前記回路基板の前記表示器に対向する表面に実装され、前記表示器を押圧する導電材からなる弾性部材と、を備え、
前記回路基板は、前記弾性部材を実装する領域であり、前記表面において前記グラウンドパターンとは異なる導電パターンとして前記グラウンドパターンから離れた位置に形成される実装用パターンを有する、
車両用表示装置。
続きを表示(約 140 文字)
【請求項2】
前記実装用パターンは、前記グラウンドパターンにより隙間を介して囲まれており、
前記回路基板は、前記実装用パターンと前記グラウンドパターンとの間に電気的に接続される挿入素子を設置可能な素子挿入スペースを有する、
請求項1に記載の車両用表示装置。
発明の詳細な説明
【技術分野】
【0001】
本開示は、車両用表示装置に関する。
続きを表示(約 1,600 文字)
【背景技術】
【0002】
特許文献1に記載の車両用表示装置は、光源及びグラウンド端子等が実装される回路基板と、この回路基板の表側に位置する部分的に光を透過する表示板と、回路基板及び表示板の間に位置する画像を表示する表示素子と、を備える。回路基板に実装されるグラウンド端子は、Z型形状の金属製の弾性部材からなり、表示板に帯電した静電気を回路基板のグラウンドパターンに逃がすことにより、静電気が表示素子に印加されることを抑制する。
【先行技術文献】
【特許文献】
【0003】
特許6837103号公報
【発明の概要】
【発明が解決しようとする課題】
【0004】
上記特許文献1に記載の構成では、グラウンド端子を介して表示素子と回路基板の間でノイズが伝搬するおそれがあった。
【0005】
本開示は、上記実状を鑑みてなされたものであり、弾性部材を介してノイズが伝搬することを抑制することができる車両用表示装置を提供することを目的とする。
【課題を解決するための手段】
【0006】
上記目的を達成するため、本開示に係る車両用表示装置は、
情報を表示する表示面を有する表示器と、
前記表示器を収容し、開口部を有する筐体と、
前記筐体の前記開口部を塞ぐ透光性を持つ板状に形成され、前記筐体の収容空間側の裏面に前記表示面が接着される保護パネル部材と、
前記表示器の裏面側に位置し、グラウンドパターンを有する回路基板と、
前記回路基板の前記表示器に対向する表面に実装され、前記表示器を押圧する導電材からなる弾性部材と、を備え、
前記回路基板は、前記弾性部材を実装する領域であり、前記表面において前記グラウンドパターンとは異なる導電パターンとして前記グラウンドパターンから離れた位置に形成される実装用パターンを有する。
【発明の効果】
【0007】
本開示によれば、弾性部材を介してノイズが伝搬することを抑制することができる。
【図面の簡単な説明】
【0008】
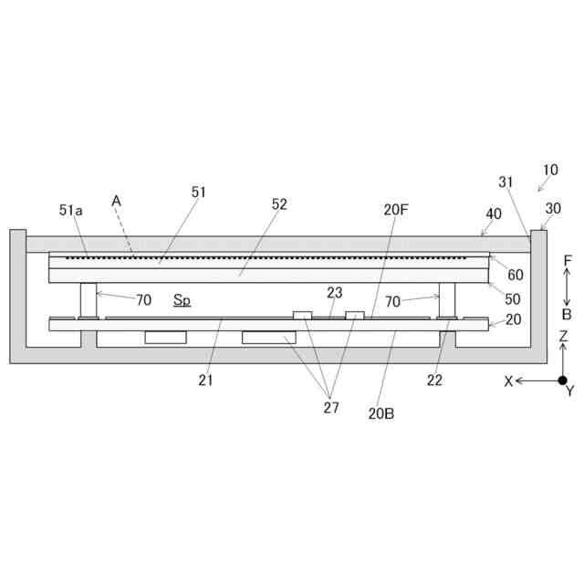
本開示の一実施形態に係る車両用表示装置の概略断面図である。
本開示の一実施形態に係る回路基板の概略平面図である。
本開示の一実施形態に係る回路基板の実装用パターンの周辺を拡大した概略平面図である。
本開示の一実施形態に係る回路基板の実装用パターンの周辺を拡大した概略断面図である。
本開示の変形例に係る回路基板の実装用パターンの周辺を拡大した概略平面図である。
【発明を実施するための形態】
【0009】
本開示の一実施形態に係る車両用表示装置について図面を参照しつつ説明する。この車両用表示装置は、車両、例えば、自動二輪車等の乗鞍型車両に搭載される。
図1に示すように、車両用表示装置10は、回路基板20と、筐体30と、保護パネル部材40と、車速等の車両情報を含む画像Aを表示する表示器50と、接着層60と、複数の弾性部材70と、を備える。
以下の説明では、画像Aの視認者の視点を基準として、左右方向をX方向と規定し、上下方向をY方向と規定し、前後方向をZ方向と規定する。Z方向のうち、視認者の手前側を表側Fと規定し、奥行き側を裏側Bと規定する。
【0010】
筐体30は、遮光性の樹脂又は金属により形成され、回路基板20、表示器50及び弾性部材70を収容空間Spに収容する。筐体30は、表側Fに向けて開口した箱状をなす。
保護パネル部材40は、透光性の樹脂又はガラスにより板状に形成され、筐体30の開口部31を塞ぐように配置される。
(【0011】以降は省略されています)
この特許をJ-PlatPat(特許庁公式サイト)で参照する
関連特許
日本精機株式会社
表示装置
2か月前
日本精機株式会社
表示装置
1か月前
日本精機株式会社
表示装置
1か月前
日本精機株式会社
回路基板
1か月前
日本精機株式会社
表示装置
1か月前
日本精機株式会社
画像投映装置
25日前
日本精機株式会社
警報システム
2か月前
日本精機株式会社
車載表示装置
1か月前
日本精機株式会社
位置検出装置
1か月前
日本精機株式会社
位置検出装置
1か月前
日本精機株式会社
位置検出装置
1か月前
日本精機株式会社
車載表示装置
3日前
日本精機株式会社
車載表示装置
10日前
日本精機株式会社
車載表示装置
5日前
日本精機株式会社
車両用投射装置
23日前
日本精機株式会社
車両用投影装置
1か月前
日本精機株式会社
車両用表示装置
25日前
日本精機株式会社
車両用表示装置
3日前
日本精機株式会社
車両用投射装置
1か月前
日本精機株式会社
車両用報知装置
9日前
日本精機株式会社
ミラーユニット
3日前
日本精機株式会社
サージ保護回路
25日前
日本精機株式会社
施工管理システム
2か月前
日本精機株式会社
車両用センサ装置
1か月前
日本精機株式会社
投射型表示システム
1か月前
日本精機株式会社
投射型表示システム
1か月前
日本精機株式会社
スペックル低減装置
18日前
日本精機株式会社
車両用投射型表示装置
1か月前
日本精機株式会社
ヘッドアップディスプレイ
1か月前
日本精機株式会社
報知装置及び報知システム
1か月前
日本精機株式会社
ヘッドアップディスプレイ装置
23日前
日本精機株式会社
ヘッドアップデテイプレイ装置およびその制御方法
1か月前
NSウエスト株式会社
ヘッドアップディスプレイ装置
1か月前
NSウエスト株式会社
ヘッドアップディスプレイ装置
1か月前
NSウエスト株式会社
ヘッドアップディスプレイ装置
1か月前
日本精機株式会社
ヘッドアップディスプレイ装置およびその表示制御方法
1か月前
続きを見る
他の特許を見る