TOP
|
特許
|
意匠
|
商標
特許ウォッチ
Twitter
他の特許を見る
公開番号
2025163377
公報種別
公開特許公報(A)
公開日
2025-10-29
出願番号
2024066550
出願日
2024-04-17
発明の名称
車載表示装置
出願人
日本精機株式会社
代理人
主分類
B60K
35/40 20240101AFI20251022BHJP(車両一般)
要約
【課題】フロントガラスの表示光を受ける領域の曇り止めを良好に行うことができる車載表示装置を提供する。
【解決手段】車載表示装置100は、車両1のダッシュボード2の中に位置し、画像を表す表示光Lを発する表示ユニットAと、表示ユニットAから発せられ、フロントガラス3に向かう表示光Lを通過させる筒状体20と、筒状体20の中の塵埃を含む空気を吸い込む吸引器70と、デフロスター50による風であるデフロスター風Dを除電する除電器60と、を備える。筒状体20は、デフロスター風Dを筒状体20の中に送る送風口21aと、筒状体20の中の空気を吸引器70へ通す吸引口22aと、を有する。
【選択図】図1
特許請求の範囲
【請求項1】
車両のダッシュボードの中に位置し、画像を表す表示光を発する表示ユニットと、
前記表示ユニットから発せられ、前記車両のフロントガラスに向かう前記表示光を通過させる筒状体と、
前記筒状体の中の塵埃を含む空気を吸い込む吸引器と、
デフロスターによる風であるデフロスター風を除電する除電器と、を備え、
前記筒状体は、前記デフロスター風を前記筒状体の中に送る送風口と、前記筒状体の中の前記空気を前記吸引器へ通す吸引口と、を有する、
車載表示装置。
続きを表示(約 480 文字)
【請求項2】
前記除電器は、前記表示ユニットにおける前記送風口の側に設けられている、
請求項1に記載の車載表示装置。
【請求項3】
前記除電器は、前記送風口から前記筒状体の中に送られる前記デフロスター風が当たる位置に設けられた除電用の電極を有する、
請求項1又は2に記載の車載表示装置。
【請求項4】
前記表示ユニットは、前記表示光を発する表示器と、前記表示器を覆うカバーガラスと、を有し、
前記カバーガラスは、前記送風口から前記筒状体の中へ送られた前記デフロスター風を受ける傾斜面を有し、前記傾斜面によって前記デフロスター風を前記フロントガラス及び前記吸引口に向けて案内する、
請求項1又は2に記載の車載表示装置。
【請求項5】
前記送風口から前記筒状体の中へ送られた前記デフロスター風を受ける傾斜面を有し、前記傾斜面によって前記デフロスター風を前記フロントガラス及び前記吸引口に向けて案内するガイド部をさらに備える、
請求項1又は2に記載の車載表示装置。
発明の詳細な説明
【技術分野】
【0001】
本開示は、車載表示装置に関する。
続きを表示(約 1,200 文字)
【背景技術】
【0002】
車載表示装置として、例えば特許文献1には、車両のダッシュボードの中に設けられ、車両のフロントガラスに向けて画像を表す表示光を発することで、運転者等のユーザに当該画像を視認させる装置が記載されている。
【先行技術文献】
【特許文献】
【0003】
特開平3-62085号公報
【発明の概要】
【発明が解決しようとする課題】
【0004】
この種の車載表示装置では、ダッシュボードにおいて、表示光が発せられる開口の位置を避けた位置に、デフロスターによる風をフロントガラスに送る送風口を設ける必要があった。しかしながら、この構造では、フロントガラスの表示光を受ける領域の曇り止めを充分に行うことができない虞がある。
【0005】
本開示は、上記実情に鑑みてなされたものであり、フロントガラスの表示光を受ける領域の曇り止めを良好に行うことができる車載表示装置を提供することを目的とする。
【課題を解決するための手段】
【0006】
上記目的を達成するため、本開示に係る車載表示装置は、
車両のダッシュボードの中に位置し、画像を表す表示光を発する表示ユニットと、
前記表示ユニットから発せられ、前記車両のフロントガラスに向かう前記表示光を通過させる筒状体と、
前記筒状体の中の塵埃を含む空気を吸い込む吸引器と、
デフロスターによる風であるデフロスター風を除電する除電器と、を備え、
前記筒状体は、前記デフロスター風を前記筒状体の中に送る送風口と、前記筒状体の中の前記空気を前記吸引器へ通す吸引口と、を有する。
【発明の効果】
【0007】
本開示によれば、フロントガラスの表示光を受ける領域の曇り止めを良好に行うことができる。
【図面の簡単な説明】
【0008】
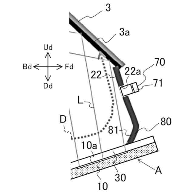
本開示の一実施形態に係る車載表示装置の車両への搭載態様を示す図。
同上実施形態に係る除電器を図1の矢視Bで見た図。
変形例1に係る車載表示装置が備えるガイド部を説明するための図。
変形例2に係る車載表示装置が備えるガイド部を説明するための図。
【発明を実施するための形態】
【0009】
本開示の一実施形態について図面を参照して説明する。
【0010】
本実施形態に係る車載表示装置100は、図1に示すように、車両1のダッシュボード2(インストルメントパネルを含む)に設けられ、車両1のフロントガラス3(ウインドシールド)の下端領域に設けられたセラミック形成部3aに向けて画像を表す光(以下、表示光L)を発する。
(【0011】以降は省略されています)
この特許をJ-PlatPat(特許庁公式サイト)で参照する
関連特許
日本精機株式会社
表示装置
1か月前
日本精機株式会社
車載表示装置
3日前
日本精機株式会社
車載表示装置
5日前
日本精機株式会社
位置検出装置
1か月前
日本精機株式会社
車載表示装置
10日前
日本精機株式会社
位置検出装置
1か月前
日本精機株式会社
位置検出装置
1か月前
日本精機株式会社
画像投映装置
25日前
日本精機株式会社
サージ保護回路
25日前
日本精機株式会社
車両用投射装置
1か月前
日本精機株式会社
車両用表示装置
25日前
日本精機株式会社
車両用投射装置
23日前
日本精機株式会社
ミラーユニット
3日前
日本精機株式会社
車両用報知装置
9日前
日本精機株式会社
車両用表示装置
3日前
日本精機株式会社
車両用投影装置
1か月前
日本精機株式会社
車両用センサ装置
1か月前
日本精機株式会社
スペックル低減装置
18日前
日本精機株式会社
車両用投射型表示装置
1か月前
日本精機株式会社
ヘッドアップディスプレイ装置
23日前
日本精機株式会社
ヘッドアップディスプレイ装置
18日前
日本精機株式会社
音圧制御装置、及びサウンダーの音圧制御システム、並びにサウンダーの音圧制御方法
11日前
日本精機株式会社
ヘッドアップディスプレイ装置、ヘッドアップディスプレイ装置の制御方法、および表示制御プログラム
11日前
日本精機株式会社
表示制御装置、ヘッドアップディスプレイ装置、表示装置の制御方法、プログラム、および車両用表示システム
11日前
個人
タイヤレバー
3か月前
個人
前輪キャスター
2か月前
個人
上部一体型自動車
29日前
個人
空間形成装置
2日前
個人
ホイルのボルト締結
4か月前
個人
タイヤ脱落防止構造
2か月前
個人
ルーフ付きトライク
2か月前
日本精機株式会社
表示装置
3か月前
日本精機株式会社
表示装置
3か月前
日本精機株式会社
表示装置
3か月前
個人
車両通過構造物
3か月前
日本精機株式会社
表示装置
2か月前
続きを見る
他の特許を見る