TOP
|
特許
|
意匠
|
商標
特許ウォッチ
Twitter
他の特許を見る
10個以上の画像は省略されています。
公開番号
2025128722
公報種別
公開特許公報(A)
公開日
2025-09-03
出願番号
2024025586
出願日
2024-02-22
発明の名称
配送伝票
出願人
TOPPANホールディングス株式会社
代理人
個人
,
個人
主分類
B42D
11/00 20060101AFI20250827BHJP(製本;アルバム;ファイル;特殊印刷物)
要約
【課題】記入された情報を複写することで配送物の管理の確実性を向上させる。
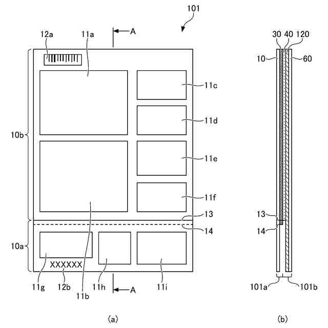
【解決手段】複写領域10aと非複写領域10bとが連接してなる上基材10と、上基材10の下面の全面に積層された発色剤層20と、発色剤層20の上基材10とは反対側の面のうち非複写領域10bに対向する領域に積層された粘着剤層30と、複写領域10aに対向する領域と非複写領域10bに対向する領域とを具備する下基材60と、下基材60の上面の全面に積層された顕色剤層50と、顕色剤層50の下基材60とは反対側の面の粘着剤層30に対向する領域に積層された剥離剤層40とを有し、上基材10の複写領域10aと非複写領域10bとのそれぞれの上面に情報記入欄が設けられるとともに、複写領域10aと非複写領域10bとの境界にスリット13が形成されている。
【選択図】図1
特許請求の範囲
【請求項1】
上側シート部と下側シート部とを有する配送伝票であって、
前記上側シート部は、
複写領域と非複写領域とが連接してなる上基材と、
前記上基材の下面の全面に積層された発色剤層と、
前記発色剤層の前記上基材とは反対側の面のうち、前記非複写領域に対向する領域と、前記複写領域の前記非複写領域に沿う領域とに積層された粘着剤層と、を有し
前記下側シート部は、
前記複写領域に対向する領域と前記非複写領域に対向する領域とを具備する下基材と、
前記下基材の上面の全面に積層された顕色剤層と、
前記顕色剤層の前記下基材とは反対側の面の前記粘着剤層に対向する領域のうち、少なくとも前記非複写領域に対向する領域に積層された剥離剤層とを有し、
前記上側シート部と前記下側シート部とが、前記粘着剤層と前記剥離剤層とによって剥離可能に貼着され、
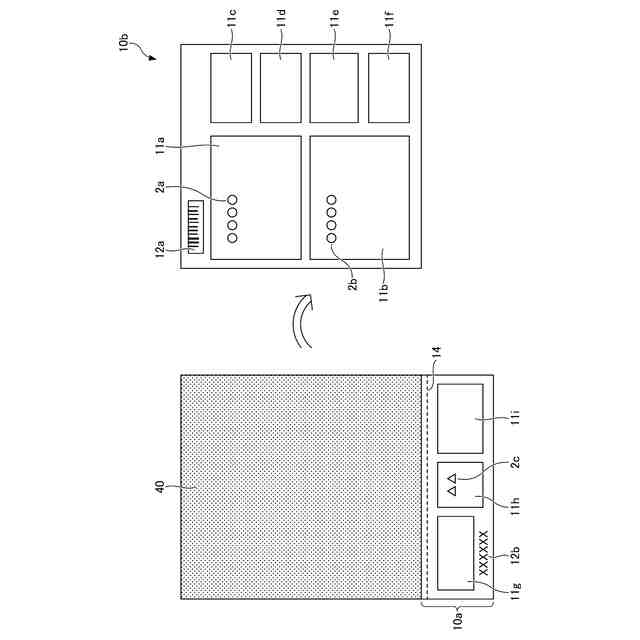
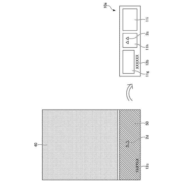
前記上側シート部は、前記上基材の前記複写領域と前記非複写領域とのそれぞれの上面に情報記入欄が設けられるとともに、前記複写領域と前記非複写領域との境界にスリットが形成されている、配送伝票。
続きを表示(約 670 文字)
【請求項2】
上側シート部と下側シート部とを有する配送伝票であって、
前記上側シート部は、
複写領域と非複写領域とが連接してなる上基材と、
前記上基材の下面のうち、前記非複写領域に対向する領域と、前記複写領域の前記非複写領域に沿う領域とに積層された粘着剤層と、を有し
前記下側シート部は、
前記複写領域に対向する領域と前記非複写領域に対向する領域とを具備する下基材と、
前記下基材の上面の全面に積層された自己発色剤層と、
前記自己発色剤層の前記下基材とは反対側の面の前記粘着剤層に対向する領域のうち、少なくとも前記非複写領域に対向する領域に積層された剥離剤層とを有し、
前記上側シート部と前記下側シート部とが、前記粘着剤層と前記剥離剤層とによって剥離可能に貼着され、
前記上側シート部は、前記上基材の前記複写領域と前記非複写領域とのそれぞれの上面に情報記入欄が設けられるとともに、前記複写領域と前記非複写領域との境界にスリットが形成されている、配送伝票。
【請求項3】
請求項1または請求項2に記載の配送伝票において、
前記上側シート部は、前記粘着剤層を含まない領域に前記スリットに並行してミシン目が形成されている、配送伝票。
【請求項4】
請求項1または請求項2に記載の配送伝票において、
前記下側シート部は、前記非複写領域に対向する領域に地紋印刷層が前記上側シート部側から視認可能に積層されている、配送伝票。
発明の詳細な説明
【技術分野】
【0001】
本発明は、配送伝票に関する。
続きを表示(約 2,500 文字)
【背景技術】
【0002】
従来より、配送物を配送するために配送物に貼付する配送伝票が用いられている。このような配送伝票においては、配送物に貼付される、いわゆる送り状に分離部を切り離し可能に連接しておき、分離部を分離した後に配送物に貼付されるものが知られている(例えば、特許文献1参照)。
【先行技術文献】
【特許文献】
【0003】
特開2014-73655号公報
【発明の概要】
【発明が解決しようとする課題】
【0004】
上述したように分離部が分離可能に構成され、分離部を分離した後に配送物に貼付される配送伝票においては、分離部を配送物の管理に用いることが考えられる。例えば、配送物の配送を受け付けた店舗と、配送物を配送する配送業者とのそれぞれにて分離部を保管しておくことが考えられる。その場合、分離部に記入された情報を、配送物の配送を受け付けた店舗と、配送物を配送する配送業者とで共有しておけば、配送物の管理の確実性が向上する。
【0005】
本発明は、記入された情報を複写することで配送物の管理の確実性を向上させることができる配送伝票を提供することを目的とする。
【課題を解決するための手段】
【0006】
上記目的を達成するために本発明は、
上側シート部と下側シート部とを有する配送伝票であって、
前記上側シート部は、
複写領域と非複写領域とが連接してなる上基材と、
前記上基材の下面の全面に積層された発色剤層と、
前記発色剤層の前記上基材とは反対側の面のうち、前記非複写領域に対向する領域と、前記複写領域の前記非複写領域に沿う領域とに積層された粘着剤層と、を有し
前記下側シート部は、
前記複写領域に対向する領域と前記非複写領域に対向する領域とを具備する下基材と、
前記下基材の上面の全面に積層された顕色剤層と、
前記顕色剤層の前記下基材とは反対側の面の前記粘着剤層に対向する領域のうち、少なくとも前記非複写領域に対向する領域に積層された剥離剤層とを有し、
前記上側シート部と前記下側シート部とが、前記粘着剤層と前記剥離剤層とによって剥離可能に貼着され、
前記上側シート部は、前記上基材の前記複写領域と前記非複写領域とのそれぞれの上面に情報記入欄が設けられるとともに、前記複写領域と前記非複写領域との境界にスリットが形成されている。
【0007】
上記のように構成された本発明においては、上側シート部の上基材の複写領域に設けられた情報記入欄に情報が記入されると、記入された情報は、発色剤層と顕色剤層とによって下側シート部に複写される。上基材の複写領域は粘着剤層により下基材に貼着されているため、その後、上基材を下基材から剥がすことにより上基材の複写領域が分離されると、情報記入欄に記入された情報が、上側シート部の分離された領域と下側シート部とのそれぞれに保持された状態となる。そのため、この2つの情報を照合等することで、配送伝票を用いた配送物の管理の確実性が向上する。また、上基材の非複写領域に設けられた情報記入欄に情報が記入された場合は、非複写領域に対向する領域においては発色剤層と顕色剤層との間に粘着剤層と剥離剤層とが介在していることで、記入された情報が下側シート部に複写されにくくなる。それにより、上側シート部が配送物に貼付されるために下側シート部から剥離された場合でも、情報記入欄に記入された情報が必要以上に拡散されなくなる。
【0008】
また、上側シート部と下側シート部とを有する配送伝票であって、
前記上側シート部は、
複写領域と非複写領域とが連接してなる上基材と、
前記上基材の下面のうち、前記非複写領域に対向する領域と、前記複写領域の前記非複写領域に沿う領域とに積層された粘着剤層と、を有し
前記下側シート部は、
前記複写領域に対向する領域と前記非複写領域に対向する領域とを具備する下基材と、
前記下基材の上面の全面に積層された自己発色剤層と、
前記自己発色剤層の前記下基材とは反対側の面の前記粘着剤層に対向する領域のうち、少なくとも前記非複写領域に対向する領域に積層された剥離剤層とを有し、
前記上側シート部と前記下側シート部とが、前記粘着剤層と前記剥離剤層とによって剥離可能に貼着され、
前記上側シート部は、前記上基材の前記複写領域と前記非複写領域とのそれぞれの上面に情報記入欄が設けられるとともに、前記複写領域と前記非複写領域との境界にスリットが形成されている構成としてもよい。
【0009】
上記のように構成された本発明においては、上側シート部の上基材の複写領域に設けられた情報記入欄に情報が記入されると、記入された情報は、自己発色剤層によって下側シート部に複写される。上基材の複写領域は粘着剤層により下基材に貼着されているため、その後、上基材を下基材から剥がすことにより上基材の複写領域が分離されると、情報記入欄に記入された情報が、上側シート部の分離された領域と下側シート部とのそれぞれに保持された状態となる。そのため、この2つの情報を照合等することで、配送伝票を用いた配送物の管理の確実性が向上する。また、上基材の非複写領域に設けられた情報記入欄に情報が記入された場合は、非複写領域に対向する領域においては上基材と自己発色剤層との間に粘着剤層と剥離剤層とが介在していることで、記入された情報が下側シート部に複写されにくくなる。それにより、上側シート部が配送物に貼付されるために下側シート部から剥離された場合でも、情報記入欄に記入された情報が必要以上に拡散されなくなる。
【0010】
また、前記上側シート部の前記粘着剤層を含まない領域に前記スリットに並行してミシン目が形成されていてもよい。
(【0011】以降は省略されています)
この特許をJ-PlatPat(特許庁公式サイト)で参照する
関連特許
個人
書籍
6か月前
個人
リフター
1か月前
個人
手帳
1か月前
個人
ノート
5か月前
個人
書類ホルダー
5か月前
個人
紙片収容保持具
8か月前
個人
ファイル
1か月前
個人
ページめくり穴
6日前
個人
ブランドハガキ
3か月前
個人
ダブルクリップ
7か月前
個人
折り曲げ式しおり
1か月前
個人
カレンダー
13日前
個人
メッセージカード
7か月前
FRC株式会社
学習ノート
5か月前
個人
吊下式カレンダー
7か月前
東洋紡株式会社
地図フィルム
10か月前
個人
脱着リーフ綴込み補助具
7か月前
個人
脱着リングノートシステム
8か月前
ネオライト工業株式会社
しおり
1か月前
株式会社リコー
綴じ装置
1か月前
ダイニック株式会社
ブッククロス
8か月前
有限会社ライト工房
起立する台紙
4か月前
個人
シート状印刷物セット
1か月前
独立行政法人 国立印刷局
潜像物
8か月前
個人
タロットカード解説書
6か月前
独立行政法人 国立印刷局
積層体
3か月前
独立行政法人 国立印刷局
積層体
3か月前
個人
冊子収容ケース
1か月前
個人
見開きアルバム立て掛け飾り具
4か月前
独立行政法人 国立印刷局
画像形成体
24日前
個人
環状具
9か月前
独立行政法人 国立印刷局
潜像画像形成体
3か月前
株式会社デュプロ
冊子作成システム
10か月前
個人
シートセット及びワークセット
2か月前
株式会社Luciaube
クリアファイル
8か月前
株式会社ユニオン産業
クリップ
8か月前
続きを見る
他の特許を見る