TOP
|
特許
|
意匠
|
商標
特許ウォッチ
Twitter
他の特許を見る
10個以上の画像は省略されています。
公開番号
2025128723
公報種別
公開特許公報(A)
公開日
2025-09-03
出願番号
2024025587
出願日
2024-02-22
発明の名称
配送伝票
出願人
TOPPANホールディングス株式会社
代理人
個人
,
個人
主分類
B42D
11/00 20060101AFI20250827BHJP(製本;アルバム;ファイル;特殊印刷物)
要約
【課題】記入された情報を複写することで配送物の管理の確実性を向上させる。
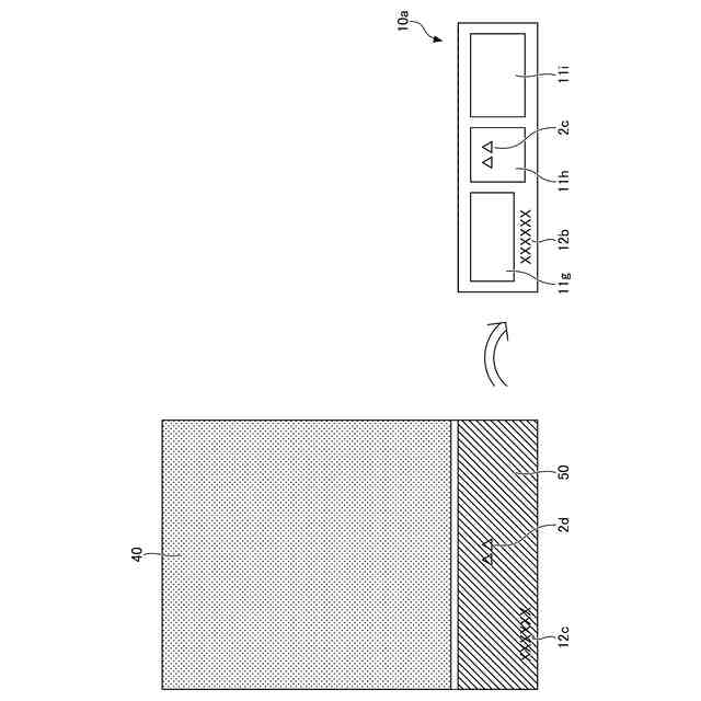
【解決手段】複写領域10aと非複写領域10bとが連接してなる上基材10と、上基材10の下面の全面に積層された発色剤層20と、発色剤層20の上基材10とは反対側の面のうち非複写領域10bに対向する領域に積層された粘着剤層30aと、複写領域10aに対向する領域と非複写領域10bに対向する領域とを具備する中基材70と、中基材70の上面の全面に積層された顕色剤層50と、中基材70の下面の全面に積層された粘着剤層30bと、複写領域10aに対向する領域と非複写領域10bに対向する領域とを具備する下基材60と、下基材60の上面の全面に積層された剥離剤層40とを有し、複写領域10aと非複写領域10bとのそれぞれの上面に情報記入欄が設けられるとともに、複写領域10aと非複写領域10bとの境界にスリット13が形成されている。
【選択図】図1
特許請求の範囲
【請求項1】
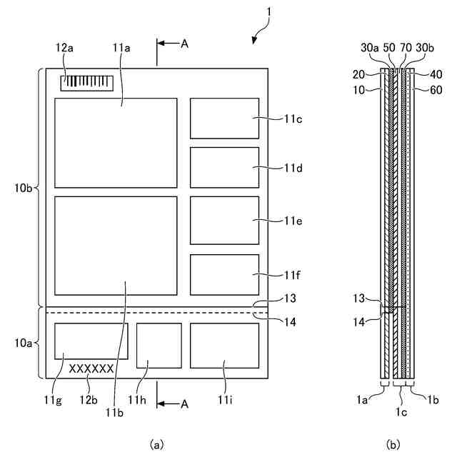
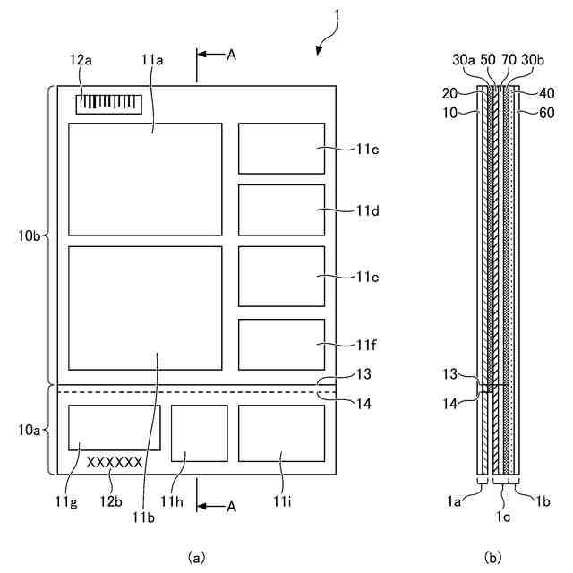
上側シート部と中間シート部と下側シート部とを有する配送伝票であって、
前記上側シート部は、
複写領域と非複写領域とが連接してなる上基材と、
前記上基材の下面の全面に積層された発色剤層とを有し、
前記下側シート部は、
前記複写領域に対向する領域と前記非複写領域に対向する領域とを具備する下基材と、
前記下基材の上面の全面に積層された剥離剤層とを有し、
前記中間シート部は、
前記複写領域に対向する領域と前記非複写領域に対向する領域とを具備する中基材と、
前記中基材の下面の全面に積層された下側粘着剤層と、
前記中基材の上面の全面に積層された顕色剤層とを有し、
前記下側シート部と前記中間シート部とが、前記下側粘着剤層と前記剥離剤層とによって剥離可能に貼着され、
前記上基材の前記発色剤層が積層された面のうち、前記非複写領域と、前記複写領域の前記非複写領域に沿う領域とが、上側粘着剤層によって前記中基材の前記顕色剤層が積層された面に貼着され、
前記上側シート部は、前記上基材の前記複写領域と前記非複写領域とのそれぞれの上面に情報記入欄が設けられ、
前記複写領域と前記非複写領域との境界に、前記上側シート部、前記上側粘着剤層及び前記中間シート部を貫通したスリットが形成されている、配送伝票。
続きを表示(約 570 文字)
【請求項2】
上側シート部と中間シート部と下側シート部とを有する配送伝票であって、
前記下側シート部は、
下基材と、
前記下基材の上面の全面に積層された剥離剤層とを有し、
前記中間シート部は、
中基材と、
前記中基材の下面の全面に積層された下側粘着剤層と、
前記中基材の上面の全面に積層された顕色剤層とを有し、
前記上側シート部は、
前記中間シート部上の一部に積層された上基材と、
前記上基材の下面の全面に積層された発色剤層とを有し、
前記下側シート部と前記中間シート部とが、前記下側粘着剤層と前記剥離剤層とによって剥離可能に貼着され、
前記上基材の前記発色剤層が積層された面が、前記中基材の前記顕色剤層が積層された面にその一部にて上側粘着剤層によって貼着され、
前記上側シート部は、前記上基材の上面の前記上側粘着剤層に重ならない領域に第1の情報記入欄が設けられ、
前記中間シート部は、前記中基材の前記顕色剤層が積層された面のうち前記上側シート部が積層されていない領域に第2の情報記入欄が設けられ、少なくとも前記第2の情報記入欄が含まれる領域を当該中間シート部から分離可能とするためのスリットが形成されている、配送伝票。
発明の詳細な説明
【技術分野】
【0001】
本発明は、配送伝票に関する。
続きを表示(約 2,700 文字)
【背景技術】
【0002】
従来より、配送物を配送するために配送物に貼付する配送伝票が用いられている。このような配送伝票においては、配送物に貼付される、いわゆる送り状に分離部を切り離し可能に連接しておき、分離部を分離した後に配送物に貼付されるものが知られている(例えば、特許文献1参照)。
【先行技術文献】
【特許文献】
【0003】
特開2014-73655号公報
【発明の概要】
【発明が解決しようとする課題】
【0004】
上述したように分離部が分離可能に構成され、分離部を分離した後に配送物に貼付される配送伝票においては、分離部を配送物の管理に用いることが考えられる。例えば、配送物の配送を受け付けた店舗と、配送物を配送する配送業者とのそれぞれにて分離部を保管しておくことが考えられる。その場合、分離部に記入された情報を、配送物の配送を受け付けた店舗と、配送物を配送する配送業者とで共有しておくことが好ましい。
【0005】
本発明は、記入された情報を複写することで配送物の管理の確実性を向上させることができる配送伝票を提供することを目的とする。
【課題を解決するための手段】
【0006】
上記目的を達成するために本発明は、
上側シート部と中間シート部と下側シート部とを有する配送伝票であって、
前記上側シート部は、
複写領域と非複写領域とが連接してなる上基材と、
前記上基材の下面の全面に積層された発色剤層とを有し、
前記下側シート部は、
前記複写領域に対向する領域と前記非複写領域に対向する領域とを具備する下基材と、
前記下基材の上面の全面に積層された剥離剤層とを有し、
前記中間シート部は、
前記複写領域に対向する領域と前記非複写領域に対向する領域とを具備する中基材と、
前記中基材の下面の全面に積層された下側粘着剤層と、
前記中基材の上面の全面に積層された顕色剤層とを有し、
前記下側シート部と前記中間シート部とが、前記下側粘着剤層と前記剥離剤層とによって剥離可能に貼着され、
前記上基材の前記発色剤層が積層された面のうち、前記非複写領域と、前記複写領域の前記非複写領域に沿う領域とが、上側粘着剤層によって前記中基材の前記顕色剤層が積層された面に貼着され、
前記上側シート部は、前記上基材の前記複写領域と前記非複写領域とのそれぞれの上面に情報記入欄が設けられ、
前記複写領域と前記非複写領域との境界に、前記上側シート部、前記上側粘着剤層及び前記中間シート部を貫通したスリットが形成されている。
【0007】
上記のように構成された本発明においては、上基材の複写領域に設けられた情報記入欄に情報が記入されると、記入された情報は、発色剤層と顕色剤層とによって中間シート部に複写される。上基材の複写領域は上側粘着剤層により中基材に貼着されているため、その後、上基材を中基材から剥がすことにより上基材の複写領域が分離されると、情報記入欄に記入された情報が、上側シート部の分離された領域と中間シート部とのそれぞれに保持された状態となる。そのため、この2つの情報を照合等することで、配送伝票を用いた配送物の管理の確実性が向上する。また、上基材の非複写領域に設けられた情報記入欄に情報が記入された場合でも、非複写領域に対向する領域においては発色剤層と顕色剤層との間に上側粘着剤層が介在していることで、記入された情報が中間シート部に複写されにくくなる。また、上側シート部と中間シート部とは上側粘着剤層によって貼着されており、上側シート部を配送物に貼付する際には、上側シート部が中間シート部とともに下側シート部から剥離されることになるので、情報記入欄に記入された情報が必要以上に拡散されなくなる。
【0008】
また、上側シート部と中間シート部と下側シート部とを有する配送伝票であって、
前記下側シート部は、
下基材と、
前記下基材の上面の全面に積層された剥離剤層とを有し、
前記中間シート部は、
中基材と、
前記中基材の下面の全面に積層された下側粘着剤層と、
前記中基材の上面の全面に積層された顕色剤層とを有し、
前記上側シート部は、
前記中間シート部上の一部に積層された上基材と、
前記上基材の下面の全面に積層された発色剤層とを有し、
前記下側シート部と前記中間シート部とが、前記下側粘着剤層と前記剥離剤層とによって剥離可能に貼着され、
前記上基材の前記発色剤層が積層された面が、前記中基材の前記顕色剤層が積層された面にその一部にて上側粘着剤層によって貼着され、
前記上側シート部は、前記上基材の上面の前記上側粘着剤層に重ならない領域に第1の情報記入欄が設けられ、
前記中間シート部は、前記中基材の前記顕色剤層が積層された面のうち前記上側シート部が積層されていない領域に第2の情報記入欄が設けられ、少なくとも前記第2の情報記入欄が含まれる領域を当該中間シート部から分離可能とするためのスリットが形成されている。
【0009】
上記のように構成された本発明においては、上基材の第1の情報記入欄に情報が記入されると、記入された情報は、発色剤層と顕色剤層とによって中間シート部に複写される。その後、上側シート部が中間シート部から剥離されると、第1の情報記入欄に記入された情報が、上側シート部と中間シート部とのそれぞれに保持された状態となる。そのため、この2つの情報を照合等することで、配送伝票を用いた配送物の管理の確実性が向上する。また、中間シート部の第2の情報記入欄に情報が記入された場合でも、記入された情報は下側シート部には複写されず、それにより、中間シート部を配送物に貼付するために中間シート部が下側シート部から剥離されても、第2の情報記入欄に記入された情報が下側シート部から必要以上に拡散されなくなる。
【発明の効果】
【0010】
本発明によれば、記入された情報を複写することで配送物の管理の確実性を向上させることができる。
【図面の簡単な説明】
(【0011】以降は省略されています)
この特許をJ-PlatPat(特許庁公式サイト)で参照する
関連特許
個人
書籍
6か月前
個人
リフター
1か月前
個人
手帳
1か月前
個人
ノート
5か月前
個人
書類ホルダー
5か月前
個人
紙片収容保持具
8か月前
個人
ファイル
1か月前
個人
ページめくり穴
4日前
個人
ブランドハガキ
3か月前
個人
ダブルクリップ
7か月前
個人
折り曲げ式しおり
1か月前
個人
カレンダー
11日前
個人
メッセージカード
6か月前
FRC株式会社
学習ノート
5か月前
個人
吊下式カレンダー
7か月前
東洋紡株式会社
地図フィルム
10か月前
個人
脱着リーフ綴込み補助具
7か月前
個人
脱着リングノートシステム
8か月前
ネオライト工業株式会社
しおり
1か月前
株式会社リコー
綴じ装置
1か月前
ダイニック株式会社
ブッククロス
8か月前
有限会社ライト工房
起立する台紙
4か月前
個人
シート状印刷物セット
1か月前
独立行政法人 国立印刷局
潜像物
8か月前
個人
タロットカード解説書
6か月前
独立行政法人 国立印刷局
積層体
3か月前
独立行政法人 国立印刷局
積層体
3か月前
個人
冊子収容ケース
1か月前
個人
見開きアルバム立て掛け飾り具
4か月前
独立行政法人 国立印刷局
画像形成体
22日前
個人
環状具
9か月前
独立行政法人 国立印刷局
潜像画像形成体
3か月前
株式会社デュプロ
冊子作成システム
10か月前
個人
シートセット及びワークセット
2か月前
株式会社Luciaube
クリアファイル
8か月前
株式会社ユニオン産業
クリップ
8か月前
続きを見る
他の特許を見る