TOP
|
特許
|
意匠
|
商標
特許ウォッチ
Twitter
他の特許を見る
10個以上の画像は省略されています。
公開番号
2025128770
公報種別
公開特許公報(A)
公開日
2025-09-03
出願番号
2024025678
出願日
2024-02-22
発明の名称
動力伝達機構
出願人
NOK株式会社
代理人
弁理士法人旺知国際特許事務所
主分類
F16D
3/12 20060101AFI20250827BHJP(機械要素または単位;機械または装置の効果的機能を生じ維持するための一般的手段)
要約
【課題】弾性部材による防振性能を維持しながら当該弾性部材の劣化を抑制する。
【解決手段】動力伝達機構は、回転可能な軸部材と、軸部材を包囲するギヤと、軸部材を包囲する内筒部30と、ギヤに固定され、内筒部30を包囲する外筒部40と、内筒部30と外筒部40との間に設置された環状の弾性部材とを具備する。内筒部30の外周面には複数の第1突起81が設置される。外筒部40の内周面には複数の第2突起82が設置される。各第1突起81と各第2突起82とは相互に間隔をあけて周方向に配列する。ギヤに動力が作用しない状態において、複数の第1突起81の各々と当該第1突起81に対して周方向C1に隣合う第2突起82との間隔D1と、第1突起81と当該第1突起81に対して周方向C1とは反対の周方向C2に隣合う第2突起82との間隔D2とは相違する。
【選択図】図2
特許請求の範囲
【請求項1】
回転可能な軸部材と、
前記軸部材を包囲するギヤと、
前記軸部材を包囲する内筒部と、
前記ギヤに固定され、前記内筒部を包囲する外筒部と、
前記内筒部と前記外筒部との間に設置された環状の弾性部材とを具備し、
前記内筒部の外周面には複数の第1突起が設置され、
前記外筒部の内周面には複数の第2突起が設置され、
前記各第1突起と前記各第2突起とは相互に間隔をあけて周方向に配列し、
前記ギヤに動力が作用しない状態において、前記複数の第1突起の各々と当該第1突起に対して第1周方向に隣合う第2突起との第1間隔と、前記第1突起と当該第1突起に対して前記第1周方向とは反対の第2周方向に隣合う第2突起との第2間隔とは相違する
動力伝達機構。
続きを表示(約 250 文字)
【請求項2】
前記第1間隔は前記第2間隔の2倍以上である
請求項1の動力伝達機構。
【請求項3】
前記内筒部が前記外筒部に対して相対的に前記第1周方向に回転する第1時間は、前記内筒部が前記外筒部に対して相対的に前記第2周方向に回転する第2時間よりも長く、
前記第1間隔は前記第2間隔を上回る
請求項1の動力伝達機構。
【請求項4】
自動車の動力源が発生した動力を伝達する機構である
請求項1から請求項3の何れかの動力伝達機構。
発明の詳細な説明
【技術分野】
【0001】
本発明は、動力伝達機構に関する。
続きを表示(約 2,200 文字)
【背景技術】
【0002】
動力源が発生した動力を伝達する動力伝達機構においては、振動を抑制する防振性能が要求される。特許文献1には、中間軸にドリブンギヤが設置された動力伝達機構にダンパを設置した構造が開示されている。ダンパは、スプライン嵌合により中間軸に固定された内筒と、ドリブンギヤに固定された外筒と、内筒と外筒との間の弾性部材とで構成される。動力が小さい状態では、弾性部材を介して動力が伝達されることで振動が吸収される。したがって、例えばギヤの歯打音を低減できる。他方、動力が大きい状態では弾性部材を介さずに動力が伝達される。
【先行技術文献】
【特許文献】
【0003】
特開2020-100271号公報
【発明の概要】
【発明が解決しようとする課題】
【0004】
しかし、動力が弾性部材を経由する状態が維持される動力の範囲が大きい構成では、弾性部材が過度に変形する結果、弾性部材が劣化し易いという問題がある。他方、動力が弾性部材を経由する状態が維持される動力の範囲が小さい構成では、弾性部材による充分な防振性能を発揮できない可能性がある。以上の事情を考慮して、本開示のひとつの態様は、弾性部材による防振性能を維持しながら当該弾性部材の劣化を抑制することを目的とする。
【課題を解決するための手段】
【0005】
以上の課題を解決するために、本開示のひとつの態様に係る動力伝達機構は、回転可能な軸部材と、前記軸部材を包囲するギヤと、前記軸部材を包囲する内筒部と、前記ギヤに固定され、前記内筒部を包囲する外筒部と、前記内筒部と前記外筒部との間に設置された環状の弾性部材とを具備し、前記内筒部の外周面には複数の第1突起が設置され、前記外筒部の内周面には複数の第2突起が設置され、前記各第1突起と前記各第2突起とは相互に間隔をあけて周方向に配列し、前記ギヤに動力が作用しない状態において、前記複数の第1突起の各々と当該第1突起に対して第1周方向に隣合う第2突起との第1間隔と、前記第1突起と当該第1突起に対して前記第1周方向とは反対の第2周方向に隣合う第2突起との第2間隔とは相違する。
【図面の簡単な説明】
【0006】
実施形態に係る動力伝達機構の断面図である。
図1におけるII-II線の断面図である。
吸振状態において動力が伝達する経路の説明図である。
係合状態において動力が伝達する経路の説明図である。
弾性部材の耐久回数と変形量との関係を例示するグラフである。
対比例における動力伝達機構の断面図である。
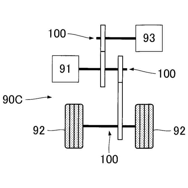
動力伝達機構を利用した自動車(内燃機関車)の構成図である。
動力伝達機構を利用した自動車(BEV)の構成図である。
動力伝達機構を利用した自動車(HEV)の構成図である。
動力伝達機構を利用した自動車(HEV)の構成図である。
動力伝達機構を利用した自動車(PHEV)の構成図である。
【発明を実施するための形態】
【0007】
本開示を実施するための形態について図面を参照して説明する。なお、各図面においては、各要素の寸法および縮尺が実際の製品とは相違する場合がある。また、以下に説明する形態は、本開示を実施する場合に想定される例示的な一形態である。したがって、本開示の範囲は、以下に例示する形態には限定されない。
【0008】
A:実施形態
図1は、本開示のひとつの実施形態に係る動力伝達機構100の断面図である。動力伝達機構100は、例えば自動車等の移動体において、内燃機関または電動機等の動力源が発生した動力を伝達する駆動機構(例えば変速機または差動装置等)に利用される。図1に例示される通り、動力伝達機構100は、軸部材10とギヤ部材20と内筒部30と外筒部40と弾性部材50と取付環60とを具備する。なお、動力伝達機構100は、例えば1個以上の軸部材を含むギヤユニットを構成するが、本実施形態においては、当該ギヤユニットのうち1個の軸部材10に関連する部分に便宜的に着目する。
【0009】
なお、以下の説明においては、軸部材10の回転軸Xに沿う方向を軸方向Zと表記する。軸方向Zは、軸方向Z1と軸方向Z2とに区別される。軸方向Z1は、回転軸Xに沿う一方向であり、軸方向Z2は、軸方向Z1とは反対の方向である。また、回転軸Xを中心とした任意の直径の仮想円における円周に沿う方向を周方向Cと表記し、当該仮想円の半径の方向を「径方向」と表記する。径方向において回転軸Xに向かう方向を「内側」と表記し、回転軸Xとは反対に向かう方向を「外側」と表記する。
【0010】
軸部材10は、回転軸Xを中心として回転可能な円柱状のシャフトである。軸部材10は、例えば相互に間隔をあけて設置された玉軸受71と玉軸受72とにより支持される。軸部材10は、第1部分11と第2部分12とを含む。第1部分11は、第2部分12の軸方向Z1に位置する部分である。第1部分11は第2部分12よりも小径である。
(【0011】以降は省略されています)
この特許をJ-PlatPat(特許庁公式サイト)で参照する
関連特許
NOK株式会社
密封構造
2日前
NOK株式会社
ガスケット
25日前
NOK株式会社
遊星歯車機構
8日前
NOK株式会社
セルユニット
25日前
NOK株式会社
セルユニット
25日前
NOK株式会社
セルユニット
25日前
NOK株式会社
密封装置および密封構造
3日前
NOK株式会社
成形型、ガスケットの製造方法およびガスケット
3日前
NOK株式会社
熱劣化判定方法、熱履歴推定方法、熱劣化判定装置、熱履歴推定装置
14日前
NOK株式会社
密封装置、密封構造、密封構造の組み付け方法
2日前
NOK株式会社
バッテリー用緩衝材、バッテリー、およびバッテリー用緩衝材の弾性部材が発生させるガスを管理する方法
21日前
東ソー株式会社
バイオマス由来の塩素化ポリエチレン
9日前
個人
留め具
10日前
個人
鍋虫ねじ
1か月前
個人
ホース保持具
6か月前
個人
紛体用仕切弁
1か月前
個人
回転伝達機構
2か月前
個人
差動歯車用歯形
4か月前
個人
ジョイント
1か月前
個人
給排気装置
17日前
株式会社不二工機
電磁弁
3か月前
個人
ナット
1か月前
個人
地震の揺れ回避装置
3か月前
株式会社不二工機
電磁弁
5か月前
個人
吐出量監視装置
1か月前
カヤバ株式会社
緩衝器
16日前
カヤバ株式会社
緩衝器
3か月前
柿沼金属精機株式会社
分岐管
2か月前
カヤバ株式会社
ダンパ
4か月前
カヤバ株式会社
緩衝器
3か月前
カヤバ株式会社
ダンパ
4か月前
日東電工株式会社
断熱材
6か月前
個人
固着具と固着具の固定方法
5か月前
個人
固着具と固着具の固定方法
5か月前
株式会社不二工機
電動弁
17日前
個人
固着具と固着具の固定方法
5か月前
続きを見る
他の特許を見る