TOP
|
特許
|
意匠
|
商標
特許ウォッチ
Twitter
他の特許を見る
10個以上の画像は省略されています。
公開番号
2025139985
公報種別
公開特許公報(A)
公開日
2025-09-29
出願番号
2024039103
出願日
2024-03-13
発明の名称
セルユニット
出願人
NOK株式会社
代理人
弁理士法人NYTパートナーズ
主分類
C25B
9/00 20210101AFI20250919BHJP(電気分解または電気泳動方法;そのための装置)
要約
【課題】流体の混合を回避することができるセルユニットを提供する。
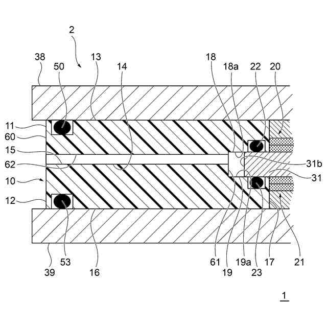
【解決手段】セルユニット2は、互いに背向する第1面13及び第2面16を規定する基材10と、前記第1面13から前記第2面16まで前記基材10を貫通する孔17と、前記孔17内に配置されて、前記孔17を、前記第1面13側の第1空間20と前記第2面16側の第2空間21とに仕切る膜31と、前記第1面13及び前記第2面16を接続する前記基材の外周面60から、前記膜31の外端31bに対向する前記基材10の内周面61まで連通する連通路62と、を備える。
【選択図】図8
特許請求の範囲
【請求項1】
互いに背向する第1面及び第2面を規定する基材と、
前記第1面から前記第2面まで前記基材を貫通する孔と、
前記孔内に配置されて、前記孔を、前記第1面側の第1空間と前記第2面側の第2空間とに仕切る膜と、
前記第1面及び前記第2面を接続する前記基材の外周面から、前記膜の外端に対向する前記基材の内周面まで連通する連通路と、を備える、セルユニット。
続きを表示(約 630 文字)
【請求項2】
前記基材は、
前記第1面と、前記第1面に背向する第3面と、を規定する第1板材と、
前記第2面と、前記第2面に背向する第4面と、を規定し、前記第4面で前記第1板材の前記第3面に重ね合わせられることによって前記第1板材ととともに前記基材を形成する第2板材と、を備え、
前記連通路は、前記第1板材の前記第3面に形成される、又は、前記第2板材の前記第4面に形成される、又は、前記第1板材の前記第3面及び前記第2板材の前記第4面に形成される、請求項1に記載のセルユニット。
【請求項3】
前記第1板材と前記膜との間に配置されて、前記第1空間を囲む第1ガスケットを備える、請求項2に記載のセルユニット。
【請求項4】
前記第2板材と前記膜との間に配置されて、前記第2空間を囲む第2ガスケットを備える、請求項3に記載のセルユニット。
【請求項5】
前記第1ガスケットは、前記第1面に沿った方向において前記第2ガスケットに対してずれて配置されている、請求項4に記載のセルユニット。
【請求項6】
複数の前記連通路を備える、請求項1に記載のセルユニット。
【請求項7】
前記基材は樹脂材料から形成される、請求項1に記載のセルユニット。
【請求項8】
前記膜は、水電解装置又は燃料電池に組み込まれる電解質膜である、請求項1に記載のセルユニット。
発明の詳細な説明
【技術分野】
【0001】
本発明は、セルユニットに関する。
続きを表示(約 1,000 文字)
【背景技術】
【0002】
例えば特許文献1には、水電解装置が開示されている。この水電解装置では、電気の力を利用して水を酸素と水素とに分解することによって水素が生成される。
【先行技術文献】
【特許文献】
【0003】
特開2012-117140号公報
【発明の概要】
【発明が解決しようとする課題】
【0004】
電解膜で隔てられたカソード側及びアノード側でそれぞれ水素と酸素とが生成される。セルスタックの電界効率の低下や焼損等をまねくおそれがあるので、水素と酸素との混合は回避する必要がある。
【0005】
本発明は、上述した課題に鑑みてなされたものであり、流体の混合を回避することができるセルユニットを提供することを目的とする。
【課題を解決するための手段】
【0006】
本発明の一態様に係るセルユニットは、互いに背向する第1面及び第2面を規定する基材と、前記第1面から前記第2面まで前記基材を貫通する孔と、前記孔内に配置されて、前記孔を、前記第1面側の第1空間と前記第2面側の第2空間とに仕切る膜と、前記第1面及び前記第2面を接続する前記基材の外周面から、前記膜の外端に対向する前記基材の内周面まで連通する連通路と、を備える。
【0007】
本発明の一態様に係るセルユニットでは、前記基材は、前記第1面と、前記第1面に背向する第3面と、を規定する第1板材と、前記第2面と、前記第2面に背向する第4面と、を規定し、前記第4面で前記第1板材の前記第3面に重ね合わせられることによって前記第1板材ととともに前記基材を形成する第2板材と、を備え、前記連通路は、前記第1板材の前記第3面に形成される、又は、前記第2板材の前記第4面に形成される、又は、前記第1板材の前記第3面及び前記第2板材の前記第4面に形成される。
【0008】
本発明の一態様に係るセルユニットは、前記第1板材と前記膜との間に配置されて、前記第1空間を囲む第1ガスケットを備える。
【0009】
本発明の一態様に係るセルユニットが、前記第2板材と前記膜との間に配置されて、前記第2空間を囲む第2ガスケットを備える。
【0010】
本発明の一態様に係るセルユニットでは、前記第1ガスケットは、前記第1面に沿った方向において前記第2ガスケットに対してずれて配置されている。
(【0011】以降は省略されています)
この特許をJ-PlatPat(特許庁公式サイト)で参照する
関連特許
NOK株式会社
密封装置
1か月前
NOK株式会社
混練装置
4日前
NOK株式会社
ガスケット
4日前
NOK株式会社
ガスケット
7日前
NOK株式会社
吸音構造体
1か月前
NOK株式会社
セルユニット
4日前
NOK株式会社
セルユニット
4日前
NOK株式会社
セルユニット
4日前
NOK株式会社
セルユニット
4日前
NOK株式会社
動力伝達機構
1か月前
NOK株式会社
樹脂ゴム複合体
1か月前
NOK株式会社
トーショナルダンパ
2か月前
NOK株式会社
密封装置および密封構造
1か月前
NOKクリューバー株式会社
潤滑グリース組成物
22日前
NOK株式会社
導電性摺動部材、密封装置、密封装置の製造方法
1か月前
NOK株式会社
バッテリー用緩衝材、バッテリー、およびバッテリー用緩衝材の弾性部材が発生させるガスを管理する方法
今日
有限会社 ナプラ
端子
1か月前
株式会社カネカ
電解装置
1か月前
株式会社ノーリツ
電解水生成装置
1か月前
SMD株式会社
めっき処理装置
1か月前
株式会社カネカ
可撓性ガス拡散電極
4日前
本田技研工業株式会社
電解装置
15日前
大同特殊鋼株式会社
触媒合金
1か月前
株式会社東芝
アルマイト処理方法
24日前
一般財団法人電力中央研究所
電解反応装置
今日
本田技研工業株式会社
水電解スタック
今日
本田技研工業株式会社
水電解システム
1か月前
本田技研工業株式会社
水電解システム
28日前
本田技研工業株式会社
水電解システム
1か月前
トヨタ自動車株式会社
水電解スタック
1か月前
本田技研工業株式会社
CO2電解装置
今日
本田技研工業株式会社
電気化学スタック
23日前
本田技研工業株式会社
電解セルの製造方法
8日前
株式会社SOKEN
電解セル
1か月前
株式会社村田製作所
電子部品及びその製造方法
1か月前
NOK株式会社
セルユニット
4日前
続きを見る
他の特許を見る