TOP
|
特許
|
意匠
|
商標
特許ウォッチ
Twitter
他の特許を見る
10個以上の画像は省略されています。
公開番号
2025128785
公報種別
公開特許公報(A)
公開日
2025-09-03
出願番号
2024025704
出願日
2024-02-22
発明の名称
物品搬送用自転車
出願人
船井電機株式会社
代理人
個人
,
個人
主分類
B62J
9/27 20200101AFI20250827BHJP(鉄道以外の路面車両)
要約
【課題】前輪とハンドルとの間に収容部がある場合に、収容部から物品を取り出す際の運転者の負担を軽減することが可能な物品搬送用自転車を提供する。
【解決手段】この物品搬送用自転車100は、物品50または収容部1を昇降させることにより、物品50を鉛直方向に移動させる昇降駆動部3を備える。
【選択図】図3
特許請求の範囲
【請求項1】
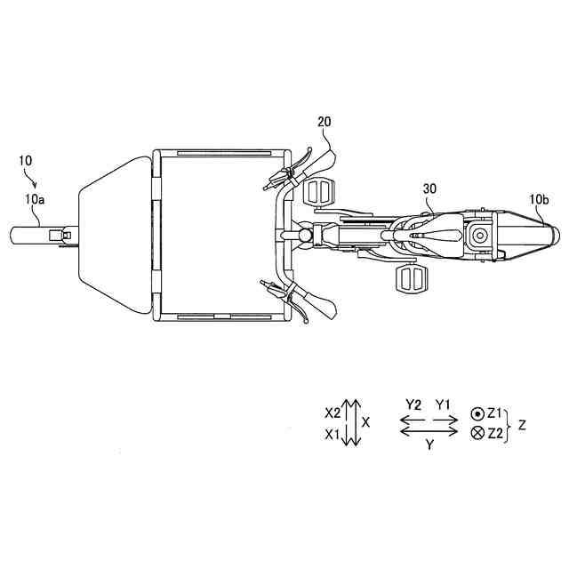
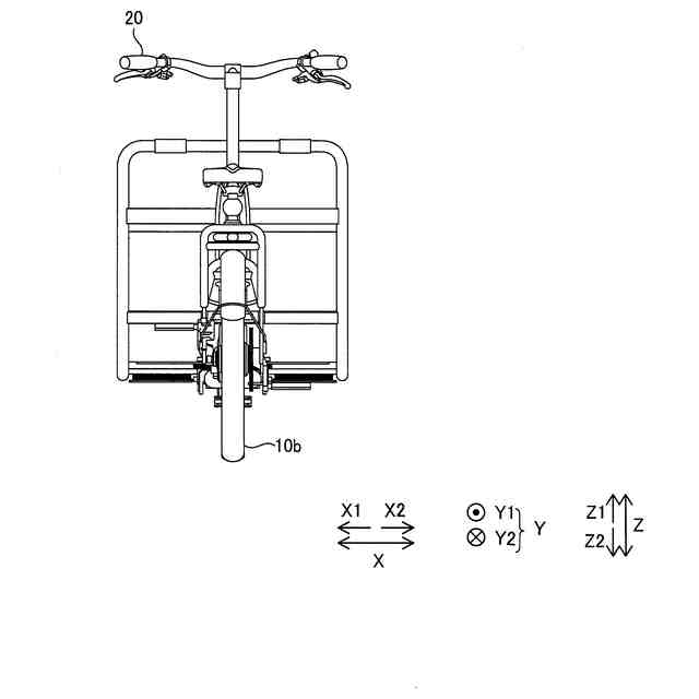
物品が収容される収容部と、
前輪および後輪を含む車輪と、ハンドルとが取り付けられ、前記前輪と前記ハンドルとの間に前記収容部を支持する支持部が設けられるフレーム部と、
前記物品または前記収容部を昇降させることにより、前記物品を鉛直方向に移動させる昇降駆動部と、を備える、物品搬送用自転車。
続きを表示(約 1,100 文字)
【請求項2】
前記昇降駆動部は、空気によって拡大または縮小することにより、前記物品および前記収容部の少なくとも一方を空気圧によって鉛直方向に移動させるエアジャッキと、空気を供給することにより前記エアジャッキを拡大させるポンプとを含む、請求項1に記載の物品搬送用自転車。
【請求項3】
前記前輪または前記後輪のうち少なくとも一方に取り付けられ、取り付けられた前記前輪または前記後輪の回転をアシストするモータと、前記モータに電力を供給するバッテリーと、を含むアシスト機構をさらに備え、
前記物品を鉛直方向に移動させる前記昇降駆動部は、前記アシスト機構の前記バッテリーにより駆動するように構成されている、請求項1に記載の物品搬送用自転車。
【請求項4】
前記物品を鉛直方向に移動させる前記昇降駆動部は、前記フレーム部の前記支持部と前記収容部との間に配置され、前記収容部を昇降させることにより、前記物品を鉛直方向に移動させる第1昇降駆動部である、請求項1に記載の物品搬送用自転車。
【請求項5】
前記物品を鉛直方向に移動させる前記昇降駆動部は、前記フレーム部の前記支持部の下方に配置されるとともに、前方から見て物品搬送用自転車本体の中心に対して左側および右側に複数配置される第2昇降駆動部を含み、
前記複数の第2昇降駆動部を地面に接触させた状態において、物品搬送用自転車の停止状態を維持するように構成されている、請求項1に記載の物品搬送用自転車。
【請求項6】
前記物品を鉛直方向に移動させる前記昇降駆動部は、前記第2昇降駆動部の下方に設置されるとともに、前方から見て物品搬送用自転車本体の中心に対して左側および右側に複数配置される第3昇降駆動部を含み、
前記左側および右側に配置された前記複数の第3昇降駆動部のうち一方の前記第3昇降駆動部によって前記物品搬送用自転車本体を上昇することにより、前記収容部を傾斜させるように構成されている、請求項5に記載の物品搬送用自転車。
【請求項7】
前記昇降駆動部は、前記収容部の内底面に配置され、前記収容部内の前記物品を昇降させる第4昇降駆動部である、請求項1に記載の物品搬送用自転車。
【請求項8】
前記収容部の内部の上面に配置され、空気によって膨張することにより前記収容部内での前記物品の移動を規制する膨張部をさらに備える、請求項2に記載の物品搬送用自転車。
【請求項9】
前記収容部の底面と前記昇降駆動部との間に配置され、物品搬送用自転車本体の左右方向に前記収容部をスライド可能に構成されている可動板をさらに備える、請求項1に記載の物品搬送用自転車。
発明の詳細な説明
【技術分野】
【0001】
この発明は、物品搬送用自転車に関する。
続きを表示(約 1,700 文字)
【背景技術】
【0002】
従来、物品搬送用自転車が開示されている(たとえば、特許文献1参照)。
【0003】
上記特許文献1には、フレームと、フレームの後部に配置される後輪と、後輪よりも後方に配置される荷物搬送用台車と、フレームと荷物搬送用台車とを接続する接続部とを備える車両(自転車)が開示されている。特許文献1では、荷物搬送用台車は、荷物を積載する積載部と、積載部を支持する車輪とを含んでいる。
【先行技術文献】
【特許文献】
【0004】
特開2015-63299号公報
【発明の概要】
【発明が解決しようとする課題】
【0005】
ここで、上記特許文献1には開示されていないが、荷物(物品)を搬送する物品搬送用自転車としては、荷物搬送用台車に代えて、物品を収容する収容部をフレームの前輪とハンドルとの間に設ける物品搬送用自転車が知られている。収容部をフレームの前輪とハンドルとの間に設ける場合、運転者の視界を遮らないように、比較的低い位置に設けられる場合がある。また、重量の大きい物品を収容する収容部が高い位置にあると重心位置が高くなり、安定性が悪いため、重心の位置を下げて車両の安定化を図るために、収容部が比較的低い位置に設けられる場合がある。この場合、収容部の設ける位置が低いことに起因して、収容部から物品を取り出す場合に低い位置から持ち上げる必要があるため、運転者に負担がかかるという問題点がある。
【0006】
この発明は、上記のような課題を解決するためになされたものであり、この発明の1つの目的は、前輪とハンドルとの間に収容部がある場合に、収容部から物品を取り出す際の運転者の負担を軽減することが可能な物品搬送用自転車を提供することである。
【課題を解決するための手段】
【0007】
上記目的を達成するために、この発明の一の局面による物品搬送用自転車は、物品が収容される収容部と、前輪および後輪を含む車輪と、ハンドルとが取り付けられ、前輪とハンドルとの間に収容部を支持する支持部が設けられるフレーム部と、物品または収容部を昇降させることにより、物品を鉛直方向に移動させる昇降駆動部と、を備える。
【0008】
この発明の一の局面による物品搬送用自転車では、上記のように、物品または収容部を昇降させることにより、物品を鉛直方向に移動させる昇降駆動部を備える。これによって、前輪とハンドルとの間に収容部がある場合に、物品または収容部を鉛直方向に移動させることにより、運転者が収容部から物品を取り出しやすい高さに物品または収容部を上昇させることができるため、低い位置から物品を持ち上げる必要がない。この結果、前輪とハンドルとの間に収容部がある場合に、収容部から物品を取り出す際の運転者の負担を軽減することができる。
【0009】
上記一の局面による物品搬送用自転車において、好ましくは、物品を鉛直方向に移動させる昇降駆動部は、空気によって拡大または縮小することにより、物品および収容部の少なくとも一方を空気圧によって鉛直方向に移動させるエアジャッキと、空気を供給することによりエアジャッキを拡大させるポンプとを含む。このように構成すれば、ポンプからエアジャッキに供給する空気量を調整することにより、運転者が物品を取り出しやすい位置に容易に上昇させることができる。
【0010】
上記一の局面による物品搬送用自転車において、好ましくは、前輪または後輪のうち少なくとも一方に取り付けられ、取り付けられた前輪または後輪の回転をアシストするモータと、モータに電力を供給するバッテリーと、を含むアシスト機構をさらに備え、物品を鉛直方向に移動させる昇降駆動部は、アシスト機構のバッテリーにより駆動するように構成されている。このように構成すれば、物品搬送用自転車のアシスト機構のバッテリーと昇降駆動部に電力を供給するバッテリーとを共通にすることにより、部品点数の増加を抑制することができるとともに、物品搬送用自転車の構造を簡素化することができる。
(【0011】以降は省略されています)
この特許をJ-PlatPat(特許庁公式サイト)で参照する
関連特許
船井電機株式会社
車両
1か月前
船井電機株式会社
電動器具
2か月前
船井電機株式会社
車両の設計方法
3日前
船井電機株式会社
物品搬送用自転車
1か月前
船井電機株式会社
物品搬送用自転車
1か月前
個人
カート
3か月前
個人
走行装置
3か月前
個人
乗り物
4か月前
個人
電動走行車両
3か月前
個人
折り畳み自転車
10か月前
個人
発音装置
7か月前
個人
閂式ハンドル錠
3か月前
個人
駐輪設備
1か月前
個人
電動モビリティ
7か月前
個人
ボギー・フレーム
1か月前
個人
自転車用傘捕捉具
11か月前
個人
“zen-go.”
2か月前
個人
自由方向乗車自転車
7か月前
個人
体重掛けリフト台車
10か月前
個人
ルーフ付きトライク
2か月前
個人
ルーフ付きトライク
1か月前
個人
パワーアシスト自転車
1か月前
個人
アタッチメント
11か月前
個人
自転車用荷物台
10か月前
個人
キャンピングトライク
8か月前
個人
ステアリングの操向部材
8か月前
株式会社CPM
駐輪機
11か月前
株式会社豊田自動織機
産業車両
4か月前
個人
フロントフットブレーキ。
3か月前
株式会社三五
リアサブフレーム
10か月前
個人
ホイールハブ駆動構造
4か月前
個人
乗用自動車のディフューザー
10日前
ヤマハ発動機株式会社
車両
11か月前
豊田鉄工株式会社
小型車両
2か月前
ヤマハ発動機株式会社
車両
11か月前
ヤマハ発動機株式会社
車両
11か月前
続きを見る
他の特許を見る