TOP
|
特許
|
意匠
|
商標
特許ウォッチ
Twitter
他の特許を見る
公開番号
2025129088
公報種別
公開特許公報(A)
公開日
2025-09-04
出願番号
2024026065
出願日
2024-02-23
発明の名称
電子写真機器用現像ロール
出願人
住友理工株式会社
代理人
個人
主分類
G03G
15/08 20060101AFI20250828BHJP(写真;映画;光波以外の波を使用する類似技術;電子写真;ホログラフイ)
要約
【課題】表層が低電気抵抗で耐摩耗性に優れるとともに均一性にも優れ、長期にわたって画像に優れる電子写真機器用現像ロールを提供する。
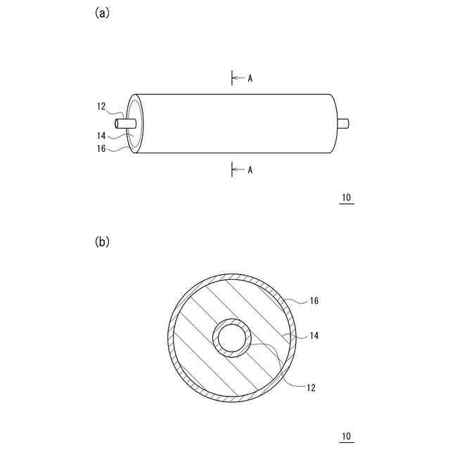
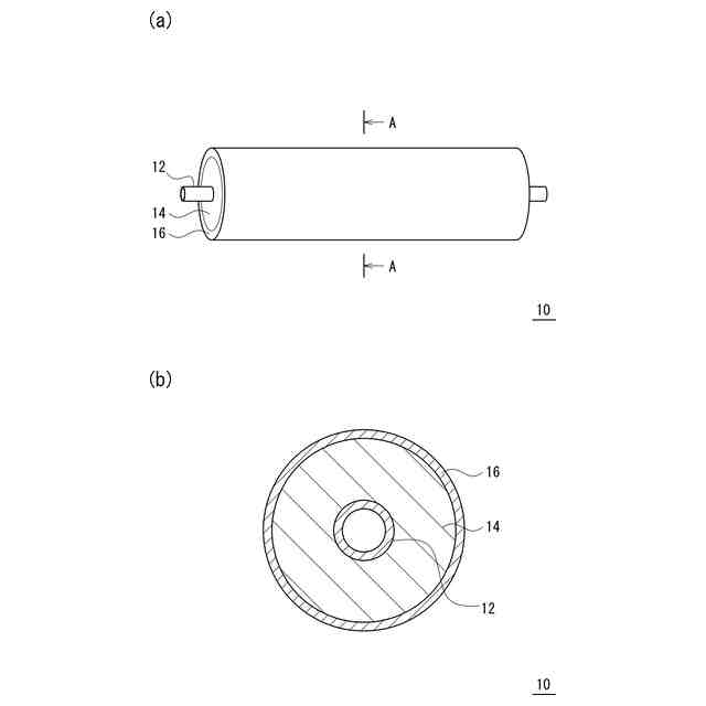
【解決手段】軸体12と、軸体12の外周面上に形成された弾性体層14と、弾性体層14の外周面上に形成された表層16と、を備え、弾性体層14が、シリコーンゴムを含むシリコーン基材で構成され、表層16が、下記の(A)および(B)から構成されるウレタンプレポリマーと、下記の(C)~(E)と、を含む組成物の架橋体で構成され、表層16の破断応力が、30MPa以上である、電子写真機器用現像ロール10とする。
(A)芳香族系イソシアネート
(B)カプロラクトン系ポリオールまたはカーボネート系ポリオール
(C)カーボンブラック
(D)分子内に親水基およびシリコーン基を含む(メタ)アクリル系ポリマー
(E)イソシアヌレート
【選択図】図1
特許請求の範囲
【請求項1】
軸体と、前記軸体の外周面上に形成された弾性体層と、前記弾性体層の外周面上に形成された表層と、を備え、
前記弾性体層が、シリコーンゴムを含むシリコーン基材で構成され、
前記表層が、下記の(A)および(B)から構成されるウレタンプレポリマーと、下記の(C)~(E)と、を含む組成物の架橋体で構成され、
前記表層の破断応力が、30MPa以上である、電子写真機器用現像ロール。
(A)芳香族系イソシアネート
(B)カプロラクトン系ポリオールまたはカーボネート系ポリオール
(C)カーボンブラック
(D)分子内に親水基およびシリコーン基を含む(メタ)アクリル系ポリマー
(E)イソシアヌレート
続きを表示(約 1,000 文字)
【請求項2】
前記ウレタンプレポリマーの重量平均分子量Mwが、10万以上30万以下である、請求項1に記載の電子写真機器用現像ロール。
【請求項3】
前記(A)が、ジフェニルメタンジイソシアネートである、請求項1または請求項2に記載の電子写真機器用現像ロール。
【請求項4】
前記(C)の含有量が、前記ウレタンプレポリマー100質量部に対し、10質量部以上35質量部以下である、請求項1または請求項2に記載の電子写真機器用現像ロール。
【請求項5】
前記(D)の含有量が、前記ウレタンプレポリマー100質量部に対し、1.0質量部以上20質量部以下である、請求項1または請求項2に記載の電子写真機器用現像ロール。
【請求項6】
前記(E)の含有量が、前記ウレタンプレポリマー100質量部に対し、1.0質量部以上40質量部以下である、請求項1または請求項2に記載の電子写真機器用現像ロール。
【請求項7】
前記表層の電気抵抗が、1.0×10
3
Ω以上1.0×10
6
Ω以下である、請求項1または請求項2に記載の電子写真機器用現像ロール。
【請求項8】
前記(D)の親水基が、アミノ基またはヒドロキシ基である、請求項1または請求項2に記載の電子写真機器用現像ロール。
【請求項9】
前記表層が、さらに、芳香環を有するカーボンブラック分散剤を含む、請求項1または請求項2に記載の電子写真機器用現像ロール。
【請求項10】
前記ウレタンプレポリマーの重量平均分子量Mwが、10万以上30万以下であり、
前記(A)が、ジフェニルメタンジイソシアネートであり、
前記(C)の含有量が、前記ウレタンプレポリマー100質量部に対し、10質量部以上35質量部以下であり、
前記(D)の含有量が、前記ウレタンプレポリマー100質量部に対し、1.0質量部以上20質量部以下であり、
前記(E)の含有量が、前記ウレタンプレポリマー100質量部に対し、1.0質量部以上40質量部以下であり、
前記表層の電気抵抗が、1.0×10
3
Ω以上1.0×10
6
Ω以下であり、
前記(D)の親水基が、アミノ基またはヒドロキシ基であり、
前記表層が、さらに、芳香環を有するカーボンブラック分散剤を含む、請求項1に記載の電子写真機器用現像ロール。
発明の詳細な説明
【技術分野】
【0001】
本発明は、電子写真方式を採用する複写機、プリンター、ファクシミリなどの電子写真機器において好適に用いられる電子写真機器用現像ロールに関するものである。
続きを表示(約 1,700 文字)
【背景技術】
【0002】
電子写真機器の現像ロールは、芯金などで構成される軸体と、軸体の外周面上に形成された弾性体層と、弾性体層の外周面上に形成された表層と、を有する構成が知られている。表層は、導電剤を含むウレタン材料などで形成されている。導電剤としては、カーボンブラックなどが用いられている。
【先行技術文献】
【特許文献】
【0003】
特開2001-310998号公報
【発明の概要】
【発明が解決しようとする課題】
【0004】
現像ロールの表層にカーボンブラックが多く含まれることで、表層は低電気抵抗となり、画像が良好になる。その一方で、表層は脆くなり、摩耗しやすくなって耐久性が悪化する。このため、表層において、低電気抵抗と強度の両立が課題である。また、表層の電気抵抗は、表層の均一性にも影響を受ける。表層が均一であることで、表層の電気抵抗や荷電性が安定し、画像が良好になる。したがって、表層の均一性も重要である。
【0005】
本発明が解決しようとする課題は、表層が低電気抵抗で耐摩耗性に優れるとともに均一性にも優れ、長期にわたって画像に優れる電子写真機器用現像ロールを提供することにある。
【課題を解決するための手段】
【0006】
本発明に係る電子写真機器用現像ロールは、軸体と、前記軸体の外周面上に形成された弾性体層と、前記弾性体層の外周面上に形成された表層と、を備え、前記弾性体層が、シリコーンゴムを含むシリコーン基材で構成され、前記表層が、下記の(A)および(B)から構成されるウレタンプレポリマーと、下記の(C)~(E)と、を含む組成物の架橋体で構成され、前記表層の破断応力が、30MPa以上である。
(A)芳香族系イソシアネート
(B)カプロラクトン系ポリオールまたはカーボネート系ポリオール
(C)カーボンブラック
(D)分子内に親水基およびシリコーン基を含む(メタ)アクリル系ポリマー
(E)イソシアヌレート
【0007】
前記ウレタンプレポリマーの重量平均分子量Mwは、10万以上30万以下であるとよい。前記(A)は、ジフェニルメタンジイソシアネートであるとよい。前記(C)の含有量は、前記ウレタンプレポリマー100質量部に対し、10質量部以上35質量部以下であるとよい。前記(D)の含有量は、前記ウレタンプレポリマー100質量部に対し、1.0質量部以上20質量部以下であるとよい。前記(E)の含有量は、前記ウレタンプレポリマー100質量部に対し、1.0質量部以上40質量部以下であるとよい。前記表層の電気抵抗は、1.0×10
3
Ω以上1.0×10
6
Ω以下であるとよい。前記(D)の親水基は、アミノ基またはヒドロキシ基であるとよい。前記表層は、さらに、芳香環を有するカーボンブラック分散剤を含むとよい。
【0008】
(1)本発明に係る電子写真機器用現像ロールは、軸体と、前記軸体の外周面上に形成された弾性体層と、前記弾性体層の外周面上に形成された表層と、を備え、前記弾性体層が、シリコーンゴムを含むシリコーン基材で構成され、前記表層が、下記の(A)および(B)から構成されるウレタンプレポリマーと、下記の(C)~(E)と、を含む組成物の架橋体で構成され、前記表層の破断応力が、30MPa以上である。
(A)芳香族系イソシアネート
(B)カプロラクトン系ポリオールまたはカーボネート系ポリオール
(C)カーボンブラック
(D)分子内に親水基およびシリコーン基を含む(メタ)アクリル系ポリマー
(E)イソシアヌレート
【0009】
(2)上記(1)において、前記ウレタンプレポリマーの重量平均分子量Mwは、10万以上30万以下であるとよい。
【0010】
(3)上記(1)または上記(2)において、前記(A)は、ジフェニルメタンジイソシアネートであるとよい。
(【0011】以降は省略されています)
この特許をJ-PlatPat(特許庁公式サイト)で参照する
関連特許
住友理工株式会社
断熱材
24日前
住友理工株式会社
断熱材
1か月前
住友理工株式会社
圧力センサ
3日前
住友理工株式会社
仕切り部材
3日前
住友理工株式会社
シール部材
4日前
住友理工株式会社
摩擦ダンパ
14日前
住友理工株式会社
防振ゴム部材
3日前
住友理工株式会社
被覆金属物品
1か月前
住友理工株式会社
筒型防振装置
5日前
住友理工株式会社
防振ゴム部材
3日前
住友理工株式会社
生体振動センサ
1か月前
住友理工株式会社
冷却用熱交換器
1か月前
住友理工株式会社
冷却用熱交換器
4日前
住友理工株式会社
断熱材の製造方法
1か月前
住友理工株式会社
筒型モータマウント
12日前
住友理工株式会社
口腔用圧力センサシート
1か月前
住友理工株式会社
電子写真機器用帯電ロール
5日前
住友理工株式会社
電子写真機器用現像ロール
1か月前
住友理工株式会社
電子写真機器用帯電ロール
5日前
住友理工株式会社
電池モジュール用緩衝シート
3日前
住友理工株式会社
ラテックス組成物の評価方法
3日前
住友理工株式会社
制振ストッパー及び自動倉庫のラック
1か月前
住友理工株式会社
シート用振動低減装置および乗員状態推定システム
3日前
住友理工株式会社
建造物用ゴム製品の補修工法および建造物用ゴム製品
4日前
住友理工株式会社
押出成形用ゴム組成物、ホース、およびホースの製造方法
3日前
住友理工株式会社
咬合力センサシート
24日前
株式会社シグマ
絞りユニット
25日前
平和精機工業株式会社
雲台
1か月前
日本精機株式会社
車両用投射装置
4日前
キヤノン株式会社
撮像装置
24日前
キヤノン株式会社
撮像装置
1か月前
キヤノン株式会社
撮像装置
18日前
株式会社リコー
画像形成装置
2か月前
株式会社リコー
画像形成装置
1か月前
株式会社リコー
画像形成装置
2か月前
株式会社リコー
画像形成装置
14日前
続きを見る
他の特許を見る