TOP
|
特許
|
意匠
|
商標
特許ウォッチ
Twitter
他の特許を見る
公開番号
2025135359
公報種別
公開特許公報(A)
公開日
2025-09-18
出願番号
2024033162
出願日
2024-03-05
発明の名称
絞りユニット
出願人
株式会社シグマ
代理人
主分類
G03B
9/06 20210101AFI20250910BHJP(写真;映画;光波以外の波を使用する類似技術;電子写真;ホログラフイ)
要約
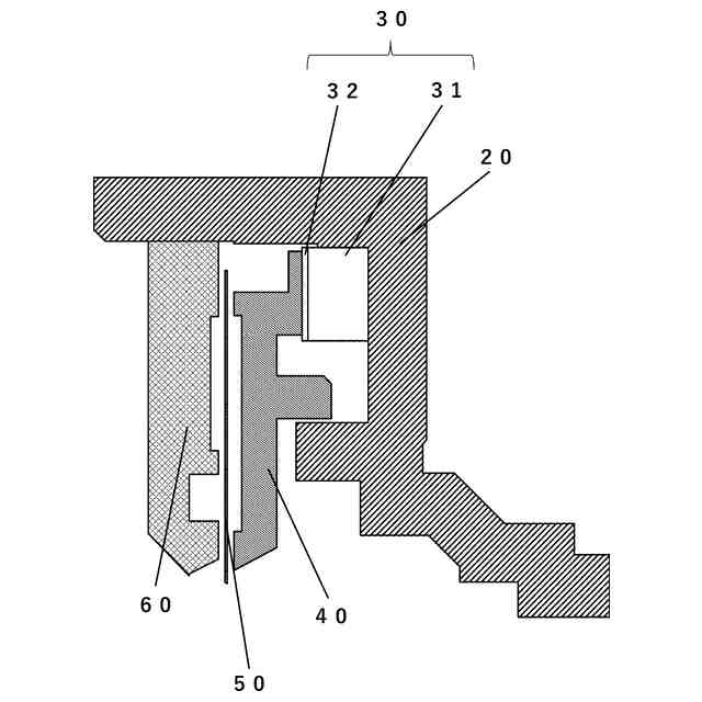
【課題】生産性に優れ、種々の大きさの絞りユニットに適用可能であり、高速で絞りの開閉を行う場合を考慮しつつもダイヤフラムのガタつきを抑える付勢手段を有する絞りユニットを提供する。
【解決手段】本発明に係る絞りユニットは、光路開口の口径を変化させる複数の絞り羽根と、絞り羽根を開閉動作させるために回動する回動部材と、回動部材を回動可能に支持するハウジングを有し、ハウジングは、回動部材と対向する面に光軸方向に変形する弾性部材を配し、弾性部材は、回動部材に当接する当接面を有し、回動部材は、弾性部材の弾性力によって光軸方向に付勢されながら当接面上を回動することを特徴とする。
【選択図】図2
特許請求の範囲
【請求項1】
光路開口の口径を変化させる複数の絞り羽根と、
前記絞り羽根を開閉動作させるために回動する回動部材と、
前記回動部材を回動可能に支持するハウジングを有し、
前記ハウジングは、前記回動部材と対向する面に光軸方向に変形する弾性部材を配し、
前記弾性部材は、前記回動部材に当接する当接面を有し、
前記回動部材は、前記弾性部材の弾性力によって光軸方向に付勢されながら前記当接面上を回動することを特徴とする絞りユニット。
続きを表示(約 790 文字)
【請求項2】
前記弾性部材は、発泡体部材、多孔質部材、ゴム部材のいずれかを含んで構成されることを特徴とする請求項1に記載の絞りユニット。
【請求項3】
前記弾性部材は、軟質材料であることを特徴とする請求項2に記載の絞りユニット。
【請求項4】
前記弾性部材の前記当接面は低摩擦材によって構成されることを特徴とする請求項1に記載の絞りユニット。
【請求項5】
前記弾性部材は、前記ハウジングの配置面において、複数配置されていることを特徴とする請求項1に記載の絞りユニット。
【請求項6】
前記弾性部材と光軸を通る線分によって前記ハウジングの配置面を分割したときに、分割された前記ハウジングの配置面の各領域に、それぞれ少なくとも1つの前記弾性部材が位置するように配置することを特徴とする請求項5に記載の絞りユニット。
【請求項7】
前記弾性部材は、前記ハウジングの配置面においてn度振り分け(n=360/前記弾性部材の配置数)によって配置されていることを特徴とする請求項5に記載の絞りユニット。
【請求項8】
光路開口の口径を変化させる複数の絞り羽根と、
前記絞り羽根を開閉動作させるために回動する回動部材と、
前記回動部材を回動可能に支持するハウジングを有し、
前記ハウジングは、前記回動部材と対向する面に光軸方向に変形する弾性部材を複数配し、
前記弾性部材は、前記回動部材に当接する当接面を有し、前記当接面は低摩擦材によって構成され、
前記弾性部材は、発泡体部材、多孔質部材、ゴム部材のいずれかを含み、
前記回動部材は、前記弾性部材の弾性力によって光軸方向に付勢されながら前記当接面上を回動することを特徴とする絞りユニット。
発明の詳細な説明
【技術分野】
【0001】
本発明は、レンズ鏡筒に用いられる絞りユニットに関する。
続きを表示(約 1,300 文字)
【背景技術】
【0002】
従来、絞り羽根によって口径を変化させる絞りユニットが知られている。
【0003】
絞り羽根によって口径を変化させる絞りユニットは、ダイヤフラムに絞り羽根を配し、ダイヤフラムを回動させることでアパーチャ上を絞り羽根が移動することにより口径を変化させている。
【0004】
ダイヤフラムを回動させることによってアパーチャ上を絞り羽根が移動可能に構成すると、ダイヤフラムが回動可能な程度にハウジングとの隙間を設ける必要があり、回動の際にガタつきが生じる。ガタつきが生じることによって駆動時に異音が発生したり、口径精度にバラつきが生じたりするという問題がある。
【0005】
特許文献1には、複数の絞り羽根の開閉動作を行うロータリプレートのがたつきを防止することで、光路開口の全開放位置と最小絞り位置との間の口径精度のバラツキを防止することのできる光量調整装置が開示されている。
【先行技術文献】
【特許文献】
【0006】
特開2018-200336号公報
【発明の概要】
【発明が解決しようとする課題】
【0007】
ダイヤフラムのガタつきを抑えるための付勢力は、シャッタースピードの高速化や高速連写時など、高速で絞りを開閉する場合を考慮すると、絞り羽根の移動を妨げない程度の弱い付勢力であることが好ましい。しかしながら、特許文献1に記載の付勢手段においては、板ばね形状の付勢手段を用いていることから、弱い付勢力を生じさせるばね形状を製造するにあたって形状が複雑化する。また、板ばねにおいては、弱い付勢力を生じさせるためにばね長を長く設計する必要があり、ユニットの小型化に対して不利である。
【0008】
本発明は前述の課題に鑑みてなされたものであり、生産性に優れ、種々の大きさの絞りユニットに適用可能であり、高速で絞りの開閉を行う場合を考慮しつつもダイヤフラムのガタつきを抑える付勢手段を有する絞りユニットを提供することを目的とする。
【課題を解決するための手段】
【0009】
本発明に係る絞りユニットは、光路開口の口径を変化させる複数の絞り羽根と、絞り羽根を開閉動作させるために回動する回動部材と、回動部材を回動可能に支持するハウジングを有し、ハウジングは、回動部材と対向する面に光軸方向に変形する弾性部材を配し、弾性部材は、回動部材に当接する当接面を有し、回動部材は、弾性部材の弾性力によって光軸方向に付勢されながら当接面上を回動することを特徴とする。
【発明の効果】
【0010】
本発明に係る絞りユニットによれば、生産性に優れ、種々の大きさの絞りユニットに適用可能であり、高速で絞りの開閉を行う場合を考慮しつつもダイヤフラムのガタつきを抑える付勢手段を有する絞りユニットを提供することが可能となる。
【図面の簡単な説明】
(【0011】以降は省略されています)
この特許をJ-PlatPat(特許庁公式サイト)で参照する
関連特許
株式会社シグマ
光学系
1か月前
株式会社シグマ
絞りユニット
14日前
株式会社シグマ
ズームレンズ
1か月前
株式会社シグマ
高倍率ズームレンズ
1か月前
株式会社シグマ
絞り機構及びレンズ鏡筒
1か月前
個人
監視用カメラ
3か月前
株式会社シグマ
絞りユニット
14日前
平和精機工業株式会社
雲台
1か月前
キヤノン株式会社
撮像装置
7日前
キヤノン株式会社
撮像装置
27日前
キヤノン株式会社
撮像装置
13日前
株式会社リコー
画像形成装置
2か月前
株式会社リコー
画像形成装置
1か月前
株式会社リコー
画像形成装置
21日前
株式会社リコー
画像形成装置
3日前
株式会社リコー
画像形成装置
1か月前
株式会社リコー
画像形成装置
1か月前
株式会社リコー
画像形成装置
2か月前
株式会社リコー
画像形成装置
1か月前
株式会社リコー
画像形成装置
3か月前
株式会社オプトル
プロジェクタ
1か月前
ブラザー工業株式会社
再生方法
1か月前
キヤノン株式会社
画像形成装置
2か月前
キヤノン株式会社
画像形成装置
1か月前
株式会社オプトル
プロジェクタ
6日前
キヤノン株式会社
トナー
3か月前
キヤノン株式会社
トナー
2か月前
キヤノン株式会社
トナー
1か月前
トヨタ自動車株式会社
撮像方法
3か月前
キヤノン株式会社
トナー
2か月前
キヤノン株式会社
画像形成装置
1か月前
キヤノン株式会社
画像形成装置
2か月前
キヤノン株式会社
画像形成装置
2か月前
キヤノン株式会社
画像形成装置
2か月前
キヤノン株式会社
画像形成装置
1か月前
キヤノン株式会社
画像形成装置
2か月前
続きを見る
他の特許を見る