TOP
|
特許
|
意匠
|
商標
特許ウォッチ
Twitter
他の特許を見る
公開番号
2025129987
公報種別
公開特許公報(A)
公開日
2025-09-05
出願番号
2024027019
出願日
2024-02-26
発明の名称
逸走防止装置
出願人
大林道路株式会社
代理人
個人
主分類
B62B
5/06 20060101AFI20250829BHJP(鉄道以外の路面車両)
要約
【課題】路面を走行する車輪を備えた装置が、逸走することを従来よりも効果的に防止することが可能な、逸走防止装置を提供する。
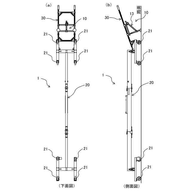
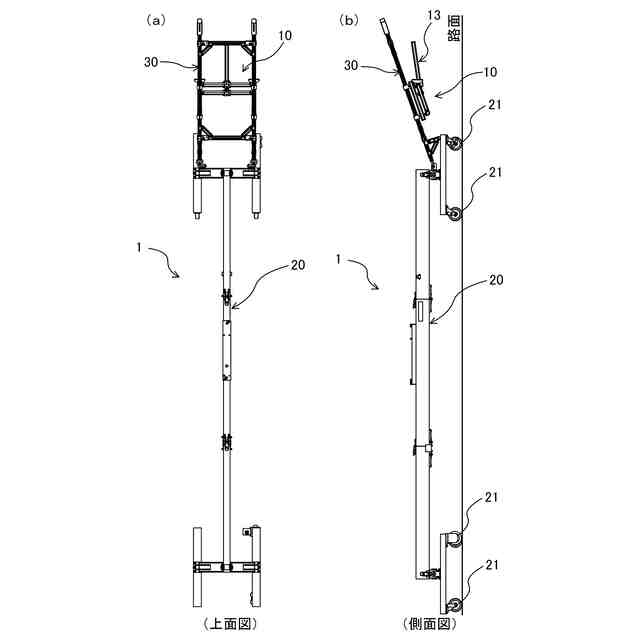
【解決手段】本体部20及び車輪部21を有するとともに該本体部20に設けられたハンドル部30を牽引及び/又は押して路面を走行させることが可能な装置1において、前記ハンドル部30に取付部15を介して取り付けられる枠部16と、前記枠部16に対して倒立させることが可能であるとともに倒立時に路面に接地して前記ハンドル部30を支持する可倒脚部11と、を有することを特徴とする。
【選択図】図5
特許請求の範囲
【請求項1】
本体部及び車輪部を有するとともに該本体部に設けられたハンドル部を牽引及び/又は押して路面を走行させることが可能な装置において、
前記ハンドル部に取付部を介して取り付けられる枠部と、
前記枠部に対して倒立させることが可能であるとともに倒立時に路面に接地して前記ハンドル部を支持する可倒脚部と、を有する
ことを特徴とする逸走防止装置。
続きを表示(約 410 文字)
【請求項2】
平行な二つの前記可倒脚部を連結する可倒脚部連結部材と、
前記可倒脚部連結部材に挿通される棒状の可倒脚部支持部材と、
前記可倒脚部支持部材が挿通されるとともに該可倒脚部支持部材を任意の挿通位置で固定又は固定を解除することで前記可倒脚部を倒立状態又は非倒立状態にすることが可能な倒立開閉部材と、を有する
ことを特徴とする請求項1に記載の逸走防止装置。
【請求項3】
前記可倒脚部は、球座を介して路面に接地する接地部材を備えている
ことを特徴とする請求項1又は請求項2に記載の逸走防止装置。
【請求項4】
前記装置は、路面性状測定装置である
ことを特徴とする請求項1又は請求項2に記載の逸走防止装置。
【請求項5】
前記装置は、路面性状測定装置である
ことを特徴とする請求項3に記載の逸走防止装置。
発明の詳細な説明
【技術分野】
【0001】
本発明は、路面を走行する車輪を備えた装置が、逸走することを効果的に防止することが可能な、逸走防止装置に関する。
続きを表示(約 1,300 文字)
【背景技術】
【0002】
従来から、特許文献1の図7に記載されているような路面性状測定装置など、路面を走行させる際に、ハンドルを把持して牽引する機械・器具や装置等がある。これらの従来技術では、逸走防止の措置として、車輪に歯止めを設置したり、車輪にブレーキ機構を適用するなどの対策が講じられていた。
【0003】
例えば、図6には特許文献1において従来技術として開示された路面性状測定装置の斜視図が示されている。このような路面性状測定装置の車輪は、図7に示されるように、ストッパーを矢印方向に回動することにより、車輪の回転を規制することができ、これにより、装置の逸走防止を図っていた。
【先行技術文献】
【特許文献】
【0004】
特開2005-227249号公報
【発明の概要】
【発明が解決しようとする課題】
【0005】
しかしながら、上記したような逸走防止方法においては、操作者はハンドルを手から放して下ろし、そして車輪に歯止めを設置したり、各車輪にストッパーを掛ける必要があった。そうすると、歯止めの設置やストッパーを掛ける間に、車輪が動き出して逸走し、走行中の他の車両と接触事故を起こしてしまう可能性がある。特に路面に勾配があるような道路では、歯止めの設置やストッパーを掛ける間の僅かな時間でも、装置が逸走する可能性が高く、大変危険である。
【0006】
さらに、操作者が歯止めの設置やストッパーを掛けること自体を失念してしまう可能性も否定できず、従来の逸走防止方法は、安全上必ずしも十分なものとは言えなかった。
【0007】
そこで、本発明は上記した問題点に鑑み、路面を走行する車輪を備えた装置が、逸走することを従来よりも効果的に防止することが可能な、逸走防止装置を提供することを目的とする。
【課題を解決するための手段】
【0008】
(1)に係る発明は、本体部及び車輪部を有するとともに該本体部に設けられたハンドル部を牽引及び/又は押して路面を走行させることが可能な装置において、前記ハンドル部に取付部を介して取り付けられる枠部と、前記枠部に対して倒立させることが可能であるとともに倒立時に路面に接地して前記ハンドル部を支持する可倒脚部と、を有することを特徴とする逸走防止装置である。
【0009】
(2)に係る発明は、平行な二つの前記可倒脚部を連結する可倒脚部連結部材と、前記可倒脚部連結部材に挿通される棒状の可倒脚部支持部材と、前記可倒脚部支持部材が挿通されるとともに該可倒脚部支持部材を任意の挿通位置で固定又は固定を解除することで前記可倒脚部を倒立状態又は非倒立状態にすることが可能な倒立開閉部材と、を有することを特徴とする上記(1)に記載の逸走防止装置である。
【0010】
(3)に係る発明は、前記可倒脚部は、球座を介して路面に接地する接地部材を備えていることを特徴とする上記(1)又は(2)に記載の逸走防止装置である。
(【0011】以降は省略されています)
この特許をJ-PlatPat(特許庁公式サイト)で参照する
関連特許
大林道路株式会社
逸走防止装置
28日前
株式会社ヒロテック
土砂運搬用建設機械作業具及びその製造方法
2か月前
個人
カート
2か月前
個人
走行装置
3か月前
個人
乗り物
4か月前
個人
電動走行車両
3か月前
個人
折り畳み自転車
10か月前
個人
発音装置
7か月前
個人
閂式ハンドル錠
3か月前
個人
駐輪設備
29日前
個人
電動モビリティ
7か月前
個人
ボギー・フレーム
1か月前
個人
自転車用傘捕捉具
11か月前
個人
“zen-go.”
2か月前
個人
自由方向乗車自転車
7か月前
個人
体重掛けリフト台車
10か月前
個人
ルーフ付きトライク
2か月前
個人
ルーフ付きトライク
1か月前
個人
パワーアシスト自転車
1か月前
個人
アタッチメント
11か月前
個人
自転車用荷物台
10か月前
個人
キャンピングトライク
8か月前
個人
ステアリングの操向部材
8か月前
株式会社CPM
駐輪機
11か月前
株式会社豊田自動織機
産業車両
4か月前
個人
フロントフットブレーキ。
3か月前
株式会社三五
リアサブフレーム
10か月前
個人
ホイールハブ駆動構造
3か月前
個人
乗用自動車のディフューザー
8日前
ヤマハ発動機株式会社
車両
11か月前
豊田鉄工株式会社
小型車両
2か月前
ヤマハ発動機株式会社
車両
11か月前
ヤマハ発動機株式会社
車両
11か月前
ヤマハ発動機株式会社
車両
11か月前
学校法人千葉工業大学
車両
9か月前
学校法人千葉工業大学
車両
9か月前
続きを見る
他の特許を見る