TOP
|
特許
|
意匠
|
商標
特許ウォッチ
Twitter
他の特許を見る
10個以上の画像は省略されています。
公開番号
2025134281
公報種別
公開特許公報(A)
公開日
2025-09-17
出願番号
2024032096
出願日
2024-03-04
発明の名称
光源装置及び不活化装置
出願人
ウシオ電機株式会社
代理人
弁理士法人ユニアス国際特許事務所
主分類
A61L
2/10 20060101AFI20250909BHJP(医学または獣医学;衛生学)
要約
【課題】多くのタンパク質が存在する照射対象物に紫外光を照射する場合であっても、人体に悪影響を与えることなく、菌やウイルスを不活化することができる光源装置及び不活化装置を提供する。
【解決手段】光源装置は、紫外光を放射する発光部と、発光部から放射された光を伝搬させる光学系と、を備え、発光部は、225nm以上235nm以下の範囲内の光を放射する点光源を備えており、光学系は、発光部から放射された光を受光し、225nm以上235nm以下の範囲内にピーク波長を示し、240nm以上280nm以下の範囲内の紫外光が制限された光を放射する。
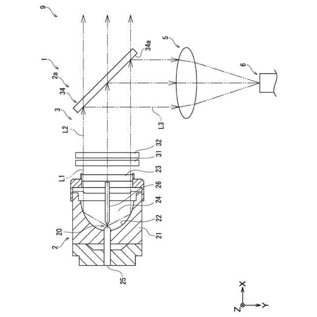
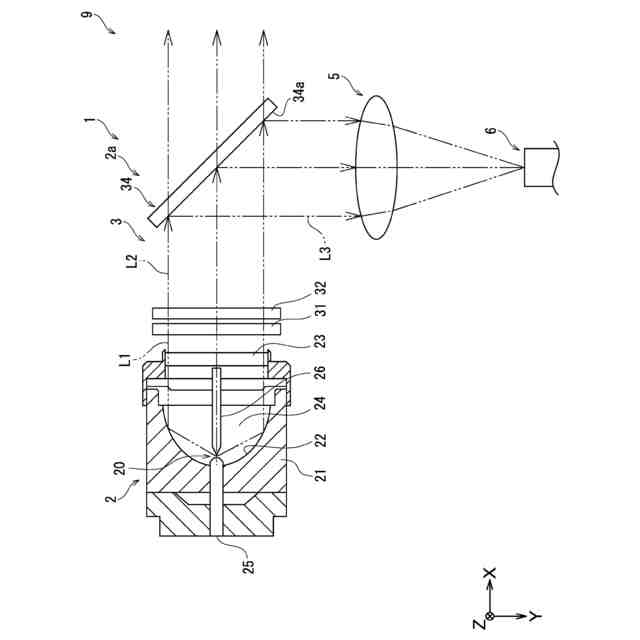
【選択図】図1
特許請求の範囲
【請求項1】
紫外光を放射する発光部と、前記発光部から放射された光を伝搬させる光学系と、を備え、
前記発光部は、225nm以上235nm以下の範囲内の光を放射する点光源を備えており、
前記光学系は、前記発光部から放射された光を受光し、225nm以上235nm以下の範囲内にピーク波長を示し、240nm以上280nm以下の範囲内の紫外光が制限された光を放射することを特徴とする光源装置。
続きを表示(約 1,200 文字)
【請求項2】
前記光学系は光制御機構を備え、
前記光制御機構は、前記発光部から放射された光のうち、240nm以上280nm以下の範囲内に属する紫外光を制限し、225nm以上235nm以下の範囲内にピーク波長を示す光に制御することを特徴とする請求項1に記載の光源装置。
【請求項3】
前記光制御機構は、波長225nm以上235nm以下の範囲内に属する紫外光を透過する光学フィルタからなる光制御部を複数備えており、
複数の前記光制御部を用いて、前記発光部から放射された光のうち、240nm以上280nm以下の範囲内に属する放射を制限させ、225nm以上235nm以下の範囲内にピーク波長を示す光に制御することを特徴とする請求項2に記載の光源装置。
【請求項4】
前記光制御機構は、前記発光部から放射された215nm以下の紫外光の放射を制限することを特徴とする請求項2に記載の光源装置。
【請求項5】
前記発光部は、放電ランプであり、
前記放電ランプは、
前方に開口する凹部が形成された胴体と、
前記凹部の表面に形成された反射面と、
前記胴体の開口を塞ぐ光透過性の窓部材と、
前記胴体と前記窓部材とで囲まれて、放電用ガスが封入された放電空間と、
前記放電空間において、前記反射面の焦点位置を挟むように対向配置された一対の電極と、を備えることを特徴とする請求項2に記載の光源装置。
【請求項6】
前記発光部は、LEDを備え、
前記LEDから放射される光は、発光ピーク波長が225nm以上235nm以下の範囲内に属し、240nm以上280nm以下の範囲内の放射が制限されていることを特徴とする請求項1に記載の光源装置。
【請求項7】
前記発光部は、215nm以下の紫外光を放射しないことを特徴とする請求項6に記載の光源装置。
【請求項8】
前記発光部又は前記光学系は、
前記点光源からの光を平行化する光学部材を備えていることを特徴とする請求項1~7のいずれか1項に記載の光源装置。
【請求項9】
前記光学系は、前記発光部から放射された光を集光する光学レンズと、
前記光学レンズからの光を一端から他端に向けて伝搬させる導光部材と、を備えていることを特徴とする請求項1~7のいずれか1項に記載の光源装置。
【請求項10】
前記光制御機構は、前記発光部から放射された225nm以上235nm以下の波長帯域に属する紫外光を反射し、且つ前記発光部から放射された240nm以上3000nm以下の範囲内に属する光を透過する反射フィルタからなる光制御部を備えることを特徴とする請求項1~7のいずれか1項に記載の光源装置。
(【請求項11】以降は省略されています)
発明の詳細な説明
【技術分野】
【0001】
本発明は、光源装置及び不活化装置に関する。
続きを表示(約 1,800 文字)
【背景技術】
【0002】
DNAは、波長260nm付近に最も高い吸収特性を示すことが知られている。また、低圧水銀ランプは、波長254nm付近に高い発光スペクトルを示すことから、従来、低圧水銀ランプから紫外光を照射して殺菌を行う技術も広く知られている。
【0003】
しかし、240nm以上280nm以下の波長帯域の紫外光は、人体に影響を及ぼすリスクが大きいため、近年、人体への影響が極めて少ない主ピーク波長が222nmである190nm~230nmの波長帯域の紫外光を出射するKrClエキシマランプを用いて菌やウイルスを不活化する方法が広く利用されている(例えば特許文献1)。
【0004】
主ピーク波長が222nmである190nm~230nmの波長帯域の紫外光が人体に影響を及ぼすリスクが極めて少ないのは、タンパク質の吸収係数が大きいためである。
【先行技術文献】
【特許文献】
【0005】
特開2023-66627号公報
【発明の概要】
【発明が解決しようとする課題】
【0006】
しかしながら、222nmの波長の紫外光はタンパク質の吸収係数が大きすぎるため、構成物質としてタンパク質の割合が多い、血液や体液においても、表層で吸収されてしまい、少しでも入り込んだ菌やウイルスは不活化が阻害されやすいという問題があった。
【0007】
本発明は、上記の課題に鑑み、多くのタンパク質が存在する照射対象物に紫外光を照射する場合であっても、人体に悪影響を与えることなく、菌やウイルスを不活化することができる光源装置及び不活化装置を提供することを目的とする。
【課題を解決するための手段】
【0008】
本発明に係る光源装置は、紫外光を放射する発光部と、前記発光部から放射された光を伝搬させる光学系と、を備え、
前記発光部は、225nm以上235nm以下の範囲内の光を放射する点光源を備えており、
前記光学系は、前記発光部から放射された光を受光し、225nm以上235nm以下の範囲内にピーク波長を示し、240nm以上280nm以下の範囲内の紫外光が制限された光を放射する。
【0009】
この構成によれば、例えば人体へ向けて紫外光を照射する場合、230nm付近の波長の紫外光は、222nmの波長の紫外光に比べ、タンパク質の透過長が長く、且つタンパク質の透過率も相対的に高いため、照射対象物の表層に血液や体液等のタンパク質成分が存在する場合でも、菌やウイルスの不活化が阻害され難い。また、光学系により、発光部から放射された紫外光のうち、人体に影響を及ぼすおそれのある240nm以上280nm以下の範囲内の紫外光の放射を制限することができるため、人体に悪影響を与えることがない。
なお、本明細書において、「点光源」とは、光出射方向の光軸に対する光源の断面が直径5mm以下であることをいう。例えば一対の電極を有する放電ランプの場合は、電極間の距離が5mm以下であることをいい、例えばLEDやLD等の固体光源の場合は、チップ発光部の断面が直径5mm以下であることをいう。また、固体光源以外のレーザ光源の場合は、225nm以上235nm以下の紫外光を出射する出射面における発光断面が直径5mm以下であることをいう。また、波長変換素子を用いて225nm以上235nm以下の紫外光を出射させる場合は、当該出射面の発光断面が直径5mm以下であることをいう。
また、本明細書において、「240nm以上280nm以下の範囲内の紫外光を制限する」とは、215nm以上235nm以下の波長帯域における積算強度に対して、240nm以上300nm以下の波長帯域における積算強度が5%以下となる状態を示す。
また、本明細書において、「不活化」とは、菌やウイルスを死滅させる又は感染力や毒性を失わせることを包括する概念を指し、「菌」とは細菌や真菌(カビ)等の微生物を指す。
【0010】
光源装置において、前記光学系は光制御機構を備え、
前記光制御機構は、前記発光部から放射された光のうち、240nm以上280nm以下の範囲内に属する紫外光を制限し、225nm以上235nm以下の範囲内にピーク波長を示す光に制御する、という構成でもよい。
(【0011】以降は省略されています)
この特許をJ-PlatPat(特許庁公式サイト)で参照する
関連特許
個人
短下肢装具
2か月前
個人
前腕誘導装置
2か月前
個人
白内障治療法
6か月前
個人
嚥下鍛錬装置
3か月前
個人
洗井間専家。
6か月前
個人
ホバーアイロン
6か月前
個人
胸骨圧迫補助具
1か月前
個人
バッグ式オムツ
3か月前
個人
汚れ防止シート
7日前
個人
歯の修復用材料
3か月前
個人
矯正椅子
4か月前
個人
アイマスク装置
1か月前
三生医薬株式会社
錠剤
6か月前
個人
歯の保護用シール
4か月前
個人
車椅子持ち上げ器
6か月前
個人
湿布連続貼り機。
1か月前
個人
陣痛緩和具
3か月前
個人
哺乳瓶冷まし容器
2か月前
個人
シャンプー
5か月前
株式会社結心
手袋
7か月前
個人
エア誘導コルセット
1か月前
株式会社八光
剥離吸引管
4か月前
個人
性行為補助具
2か月前
個人
治療用酸化防御装置
25日前
個人
服薬支援装置
6か月前
株式会社大野
骨壷
3か月前
株式会社ファンケル
化粧料
7か月前
株式会社松風
口腔用組成物
2か月前
株式会社ダリヤ
皮膚化粧料
6か月前
個人
シリンダ式歩行補助具
2か月前
個人
歯列矯正用器具
7か月前
株式会社ニデック
眼科装置
19日前
個人
形見の製造方法
3か月前
株式会社ダリヤ
毛髪化粧料
17日前
個人
精力増強キット
11日前
株式会社ニデック
検眼装置
2か月前
続きを見る
他の特許を見る