TOP
|
特許
|
意匠
|
商標
特許ウォッチ
Twitter
他の特許を見る
10個以上の画像は省略されています。
公開番号
2025135218
公報種別
公開特許公報(A)
公開日
2025-09-18
出願番号
2024032917
出願日
2024-03-05
発明の名称
圧力センサ
出願人
NTT株式会社
,
国立大学法人 東京大学
代理人
弁理士法人アイル知財事務所
主分類
G01L
9/00 20060101AFI20250910BHJP(測定;試験)
要約
【課題】デバイス数を増加させずに広い範囲全体を連続的に測定することができる圧力センサ及び圧力測定方法を提供することを目的とする。
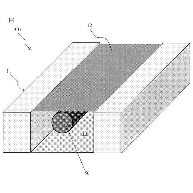
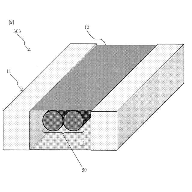
【解決手段】本発明に係る圧力センサ301は、光ファイバ50と、光ファイバ50を長手方向に覆う容器11と、を備える圧力センサであって、容器11は、液体又は気体で満たされていること、及び長手方向に垂直な断面において外周の一部が圧力で変形する膜12で形成されていることを特徴とする。測定器20で光ファイバ50の歪分布を測定し、歪分布を圧力分布へ変換する。
【選択図】図3
特許請求の範囲
【請求項1】
光ファイバと、前記光ファイバを長手方向に覆う容器と、を備える圧力センサであって、前記容器は、
液体又は気体で満たされていること、及び
長手方向に垂直な断面において外周の一部が圧力で変形する膜で形成されていること
を特徴とする圧力センサ。
続きを表示(約 690 文字)
【請求項2】
前記光ファイバがシングルモードファイバであり、前記膜に接着されていることを特徴とする請求項1に記載の圧力センサ。
【請求項3】
前記光ファイバがテープファイバ又はマルチコアファイバであり、前記膜に接着されていないことを特徴とする請求項1に記載の圧力センサ。
【請求項4】
前記圧力で前記光ファイバ及び前記膜が位置変動しないように固定する少なくとも1つの節をさらに備えることを特徴とする請求項1から3のいずれかに記載の圧力センサ。
【請求項5】
前記節において前記液体又は気体を分離する隔離壁をさらに備えることを特徴とする請求項4に記載の圧力センサ。
【請求項6】
圧力を測定したい範囲の形の容器に液体または気体、及びシングルモードファイバである光ファイバを格納し、圧力で変形する膜で密封した圧力センサを配置すること、
前記光ファイバに光を入射し、前記光ファイバからの後方散乱光で前記光ファイバに発生した歪分布を測定すること、及び
前記歪分布を圧力に変換すること
を特徴とする圧力測定方法。
【請求項7】
圧力を測定したい範囲の形の容器に液体または気体、及びマルチコアファイバ又はテープファイバである光ファイバを格納し、圧力で変形する膜で密封した圧力センサを配置すること、
前記光ファイバに光を入射し、前記光ファイバからの後方散乱光で前記光ファイバに発生した曲げを測定すること、及び
前記曲げを圧力に変換すること
を特徴とする圧力測定方法。
発明の詳細な説明
【技術分野】
【0001】
本開示は、光ファイバを用いて液体や気体などの圧力を測定する圧力センサに関する。
続きを表示(約 1,600 文字)
【背景技術】
【0002】
液体や気体などの圧力を測定する圧力センサは様々なものが実用されている。図1は、電気的な圧力センサの例を説明する図である(例えば、非特許文献1を参照。)。図2は、光ファイバを用いた圧力センサの例を説明する図である(例えば、非特許文献2を参照。)。
気体や液体の圧力を受ける部分にその力によって歪を生じるデバイス(図1であれば歪ゲージ、図2であればFBG部)を使い、測定した歪量から測定したい気体や液体の圧力へ変換する。
【先行技術文献】
【非特許文献】
【0003】
Webページ(https://www.keyence.co.jp/products/process/pressure/)、2023年12月1日検索
Webページ(https://nanoxeed.co.jp/product/fbgpressure/)、2023年12月1日検索
【発明の概要】
【発明が解決しようとする課題】
【0004】
そのデバイス(歪ゲージやFBG部)は小型であり、相対的に広い範囲全体の圧力を測定しようとすれば、そのデバイスを多数用いることになる。また、そのデバイスの配置は有限個であり機構間を測定することができず不連続な有限個の点での測定となる。つまり、図1や2のような圧力測定手法には、広い範囲全体を連続的に測定することが困難という課題がある。
【0005】
前記課題を解決するために、本発明は、デバイス数を増加させずに広い範囲全体を連続的に測定することができる圧力センサ及び圧力測定方法を提供することを目的とする。
【課題を解決するための手段】
【0006】
上記目的を達成するために、本発明に係る圧力センサは、直接圧力を測定するのではなく、気体や液体が封入された容器に印可される圧力を容器内に配置した光ファイバで測定することとした。
【0007】
具体的には、本発明に係る圧力センサは、光ファイバと、前記光ファイバを長手方向に覆う容器と、を備える圧力センサであって、前記容器は、液体又は気体で満たされていること、及び長手方向に垂直な断面において外周の一部が圧力で変形する膜で形成されていることを特徴とする。
ここで、前記光ファイバがシングルモードファイバであり、前記膜に接着されていてもよい。
また、前記光ファイバがテープファイバ又はマルチコアファイバであり、前記膜に接着されていなくてもよい。
【0008】
粘性など特性がわかっている液体または気体で満たした容器に光ファイバを格納する。当該容器は、その一面が圧力によって変形する膜で形成されている。圧力による当該膜の変形により膜に接着された光ファイバに、または容器の中の液体または気体を介した圧力により光ファイバに歪が発生する。この歪を測定することで容器の周囲全体の圧力を連続的に測定することができる。
容器内の液体または気体、及び膜の特性(既知の特性)により光ファイバが受ける圧力が一定の精度を持つため、光ファイバの歪を測定することで誤差の少ない高精度の圧力への変換が可能である。
【0009】
従って、本発明は、デバイス数を増加させずに広い範囲全体を連続的に測定することができる圧力センサを提供することができる。
【0010】
前記圧力で前記光ファイバ及び前記膜が位置変動しないように固定する少なくとも1つの節をさらに備えることとしてもよい。この時、前記節において前記液体又は気体を分離する隔離壁をさらに備えることとしてもよい。任意に設定した節間の圧力を測定することができる。
(【0011】以降は省略されています)
特許ウォッチbot のツイートを見る
この特許をJ-PlatPat(特許庁公式サイト)で参照する
関連特許
NTT株式会社
圧力センサ
13日前
NTT株式会社
光デバイス
20日前
NTT株式会社
信号送信装置
21日前
NTT株式会社
光信号処理装置
22日前
NTT株式会社
推定装置及び推定方法
6日前
NTT株式会社
解析装置および解析方法
12日前
NTT株式会社
量子計算装置、及び制御装置
1か月前
NTT株式会社
通信システム、及び通信方法
29日前
NTT株式会社
音声抽出装置及び音声抽出方法
1か月前
NTT株式会社
映像処理装置、方法及びプログラム
2日前
NTT株式会社
秘匿計算システム及び秘匿計算方法
20日前
NTT株式会社
交通量推定装置及び交通量推定方法
6日前
NTT株式会社
無線通信方法及び無線通信システム
1か月前
NTT株式会社
秘匿計算システム及び秘匿計算方法
20日前
NTT株式会社
検索装置、検索方法及びプログラム
20日前
NTT株式会社
イオン伝送装置、及びイオン伝送方法
22日前
NTT株式会社
情報処理装置、方法およびプログラム
20日前
NTT株式会社
推論装置、推論方法、及びプログラム
1か月前
NTT株式会社
光ファイバの群遅延時間測定システム
12日前
NTT株式会社
データ解析装置、方法およびプログラム
20日前
NTT株式会社
生成システム、生成装置、および生成方法
1か月前
NTT株式会社
単一光子生成装置、及び単一光子生成方法
1か月前
NTT株式会社
情報処理装置、情報処理方法及びプログラム
1か月前
NTT株式会社
情報処理装置、情報処理方法及びプログラム
1か月前
NTT株式会社
周期検出装置、周期検出方法及びプログラム
1か月前
NTT株式会社
推論装置、学習装置、推論方法、及びプログラム
12日前
NTT株式会社
画像処理装置、画像処理方法及び画像処理プログラム
1か月前
NTT株式会社
修辞構造解析装置、修辞構造解析方法及びプログラム
1か月前
NTT株式会社
組合せ最適化方法、組合せ最適化装置、及びプログラム
2日前
NTT株式会社
情報処理装置、情報処理方法および情報処理プログラム
1か月前
NTT株式会社
通信品質予測装置、通信品質予測方法、及びプログラム
5日前
富士通株式会社
データ転送制御装置および情報処理装置
1か月前
富士通株式会社
データ転送制御装置および情報処理装置
1か月前
NTT株式会社
基地局及び端末
1か月前
NTT株式会社
電気刺激装置、電気刺激システム、電気刺激方法及びプログラム
1か月前
NTT株式会社
音響信号出力装置
1か月前
続きを見る
他の特許を見る