TOP
|
特許
|
意匠
|
商標
特許ウォッチ
Twitter
他の特許を見る
10個以上の画像は省略されています。
公開番号
2025138505
公報種別
公開特許公報(A)
公開日
2025-09-25
出願番号
2024037641
出願日
2024-03-11
発明の名称
交通量推定装置及び交通量推定方法
出願人
NTT株式会社
,
株式会社NTTデータグループ
,
阪神高速道路株式会社
代理人
弁理士法人酒井国際特許事務所
主分類
G08G
1/00 20060101AFI20250917BHJP(信号)
要約
【課題】交通量の推定を精度良く行い、交通課題を適切に解決する。
【解決手段】交通量分布算出部11は、対象エリア内の交通密度と速度との関係式と速度情報に基づき、前記対象エリアにおける出発地点から目的地点までの複数地点の近傍領域の集合である仮想的経路における前記近傍領域毎の交通量分布を算出する。交通量算出部12は、前記近傍領域毎の交通量分布を用いて前記近傍領域毎の交通量の同時確率の最適化を行い、前記近傍領域それぞれにおける交通量を推定する。
【選択図】図1
特許請求の範囲
【請求項1】
対象エリア内の交通密度と速度との関係式及び速度情報に基づき、前記対象エリアにおける出発地点から目的地点までの複数地点の近傍領域の集合である仮想的経路における前記近傍領域毎の交通量分布を算出する交通量分布算出部と、
前記近傍領域毎の交通量分布を用いて前記近傍領域毎の交通量の同時確率の最適化を行い、前記近傍領域それぞれにおける交通量を推定する交通量算出部と
を備えたことを特徴とする交通量推定装置。
続きを表示(約 530 文字)
【請求項2】
前記交通量算出部は、交通量の同時確率の最適化として交通量の同時確率が最大となる場合の交通量を算出して、算出した交通量を前記近傍領域それぞれにおける交通量の推定値とすることを特徴とする請求項1に記載の交通量推定装置。
【請求項3】
前記交通量算出部は、前記近傍領域における前記速度情報に基づき、前記出発地点から出発した車両の経路出発台数と前記近傍領域それぞれにおける前記交通量との関係式を生成して、前記関係式及び前記交通量分布を基に前記近傍領域の交通量の同時確率を算出し、算出した前記近傍領域の交通量の同時確率を最適化することを特徴とする請求項1又は2に記載の交通量推定装置。
【請求項4】
対象エリア内の交通密度と速度との関係式及び速度情報に基づき、前記対象エリアにおける出発地点から目的地点までの複数地点の近傍領域の集合である仮想的経路における前記近傍領域毎の交通量分布を算出する交通量分布算出工程と、
前記近傍領域毎の交通量分布を用いて前記近傍領域毎の交通量の同時確率の最適化を行い、前記近傍領域それぞれにおける交通量を推定する交通量算出工程と
を含んだことを特徴とする交通量推定方法。
発明の詳細な説明
【技術分野】
【0001】
本発明は、交通量推定装置及び交通量推定方法に関する。
続きを表示(約 2,000 文字)
【背景技術】
【0002】
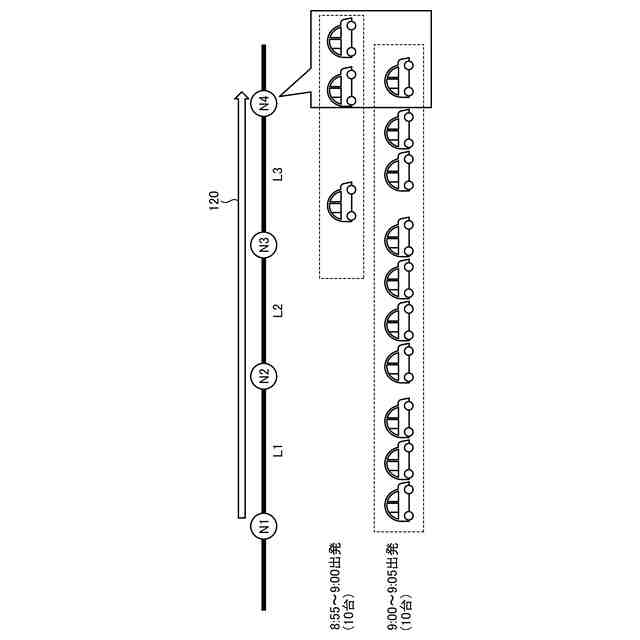
近年、渋滞・混雑等の交通課題の解決のため、対象エリアの交通量を推定し、デジタルツイン上で高精度な交通流のシミュレーションを行うことで、実環境の交通流を再現して将来の交通流の予測を行う技術が検討されている。
【0003】
例えば、混雑具合を通知する技術として、各地点のスマートフォンから送られる位置情報及び速度データを用いて算出した交通情報を地図上に表示させるライブ交通情報やVICS(登録商標)(Vehicle Information and Communication System)による渋滞通知情報が存在する。また、スマートフォン上で動作する特定のアプリケーションからユーザの位置情報を取得して算出した混雑状況を、ヒートマップとして色で段階的に表現する混雑レーダーが提供されている。
【0004】
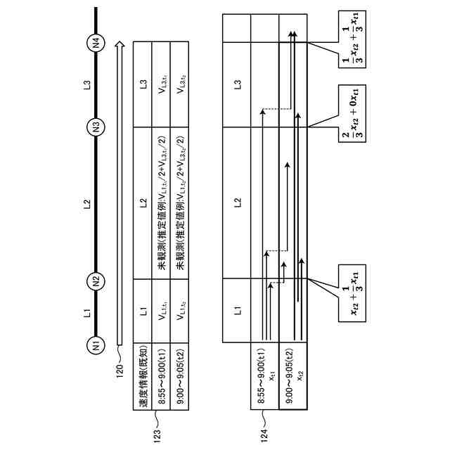
さらに、対象エリアの交通量の推定については、各種情報提供サービスからの情報提供の他に、クラウドに接続された車両から随時収集される速度情報を活用して、交通工学に基づくモデルを用いて、計測された地点の交通量を推定する技術が提案されている。この速度を計測した地点は、「リンク」と呼ばれる場合がある。
【先行技術文献】
【非特許文献】
【0005】
Google map,“ライブ交通情報”,(online),令和5年8月9日,Google,(令和5年8月9日検索),インターネット<URL: https://support.google.com/maps/answer/6337401?hl=ja>
VICSセンター,“渋滞情報”,(online),令和5年8月9日,一般財団法人 道路交通情報通信システムセンター,(令和5年8月9日検索),インターネット<URL: https://www.vics.or.jp/know/service/index.html>
Yahoo!マップ,“Yahoo混雑レーダー”,(online),令和5年8月9日,ヤフー株式会社,(令和5年8月9日検索),インターネット<URL: https://map.yahoo.co.jp/maps?layer=crowd&v=3>
三輪,山本,竹下,森川,“プローブカーの速度情報を用いた動的OD交通量の推定可能性に関する研究”,(online),令和5年8月9日,土木学会論文集D Vol.64 No.2,252-265,2008.5,(令和5年8月9日検索),インターネット<URL: https://www.jstage.jst.go.jp/article/jscejd/64/2/64_2_252/_pdf/-char/ja>
【発明の概要】
【発明が解決しようとする課題】
【0006】
しかしながら、ライブ交通情報やVICSによる渋滞通知情報は、速度情報を表示しており、交通量の情報は提供されていない。また、混雑レーダーは、地図を所定の大きさに区切ったメッシュ単位の混雑度であり、道路単位の交通量を把握することは困難である。
【0007】
また、従来の対象エリアの交通量の推定手法では、個別のリンク毎に推定を行うため、時間的/空間的距離の影響が考慮されないという問題がある。時間的/空間的距離の影響としては、例えば、時間帯が近く且つ距離が近い地点は同様の交通量となることが考えられる。また、従来の対象エリアの交通量の推定手法では、速度を測定していない地点においては交通量の推定ができないおそれがある。これらのことから、従来の対象エリアの交通量の推定手法では、交通量の推定を適切に行うことは困難であった。
【0008】
本発明は、上記に鑑みてなされたものであって、交通量の推定精度を向上させ、交通課題を適切に解決することを目的とする。
【課題を解決するための手段】
【0009】
上述した課題を解決し、目的を達成するために、交通量分布算出部は、対象エリア内の交通密度と速度との関係式と速度情報に基づき、前記対象エリアにおける出発地点から目的地点までの複数地点の近傍領域の集合である仮想的経路における前記近傍領域毎の交通量分布を算出する。交通量算出部は、前記近傍領域毎の交通量分布を用いて前記近傍領域毎の交通量の同時確率の最適化を行い、前記近傍領域それぞれにおける交通量を推定する。
【発明の効果】
【0010】
本発明によれば、交通量の推定精度を向上させ、交通課題を適切に解決することができる。
【図面の簡単な説明】
(【0011】以降は省略されています)
この特許をJ-PlatPat(特許庁公式サイト)で参照する
関連特許
NTT株式会社
圧力センサ
16日前
NTT株式会社
光デバイス
23日前
NTT株式会社
信号送信装置
24日前
NTT株式会社
光信号処理装置
25日前
NTT株式会社
復号装置及び復号方法
1日前
NTT株式会社
推定装置及び推定方法
9日前
NTT株式会社
解析装置および解析方法
15日前
NTT株式会社
通信システム、及び通信方法
1か月前
NTT株式会社
音声抽出装置及び音声抽出方法
1か月前
NTT株式会社
検索装置、検索方法及びプログラム
23日前
NTT株式会社
交通量推定装置及び交通量推定方法
9日前
NTT株式会社
秘匿計算システム及び秘匿計算方法
23日前
NTT株式会社
秘匿計算システム及び秘匿計算方法
23日前
NTT株式会社
通信システム、方法及びプログラム
1日前
NTT株式会社
通信システム、方法及びプログラム
1日前
NTT株式会社
映像処理装置、方法及びプログラム
5日前
NTT株式会社
イオン伝送装置、及びイオン伝送方法
25日前
NTT株式会社
情報処理装置、方法およびプログラム
23日前
NTT株式会社
光ファイバの群遅延時間測定システム
15日前
NTT株式会社
データ解析装置、方法およびプログラム
23日前
NTT株式会社
電子署名システム、方法及びプログラム
1日前
NTT株式会社
座屈剥離構造の予測装置および予測方法
1日前
NTT株式会社
単一光子生成装置、及び単一光子生成方法
1か月前
NTT株式会社
生成システム、生成装置、および生成方法
1か月前
NTT株式会社
情報処理装置、情報処理方法及びプログラム
1か月前
NTT株式会社
周期検出装置、周期検出方法及びプログラム
1か月前
NTT株式会社
推論装置、学習装置、推論方法、及びプログラム
15日前
NTT株式会社
修辞構造解析装置、修辞構造解析方法及びプログラム
1か月前
NTT株式会社
情報処理システム、情報処理装置および情報処理方法
2日前
NTT株式会社
通信品質予測装置、通信品質予測方法、及びプログラム
8日前
NTT株式会社
組合せ最適化方法、組合せ最適化装置、及びプログラム
5日前
NTT株式会社
情報処理装置、情報処理方法および情報処理プログラム
1か月前
NTT株式会社
伝搬グラフ復元装置、伝搬グラフ復元方法、及びプログラム
1日前
NTT株式会社
基地局及び端末
1か月前
NTT株式会社
音響信号出力装置
1か月前
NTT株式会社
生成装置、再生システム、生成方法、再生方法、およびプログラム
16日前
続きを見る
他の特許を見る