TOP
|
特許
|
意匠
|
商標
特許ウォッチ
Twitter
他の特許を見る
公開番号
2025137100
公報種別
公開特許公報(A)
公開日
2025-09-19
出願番号
2024036105
出願日
2024-03-08
発明の名称
フレキシブル発光装置固定用具
出願人
エイテックス株式会社
代理人
個人
,
個人
主分類
F21V
19/00 20060101AFI20250911BHJP(照明)
要約
【課題】フレキシブル発光装置を構造物の壁面や天井面などに固定する長尺の複数の固定用部材を横ずれすることなく容易に連結することが可能なフレキシブル発光装置固定用具の提供。
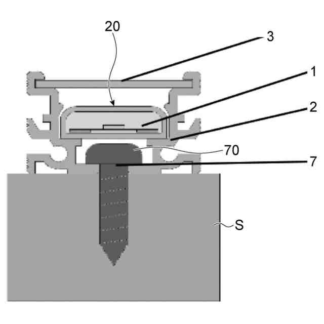
【解決手段】フレキシブル発光装置1を収容部20に収容して固定するためのフレキシブル発光装置固定用具2であって、収容部20の一部を形成する長尺の複数の固定用部材4であり、所望の長さに切断されて用いられる複数の固定用部材4と、複数の固定用部材4の間に設けられ、複数の固定用部材4同士を連結する連結用部材5であり、収容部20の一部を形成する連結用部材5とを含み、複数の固定用部材4は、長手方向に延びる連結用穴42を有し、連結用部材5は、複数の固定用部材4のそれぞれの連結用穴42に嵌合するピン52を有する。
【選択図】図1
特許請求の範囲
【請求項1】
フレキシブル発光装置を収容部に収容して固定するためのフレキシブル発光装置固定用具であって、
前記収容部の一部を形成する長尺の複数の固定用部材であり、所望の長さに切断されて用いられる複数の固定用部材と、
前記複数の固定用部材の間に設けられ、前記複数の固定用部材同士を連結する連結用部材であり、前記収容部の一部を形成する連結用部材とを含み、
前記複数の固定用部材は、長手方向に延びる連結用穴を有し、
前記連結用部材は、前記複数の固定用部材のそれぞれの前記連結用穴に嵌合するピンを有する
フレキシブル発光装置固定用具。
続きを表示(約 72 文字)
【請求項2】
前記複数の固定用部材と前記連結用部材との当接部を覆うカバー部材を含む請求項1記載のフレキシブル発光装置固定用具。
発明の詳細な説明
【技術分野】
【0001】
本発明は、可撓性を有する帯状フレキシブルLEDライトなどのフレキシブル発光装置を構造物の壁面や天井面などに固定するためのフレキシブル発光装置固定用具に関する。
続きを表示(約 1,600 文字)
【背景技術】
【0002】
回路基板上に複数のSMD(Surface Mount Device:表面実装)タイプLED(Light Emitting Diode)を直線的に実装し点灯すると、LED発光方向は回路基板に対し垂線方向となるのが一般的である。この場合、回路基板を曲げが容易な帯状FPC(Flexible Printed Circuit)で製作すれば、LED発光方向に湾曲可能な帯状発光モジュールができる。このような商品はテープライト(フレキシブル発光装置)として数多く作られ、市販されている(例えば、特許文献1、非特許文献1参照。)。
【0003】
また、例えば非特許文献1に記載のように、所望の長さに切断して使用可能なテープライトを直線樹脂チャンネル等の長尺の固定用部材を用いて構造物の壁面や天井面などに固定して照明器具として用いることも行われている(例えば、非特許文献1参照。)。このとき、所望の長さに切断したテープライトの長さに応じて複数の固定用部材を用い、壁面等に固定する。
【先行技術文献】
【特許文献】
【0004】
特許第5031011号公報
【非特許文献】
【0005】
“TMVテープライトインドア”,[online],エイテックス株式会社,[令和5年6月20日検索],インターネット<URL:https://www.atex-jp.com/list/detail/1>
【発明の概要】
【発明が解決しようとする課題】
【0006】
ところが、従来、直線樹脂チャンネル等の固定用部材の連結は、複数の固定用部材を並べてそれぞれの固定用部材を構造物に対して個別にビス等により固定することにより行われる。そのため、固定用部材の連結時に横ずれが発生しやすいという問題がある。
【0007】
そこで、本発明においては、フレキシブル発光装置を構造物の壁面や天井面などに固定する長尺の複数の固定用部材を横ずれすることなく容易に連結することが可能なフレキシブル発光装置固定用具を提供することを目的とする。
【課題を解決するための手段】
【0008】
本発明のフレキシブル発光装置固定用具は、フレキシブル発光装置を収容部に収容して固定するためのフレキシブル発光装置固定用具であって、収容部の一部を形成する長尺の複数の固定用部材であり、所望の長さに切断されて用いられる複数の固定用部材と、複数の固定用部材の間に設けられ、複数の固定用部材同士を連結する連結用部材であり、収容部の一部を形成する連結用部材とを含み、複数の固定用部材は、長手方向に延びる連結用穴を有し、連結用部材は、複数の固定用部材のそれぞれの連結用穴に嵌合するピンを有することを特徴とする。
【0009】
本発明のフレキシブル発光装置固定用具によれば、複数の固定用部材の間に連結用部材を配置し、複数の固定用部材の長手方向に延びる連結用穴に連結用部材のピンを嵌合させることで、複数の固定用部材が連結用部材を介して一直線状に連結される。また、固定用部材を所望の長さに切断した際には、その切断端面に固定用部材の長手方向に延びる連結用穴が露出するので、この露出した連結用穴に連結用部材のピンを嵌合させることで、複数の固定用部材が連結用部材を介して一直線状に連結される。
【0010】
また、本発明のフレキシブル発光装置固定用具は、複数の固定用部材と連結用部材との当接部を覆うカバー部材を含むものであることが望ましい。これにより、複数の固定用部材と連結用部材との当接部からフレキシブル発光装置の光が漏れるのを防ぐことができる。
【発明の効果】
(【0011】以降は省略されています)
この特許をJ-PlatPat(特許庁公式サイト)で参照する
関連特許
エイテックス株式会社
フレキシブル発光装置固定用具
24日前
個人
室外機器
3か月前
個人
照明システム
3か月前
個人
LED光源基盤
8か月前
個人
気泡を用いた遊具。
5か月前
個人
車載機器の通気構造
1か月前
株式会社遠藤照明
照明器具
4か月前
株式会社遠藤照明
照明装置
24日前
株式会社遠藤照明
照明器具
8か月前
個人
LEDライト
3か月前
能美防災株式会社
表示灯
1か月前
株式会社小糸製作所
車両用灯具
6日前
株式会社小糸製作所
車両用灯具
6日前
デンカ株式会社
照明装置
3か月前
デンカ株式会社
道路用照明
3か月前
スタンレー電気株式会社
照射用光源
10日前
瀧住電機工業株式会社
ダクトレール
7か月前
株式会社小糸製作所
誘導装置
17日前
株式会社小糸製作所
投光装置
1か月前
フルトラム株式会社
光学機器
5日前
アクア株式会社
冷蔵庫
2か月前
株式会社小糸製作所
投光装置
1か月前
株式会社小糸製作所
車両用灯具
4か月前
株式会社小糸製作所
描画用灯具
6か月前
株式会社小糸製作所
車両用灯具
3か月前
常盤電業株式会社
表示機
7か月前
国楽(香港)有限公司
照明器具
8か月前
株式会社小糸製作所
表示用灯具
10日前
株式会社小糸製作所
車両用灯具
6か月前
株式会社小糸製作所
車両用灯具
4か月前
株式会社小糸製作所
車両用灯具
7か月前
株式会社小糸製作所
表示用灯具
10日前
株式会社小糸製作所
車両用灯具
6か月前
株式会社小糸製作所
車両用灯具
6か月前
株式会社小糸製作所
車両用灯具
3か月前
株式会社小糸製作所
車両用灯具
6か月前
続きを見る
他の特許を見る