TOP
|
特許
|
意匠
|
商標
特許ウォッチ
Twitter
他の特許を見る
10個以上の画像は省略されています。
公開番号
2025137197
公報種別
公開特許公報(A)
公開日
2025-09-19
出願番号
2024036260
出願日
2024-03-08
発明の名称
収納装置
出願人
株式会社オカムラ
代理人
個人
主分類
A47B
51/00 20060101AFI20250911BHJP(家具;家庭用品または家庭用設備;コーヒーひき;香辛料ひき;真空掃除機一般)
要約
【課題】収納効率を高め、利用者にとっての利便性を高める収納装置を提供する。
【解決手段】収納装置は、物品を収容可能な収容ボックスを収納可能な棚部を複数段備える収納棚と、収納棚に収納された収容ボックスを水平第二方向に沿って収納棚に対して出し入れ可能、かつ、収容ボックスを水平第一方向および上下方向に搬送可能な搬送器を備えた搬送機構と、収納棚、および搬送機構の少なくとも側方全周を囲み、収納棚及び搬送機構が収納された収納空間を形成する収納空間形成部と、を備え、収納空間形成部には、収納空間内外を連通し、搬送器により、収容ボックスを床面に沿って搬送可能なカートと搬送器との間で収容ボックスが移載可能とされた連通開口が形成され、カートを、連通開口に向かい合った状態で、搬送器による収容ボックスの移載方向への移動を拘束する拘束機構を備える。
【選択図】図7
特許請求の範囲
【請求項1】
物品を収容可能な収容ボックスを床面と平行な水平第一方向に複数並べて収納可能な棚部を、上下方向に複数段備える収納棚と、
前記収納棚に対し、水平第一方向および上下方向に交差する水平第二方向に隣り合って配置され、前記収納棚に収納された前記収容ボックスを水平第二方向に沿って前記収納棚に対して出し入れ可能、かつ、前記収容ボックスを水平第一方向および上下方向に搬送可能な搬送器を備えた搬送機構と、
前記収納棚、および前記搬送機構の少なくとも側方全周を囲み、前記収納棚及び前記搬送機構が収納された収納空間を形成する収納空間形成部と、を備え、
前記収納空間形成部には、前記収納空間の内外を連通し、前記搬送器により、前記収容ボックスを前記床面に沿って搬送可能なカートと前記搬送器との間で前記収容ボックスが移載可能とされた連通開口が形成され、
前記カートを前記連通開口に向かい合わせた状態で保持するとともに、前記収容ボックスの移載方向において前記カートの移動を拘束する拘束機構を備えている
収納装置。
続きを表示(約 1,400 文字)
【請求項2】
前記拘束機構は、水平面内で前記移載方向に交差する交差方向への前記カートの移動を拘束する
請求項1に記載の収納装置。
【請求項3】
前記拘束機構は、
前記移載方向において前記搬送器に接近する側への前記カートの移動を規制する移動規制部と、
前記移載方向において前記搬送器から離間する側への前記カートの移動を拘束するカート拘束部と、を備える
請求項1又は2に記載の収納装置。
【請求項4】
前記カートは、水平面内で前記移載方向に交差する交差方向に間隔をあけて、それぞれ上下方向に延びる一対の柱状部を有し、
前記カート拘束部は、
一対の前記柱状部を、前記移載方向において前記移動規制部に押し付ける押し付け部材を備える
請求項3に記載の収納装置。
【請求項5】
前記押し付け部材は、前記交差方向に間隔をあけて設けられ、それぞれ上下方向に延びる回動軸周りに回動可能に設けられた一対のアームを有し、
前記拘束機構は、一対の前記アームが一対の前記柱状部に各別に接触した状態で回動することで、一対の前記柱状部を介して前記カートを前記移動規制部に押し付ける
請求項4に記載の収納装置。
【請求項6】
複数段の前記棚部のうち最下段の前記棚部の下方に、前記収容ボックスを前記床面に沿って搬送可能なカートが収容可能であるとともに、前記連通開口を通じて前記収納空間に連通するカート収容部が設けられ、
前記収納空間形成部には、前記カート収容部の内外を連通させるとともに、前記カートが出入り可能なカート出入口が形成され、
前記拘束機構は、前記カート収容部に収容された前記カートの、前記移載方向への移動を拘束する
請求項1又は2に記載の収納装置。
【請求項7】
前記搬送器は、前記カート収容部に収容された前記カートに対し、前記連通開口を通じて前記収容ボックスを水平第二方向に出し入れ可能である
請求項6に記載の収納装置。
【請求項8】
前記収納空間形成部は、
前記収納棚に対して水平第一方向の一方側に設けられた第一壁部と、
前記搬送機構に対して水平第一方向の一方側に設けられ、前記第一壁部よりも水平第一方向の一方側に突出した突出部と、を備え、
前記突出部には、前記連通開口とは異なる位置で前記収納空間の内外を連通させるとともに、前記搬送器により搬送される前記収容ボックスを、水平第二方向に出し入れ可能な開口が形成されている
請求項1又は2に記載の収納装置。
【請求項9】
前記拘束機構の動作を制御するコントローラをさらに備え、
前記コントローラは、前記搬送器による前記搬送器と前記カートとの間における前記収容ボックスの移載動作を行っている間、前記拘束機構により前記カートを拘束させる
請求項1又は2に記載の収納装置。
【請求項10】
前記コントローラは、
前記搬送器による前記搬送器と前記カートとの間における前記収容ボックスの移載動作が完了した場合、および、前記搬送器による前記搬送器と前記カートとの間における前記収容ボックスの移載動作が完了し、外部からの指令信号の入力を受け付けた場合、の何れかにおいて、前記拘束機構による前記カートの拘束を解除する
請求項9に記載の収納装置。
発明の詳細な説明
【技術分野】
【0001】
本発明は、収納装置に関する。
続きを表示(約 2,900 文字)
【背景技術】
【0002】
従来、オフィス等の執務空間においては、業務を行う際、予め、利用者ごとに割り当てられたデスクを利用していた。これに対し、近年、複数のデスクの中から、空いているデスクを利用者が自由に選択して利用する、いわゆるフリーアドレス化が図られることがある。
【0003】
この場合、利用者は、自らが使用する書類、文具、ノート型PC(パーソナルコンピュータ)等の使用物を、ロッカーや収納棚等の収納什器に収納しておく。デスクを利用する際、利用者は、使用物を収納什器から取り出し、利用するデスクまで運ぶ。デスクの利用を終了する際、利用者は、使用物をデスクから収納什器に戻す。
【0004】
このような使用物を収納する収納什器として、例えば、特許文献1には、利用者(従業員)ごとに割り当てられ、使用物(収納物)を収納可能で、鍵付き扉を備えた構成が開示されている。
【先行技術文献】
【特許文献】
【0005】
特許第7372400号公報
【発明の概要】
【発明が解決しようとする課題】
【0006】
しかしながら、特許文献1に開示された構成においては、執務空間の利用者の数に応じた収納庫が必要なため、利用者の数によっては、収納什器が大型化してしまう。このため、収納什器における収納効率を高めることが望まれる。
また、特許文献1に開示された構成においては、利用者は、使用物を収納什器から出し入れする際、自らに割り当てられた収納庫の位置まで赴く必要がある。収納什器は、執務空間の有効利用を図るため、執務空間の壁面に沿った位置等に設けられることも多い。このため、収納庫からデスクまでの距離が長くなり、使用物を運ぶのに手間が掛かることもある。
さらに、収納什器に使用物を出し入れする際には、使用物を出し入れする手間に加え、鍵入れ扉の開閉にも手間が掛かる。さらに、収納庫の高さによっては、しゃがんだり、背を伸ばしたり等が必要であり、身体に負荷が掛かることもある。
これらのことから、収納効率を高め、利用者にとっての利便性を高めることが望まれる。
本発明は、収納効率を高め、利用者にとっての利便性を高めることができる収納装置を提供することを目的とする。
【課題を解決するための手段】
【0007】
上記課題を解決するために、本発明は以下の態様を採用した。
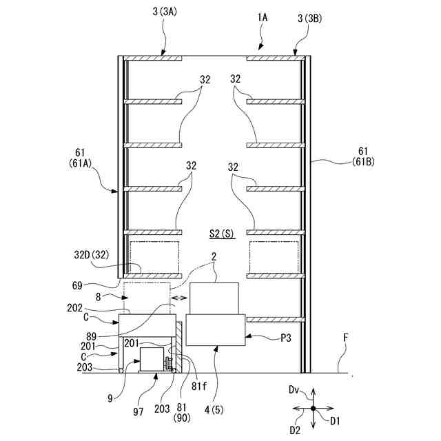
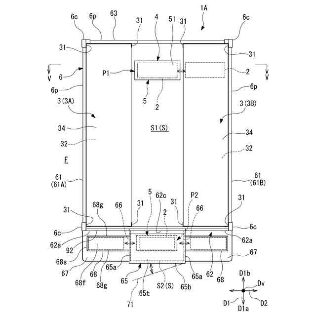
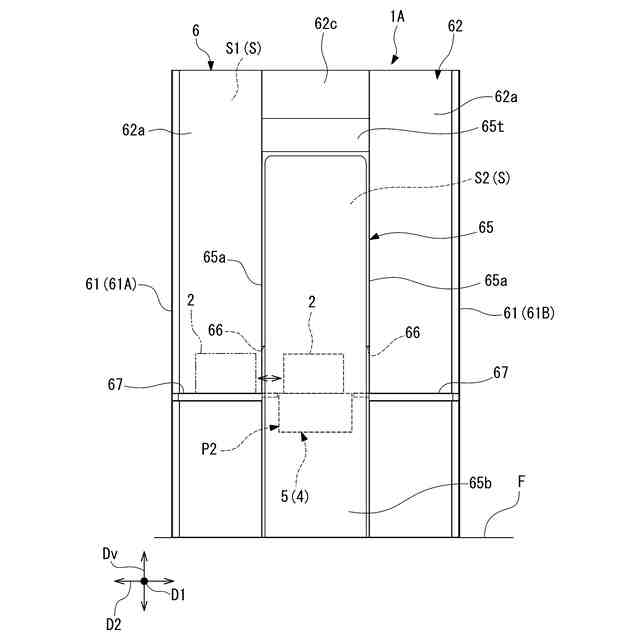
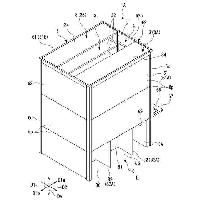
(1)本発明の一態様に係る収納装置は、物品を収容可能な収容ボックスを床面と平行な水平第一方向に複数並べて収納可能な棚部を、上下方向に複数段備える収納棚と、前記収納棚に対し、水平第一方向および上下方向に交差する水平第二方向に隣り合って配置され、前記収納棚に収納された前記収容ボックスを水平第二方向に沿って前記収納棚に対して出し入れ可能、かつ、前記収容ボックスを水平第一方向および上下方向に搬送可能な搬送器を備えた搬送機構と、前記収納棚、および前記搬送機構の少なくとも側方全周を囲み、前記収納棚及び前記搬送機構が収納された収納空間を形成する収納空間形成部と、を備え、前記収納空間形成部には、前記収納空間の内外を連通し、前記搬送器により、前記収容ボックスを前記床面に沿って搬送可能なカートと前記搬送器との間で前記収容ボックスが移載可能とされた連通開口が形成され、前記カートを前記連通開口に向かい合わせた状態で保持するとともに、前記収容ボックスの移載方向において前記カートの移動を拘束する拘束機構を備えている。
本態様によれば、搬送器が、収納棚および搬送機構間での収容ボックスの出し入れ、連通開口を通したカートと搬送器との間での収容ボックスの出し入れを行うので、手間が掛からず、利用者の身体への負担も抑えられる。
また、収容ボックスは、収納棚に収容されるため、個別の収納庫に比較し、搬送器による収容ボックスの搬送によって人手が届きにくい低い箇所、高い箇所にも収容ボックスを収納でき、収容効率に優れる。このように、収容効率に優れるので、収納装置全体の平面視での小型化が図れ、執務空間の壁面に沿った位置に限らず、収納装置のレイアウトの自由度が高まる。これにより、利用者が収納装置とデスクとの間で収容ボックスを運搬する際の手間も抑えられる。
また、搬送器により、カートと搬送器との間で収容ボックスを移載する際、カートを連通開口に向かい合わせた状態で、拘束機構によって移載方向へのカートの移動を拘束することにより、カートが移載方向にずれるのを抑えることができる。これにより、カートと搬送器との間に過大な隙間が生じるのを抑えることができる。したがって、カートと搬送器との間で収容ボックスを移載する際、カートと搬送器との間で収容ボックスを円滑に移載することができる。
このような収納装置によれば、収納効率を高め、利用者にとっての利便性を高めることが可能となる。
【0008】
(2)上記(1)の態様に係る収納装置において、前記拘束機構は、水平面内で前記移載方向に交差する交差方向への前記カートの移動を拘束することが好ましい。
本態様によれば、搬送器により、カートと搬送器との間で収容ボックスを移載する際、拘束機構により、移載方向に交差する交差方向へのカートの移動を拘束することより、カートと搬送器との間に、交差方向への過大な位置ずれが生じるのを抑えることができる。これにより、カートと搬送器との間で収容ボックスを円滑に移載することができる。
【0009】
(3)上記(1)又は(2)の態様に係る収納装置において、前記拘束機構は、前記移載方向において前記搬送器に接近する側への前記カートの移動を規制する移動規制部と、前記移載方向において前記搬送器から離間する側への前記カートの移動を拘束するカート拘束部と、を備えることが好ましい。
本態様によれば、移動規制部により、移載方向において搬送器に接近する側へのカートの移動を規制しつつ、カート拘束部により、移載方向において搬送器から離間する側へのカートの移動を拘束することで、移載方向における搬送器に対するカートの位置を規定しつつ、カートの移載方向への移動を拘束することができる。
【0010】
(4)上記(3)の態様に係る収納装置において、前記カートは、水平面内で前記移載方向に交差する交差方向に間隔をあけて、それぞれ上下方向に延びる一対の柱状部を有し、前記カート拘束部は、一対の前記柱状部を、前記移載方向において前記移動規制部に押し付ける押し付け部材を備えることが好ましい。
本態様によれば、押し付け部材で、一対の柱状部を移載方向において移動規制部に押し付けることで、カートの移載方向への移動を拘束することができる。
(【0011】以降は省略されています)
この特許をJ-PlatPat(特許庁公式サイト)で参照する
関連特許
株式会社オカムラ
台車
1か月前
株式会社オカムラ
椅子
3か月前
株式会社オカムラ
椅子
2か月前
株式会社オカムラ
椅子
2か月前
株式会社オカムラ
台車
1か月前
株式会社オカムラ
台車
1か月前
株式会社オカムラ
収納装置
16日前
株式会社オカムラ
収納装置
16日前
株式会社オカムラ
収納装置
16日前
株式会社オカムラ
収納装置
16日前
株式会社オカムラ
天板付什器
1か月前
株式会社オカムラ
天板付什器
1か月前
株式会社オカムラ
防水板装置
17日前
株式会社オカムラ
天板付什器
6日前
株式会社オカムラ
天板付什器
6日前
株式会社オカムラ
什器システム
16日前
株式会社オカムラ
ショーケース
1か月前
株式会社オカムラ
収納ボックス
16日前
株式会社オカムラ
管理システム
1か月前
株式会社オカムラ
空間形成用什器
18日前
株式会社オカムラ
移動間仕切装置
9日前
株式会社オカムラ
移動間仕切装置
9日前
株式会社オカムラ
天板昇降式什器
16日前
株式会社オカムラ
天板昇降式什器
16日前
株式会社オカムラ
天板昇降式什器
1か月前
株式会社オカムラ
間仕切装置の支柱
3か月前
株式会社オカムラ
故障予知システム
10日前
株式会社オカムラ
間仕切パネル装置
10日前
株式会社オカムラ
モバイルバッテリ
6日前
株式会社オカムラ
オフィス収納装置
16日前
株式会社オカムラ
ショッピングカート
1か月前
株式会社オカムラ
ショッピングカート
1か月前
株式会社オカムラ
ショッピングカート
1か月前
株式会社オカムラ
ショッピングカート
1か月前
株式会社オカムラ
パネル構造体及び什器
3か月前
株式会社オカムラ
天板付什器、什器システム
6日前
続きを見る
他の特許を見る