TOP
|
特許
|
意匠
|
商標
特許ウォッチ
Twitter
他の特許を見る
10個以上の画像は省略されています。
公開番号
2025137195
公報種別
公開特許公報(A)
公開日
2025-09-19
出願番号
2024036258
出願日
2024-03-08
発明の名称
収納装置
出願人
株式会社オカムラ
,
株式会社富士精工本社
代理人
個人
主分類
B65G
1/04 20060101AFI20250911BHJP(運搬;包装;貯蔵;薄板状または線条材料の取扱い)
要約
【課題】収納効率を高め、利用者にとっての利便性を高める収納装置を提供する。
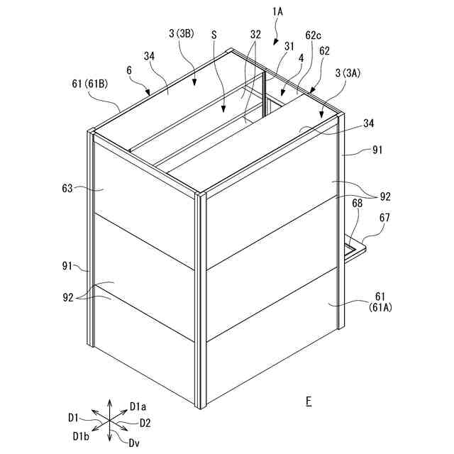
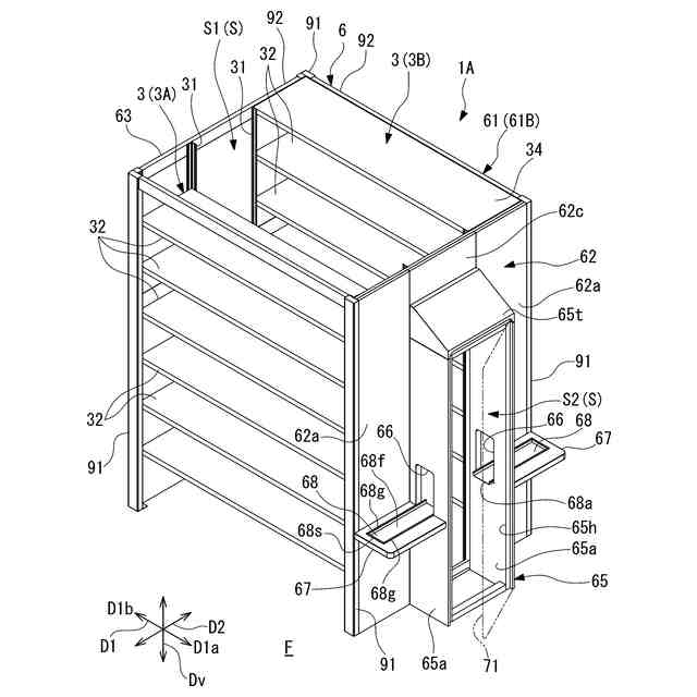
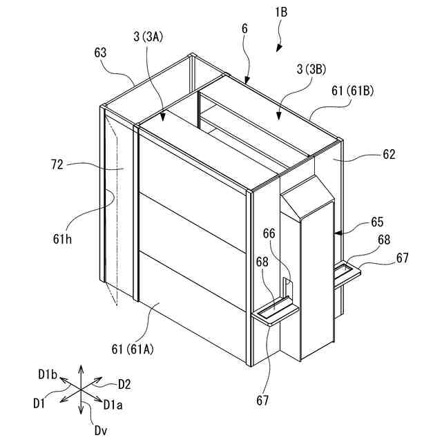
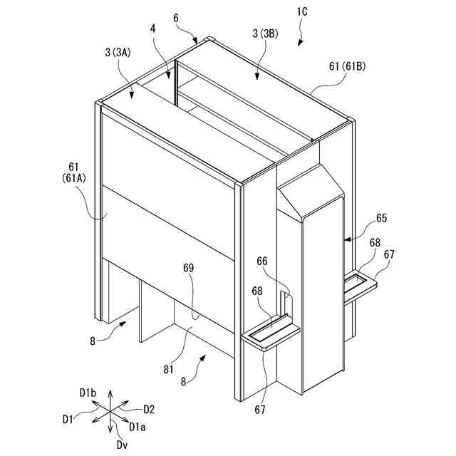
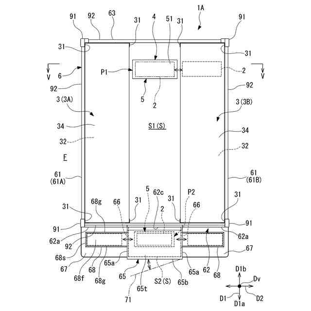
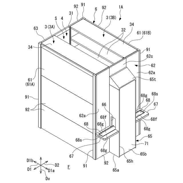
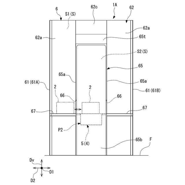
【解決手段】収納装置1Aは、収容ボックス2を収納可能な収納棚3と、収納棚3に収納された収容ボックス2を水平第二方向D2に沿って出し入れ可能、かつ、収容ボックス2を水平第一方向D1および上下方向Dvに搬送可能な搬送器5を備えた搬送機構4と、収納棚3および搬送機構4が収納された収納空間Sを形成する収納空間形成部6と、を備え、収納空間形成部6は、収納棚3に対して水平第一方向D1の一方側D1aに設けられた第一壁部62aと、第一壁部62aよりも水平第一方向D1の一方側D1aに突出した突出部65と、を備え、突出部65のうち、水平第二方向D2を向く第二壁部65aには、搬送器5により搬送される収容ボックス2を、水平第二方向D2に出し入れ可能な開口66が形成されている。
【選択図】図1
特許請求の範囲
【請求項1】
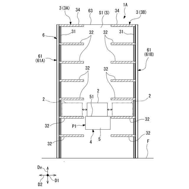
物品を収容可能な収容ボックスを床面と平行な水平第一方向に複数並べて収納可能な棚部を、上下方向に複数段備える収納棚と、
前記収納棚に対し、水平第一方向および上下方向に交差する水平第二方向に隣り合って配置され、前記収納棚に収納された前記収容ボックスを水平第二方向に沿って出し入れ可能、かつ、前記収容ボックスを水平第一方向および上下方向に搬送可能な搬送器を備えた搬送機構と、
前記収納棚、および前記搬送機構の少なくとも側方全周を囲み、前記収納棚および前記搬送機構が収納された収納空間を形成する収納空間形成部と、を備え、
前記収納空間形成部は、
前記収納棚に対して水平第一方向の一方側に設けられ、水平第一方向の一方側を向く第一壁部と、
前記搬送機構に対して水平第一方向の一方側に設けられ、前記第一壁部よりも水平第一方向の一方側に突出した突出部と、を備え、
前記突出部には、前記収納空間の内外を水平第二方向に連通させるとともに、前記搬送器により搬送される前記収容ボックスを、水平第二方向に出し入れ可能な開口が形成されている
収納装置。
続きを表示(約 970 文字)
【請求項2】
前記突出部は、
前記第一壁部から水平第一方向の一方側に延びるとともに、前記開口が形成された第二壁部と、
前記第二壁部における水平第一方向の一方側の端部から水平第二方向に延びるとともに、水平第一方向の一方側を向く第三壁部と、を少なくとも有する
請求項1の収納装置。
【請求項3】
前記第二壁部のうち前記開口よりも下方に位置する部分には、前記開口を通して出し入れする前記収容ボックスを載置可能な載置台をさらに備える
請求項2の収納装置。
【請求項4】
前記搬送器は、
前記収納棚と水平第二方向で向かい合った状態で前記収納棚に前記収容ボックスを出し入れする第一位置と、
前記収納空間内で、前記開口と水平第二方向で向かい合った状態で、前記開口を通じて前記収納空間の内外に前記収容ボックスを出し入れ可能な第二位置と、の間で移動可能に構成されている
請求項1又は請求項2に記載の収納装置。
【請求項5】
前記第三壁部には、前記第三壁部に形成された第一メンテナンス開口を開閉可能な第一開閉扉が設けられている
請求項2の収納装置。
【請求項6】
前記収納空間形成部のうち、前記収納空間の水平第二方向を区画する側壁部には、前記側壁部に形成された第二メンテナンス開口を開閉可能な第二開閉扉が設けられている
請求項1または2の収納装置。
【請求項7】
前記収納棚は、前記搬送機構に対して水平第二方向の両側に設けられて、
前記開口は、前記突出部のうち水平第二方向の両側に設けられている
請求項1または2の収納装置。
【請求項8】
前記床面から上方に離間して設けられた最下段の前記棚部の下方に、前記収容ボックスを前記床面に沿って搬送可能なカートが収容可能なカート収容部を更に備え、
前記収納空間形成部は、前記カート収容部に収容される前記カートが収納空間形成部の内外に移動可能なカート出入口を有し、
前記搬送器は、前記カート収容部に収容された前記カートに対し、前記収容ボックスを水平第二方向に出し入れ可能である
請求項1または2の収納装置。
発明の詳細な説明
【技術分野】
【0001】
本発明は、収納装置に関する。
続きを表示(約 3,300 文字)
【背景技術】
【0002】
従来、オフィス等の執務空間においては、業務を行う際、予め、利用者ごとに割り当てられたデスクを利用していた。これに対し,近年、複数のデスクの中から、空いているデスクを利用者が自由に選択して利用する、いわゆるフリーアドレス化が図られることがある。
【0003】
この場合、利用者は、自らが使用する書類、文具、ノート型PC(パーソナルコンピュータ)等の使用物を、ロッカーや収納棚等の収納什器に収納しておく。デスクを利用する際、利用者は、使用物を収納什器から取り出し、利用するデスクまで運ぶ。デスクの利用を終了する際、利用者は、使用物をデスクから収納什器に戻す。
【0004】
このような使用物を収納する収納什器として、例えば、特許文献1には、利用者(従業員)ごとに割り当てられ、使用物(収納物)を収納可能で、鍵付き扉を備えた構成が開示されている。
【先行技術文献】
【特許文献】
【0005】
特許第7372400号公報
【発明の概要】
【発明が解決しようとする課題】
【0006】
しかしながら、特許文献1に開示された構成においては、執務空間の利用者の数に応じた収納庫が必要なため、利用者の数によっては、収納什器が大型化してしまう。このため、収納什器における収納効率を高めることが望まれる。
また、特許文献1に開示された構成においては、利用者は、使用物を収納什器から出し入れする際、自らに割り当てられた収納庫の位置まで赴く必要がある。収納什器は、執務空間の有効利用を図るため、執務空間の壁面に沿った位置等に設けられることも多い。このため、収納庫からデスクまでの距離が長くなり、使用物を運ぶのに手間が掛かることもある。
さらに、収納什器に使用物を出し入れする際には、使用物を出し入れする手間に加え、鍵入れ扉の開閉にも手間が掛かる。さらに、収納庫の高さによっては、しゃがんだり、背を伸ばしたり等が必要であり、身体に負荷が掛かることもある。
これらのことから、収納効率を高め、利用者にとっての利便性を高めることが望まれる。
本発明は、収納効率を高め、利用者にとっての利便性を高めることができる収納装置を提供することを目的とする。
【課題を解決するための手段】
【0007】
上記課題を解決するために、本発明は以下の態様を採用した。
(1)本発明の一態様に係る収納装置は、物品を収容可能な収容ボックスを床面と平行な水平第一方向に複数並べて収納可能な棚部を、上下方向に複数段備える収納棚と、前記収納棚に対し、水平第一方向および上下方向に交差する水平第二方向に隣り合って配置され、前記収納棚に収納された前記収容ボックスを水平第二方向に沿って出し入れ可能、かつ、前記収容ボックスを水平第一方向および上下方向に搬送可能な搬送器を備えた搬送機構と、前記収納棚、および前記搬送機構の少なくとも側方全周を囲み、前記収納棚および前記搬送機構が収納された収納空間を形成する収納空間形成部と、を備え、前記収納空間形成部は、前記収納棚に対して水平第一方向の一方側に設けられ、水平第一方向の一方側を向く第一壁部と、前記搬送機構に対して水平第一方向の一方側に設けられ、前記第一壁部よりも水平第一方向の一方側に突出した突出部と、を備え、前記突出部には、前記収納空間の内外を水平第二方向に連通させるとともに、前記搬送器により搬送される前記収容ボックスを、水平第二方向に出し入れ可能な開口が形成されている。
本態様によれば、搬送器が、収納棚および搬送機構間での収容ボックスの出し入れ、開口を通した収納空間の内外での収容ボックスの出し入れを行うので、手間が掛からず、利用者の身体への負担も抑えられる。
また、搬送器における、収納棚および搬送機構間での収容ボックスの出し入れ、開口を通した収納空間の内外での収容ボックスの出し入れの方向は、いずれも水平第二方向である。このため、収納棚および搬送機構間での収容ボックスの出し入れ、および、開口を通した収納空間の内外での収容ボックスの出し入れ、を行うための搬送器の構成をシンプルなものとすることができる。
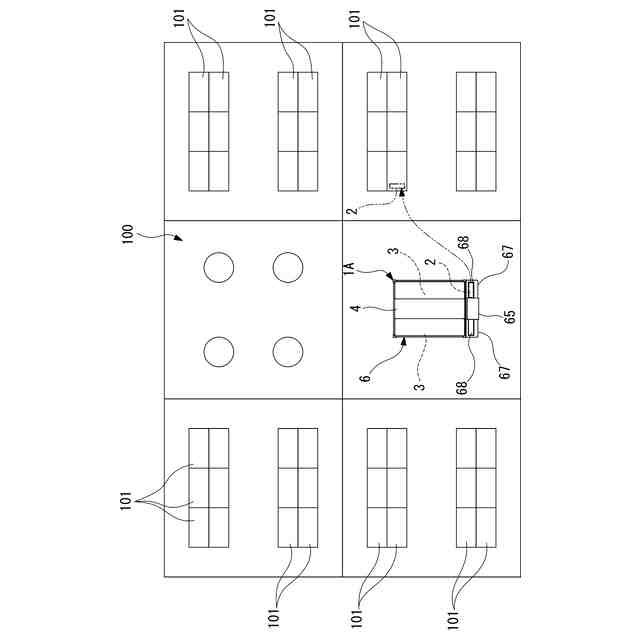
収容ボックスは、収納棚に収容されるため、個別の収納庫に比較し、搬送器による収容ボックスの搬送によって人手が届きにくい低い箇所、高い箇所にも収容ボックスを収納でき、収容効率に優れる。このように、収容効率に優れるので、収納装置全体の平面視での小型化が図れ、執務空間の壁面に沿った位置に限らず、収納装置のレイアウトの自由度が高まる。これにより、利用者が収納装置とデスクとの間で収容ボックスを運搬する際の手間も抑えられる。
また、収容ボックスは、第一壁部よりも水平第一方向の一方側に突出した位置で、開口を通して出し入れするので、突出部に対して水平第一方向の一方側に、収容ボックスを出し入れするためのスペースが必要なく、室内空間のスペースを有効利用できる。
このような収納装置によれば、収納効率を高め、利用者にとっての利便性を高めることが可能となる。
【0008】
(2)上記(1)の態様に係る収納装置において、前記突出部は、前記第一壁部から水平第一方向の一方側に延びるとともに、前記開口が形成された第二壁部と、前記第二壁部における水平第一方向の一方側の端部から水平第二方向に延びるとともに、水平第一方向の一方側を向く第三壁部と、を少なくとも有することが好ましい。
本態様によれば、突出部を形成する第二壁部、および第三壁部に対して収納空間の内側に搬送器を位置させた状態で、開口を通して収容ボックスを水平第二方向に出し入れできる。このように、搬送器を突出部に位置させた状態で、開口を通した収納空間の内外での収容ボックスの出し入れが行える。したがって、第一壁部に対して水平第一方向の他方側に、開口を通した収納空間の内外での収容ボックスの出し入れを行うためのスペースを確保する必要が無く、その分、収納空間形成部内で、収納棚を大きくすることができ、収容ボックスの収納数を増大させることができる。
【0009】
(3)上記(2)の態様に係る収納装置において、前記第二壁部のうち前記開口よりも下方に位置する部分には、前記開口を通して出し入れする前記収容ボックスを載置可能な載置台をさらに備えることが好ましい。
本態様によれば、カバー内の搬送器によって出し入れされる収容ボックスを載置台に載置できるため、開口を通して出し入れされる収容ボックスについて、持ち運びの負担を軽減できる。
【0010】
(4)上記(1)から(3)の何れかの態様に係る収納装置において、前記搬送器は、前記収納棚と水平第二方向で向かい合った状態で前記収納棚に前記収容ボックスを出し入れする第一位置と、前記収納空間内で、前記開口と水平第二方向で向かい合った状態で、前記開口を通じて前記収納空間の内外に前記収容ボックスを出し入れ可能な第二位置と、の間で移動可能に構成されていることが好ましい。
本態様によれば、搬送器が第一位置と第二位置との間で移動可能であるため、第一位置で収納棚から取り出した収容ボックスを搬送器で第二位置まで搬送した後、開口を通じて収納空間の内側から外側に収容ボックスを搬出し、第二位置で開口を通じて収納空間の外側から内側に収容ボックスを搬入し、搬送器で第一位置まで搬送した後、収容ボックスを収納棚に入れることができる。すなわち、収容ボックスを収納棚に出し入れする収納作業空間である第一位置、及び収容ボックスを収納空間の内外に出し入れする受け渡し作業空間である第二位置の双方に跨って搬送器が移動する。これにより、収容ボックスのスムーズな預け入れ、取り出しが可能となる。
(【0011】以降は省略されています)
この特許をJ-PlatPat(特許庁公式サイト)で参照する
関連特許
株式会社オカムラ
台車
1か月前
株式会社オカムラ
台車
1か月前
株式会社オカムラ
台車
1か月前
株式会社オカムラ
収納装置
13日前
株式会社オカムラ
収納装置
13日前
株式会社オカムラ
収納装置
13日前
株式会社オカムラ
収納装置
13日前
株式会社オカムラ
防水板装置
14日前
株式会社オカムラ
天板付什器
1か月前
株式会社オカムラ
天板付什器
3日前
株式会社オカムラ
天板付什器
3日前
株式会社オカムラ
天板付什器
1か月前
株式会社オカムラ
収納ボックス
13日前
株式会社オカムラ
ショーケース
1か月前
株式会社オカムラ
什器システム
13日前
株式会社オカムラ
天板昇降式什器
29日前
株式会社オカムラ
移動間仕切装置
6日前
株式会社オカムラ
移動間仕切装置
6日前
株式会社オカムラ
天板昇降式什器
13日前
株式会社オカムラ
天板昇降式什器
13日前
株式会社オカムラ
空間形成用什器
15日前
株式会社オカムラ
間仕切パネル装置
7日前
株式会社オカムラ
故障予知システム
7日前
株式会社オカムラ
オフィス収納装置
13日前
株式会社オカムラ
モバイルバッテリ
3日前
株式会社オカムラ
ショッピングカート
1か月前
株式会社オカムラ
ショッピングカート
1か月前
株式会社オカムラ
天板付什器、什器システム
3日前
株式会社オカムラ
天板付什器、什器システム
3日前
株式会社オカムラ
什器ユニットおよび天板付什器
3日前
株式会社オカムラ
天板付き什器、及び、什器ユニット
3日前
株式会社オカムラ
空間形成什器ユニット、及び、空間形成什器
27日前
株式会社オカムラ
制御装置、収納システム、端末装置及びプログラム
13日前
株式会社オカムラ
制御装置、収納システム、端末装置及びプログラム
13日前
株式会社オカムラ
椅子
22日前
株式会社オカムラ
ブース
2日前
続きを見る
他の特許を見る