TOP
|
特許
|
意匠
|
商標
特許ウォッチ
Twitter
他の特許を見る
10個以上の画像は省略されています。
公開番号
2025137183
公報種別
公開特許公報(A)
公開日
2025-09-19
出願番号
2024036238
出願日
2024-03-08
発明の名称
収納装置
出願人
株式会社オカムラ
代理人
個人
主分類
A47B
96/02 20060101AFI20250911BHJP(家具;家庭用品または家庭用設備;コーヒーひき;香辛料ひき;真空掃除機一般)
要約
【課題】収納効率を高め、利用者にとっての利便性を高めるとともに、物品の収納以外での利用価値の向上を図ることができる収納装置を提供する。
【解決手段】収納装置は、収容ボックスを収納可能な棚部を、複数段備える収納棚と、収納棚に収納された収容ボックスを水平第二方向に沿って収納棚に対して出し入れ可能、かつ、収容ボックスを水平第一方向および上下方向に搬送可能な搬送器を備えた搬送機構と、収納棚及び搬送機構が収納された収納空間を形成する収納空間形成部と、を備え、収納空間形成部には、収納空間の内外を連通させるとともに、搬送器により搬送される収容ボックスを収納空間の内外で出し入れ可能な開口が形成され、収納空間形成部の少なくとも一部に、収納空間形成部の外部から利用可能であるとともに、収納空間の内外での収容ボックスの出し入れとは異なる機能を有する機能部が設けられている。
【選択図】図1
特許請求の範囲
【請求項1】
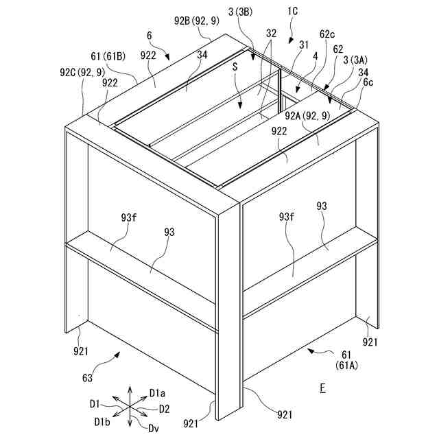
物品を収容可能な収容ボックスを床面と平行な水平第一方向に複数並べて収納可能な棚部を、上下方向に複数段備える収納棚と、
前記収納棚に対し、水平第一方向および上下方向に交差する水平第二方向に隣り合って配置され、前記収納棚に収納された前記収容ボックスを水平第二方向に沿って前記収納棚に対して出し入れ可能、かつ、前記収容ボックスを水平第一方向および上下方向に搬送可能な搬送器を備えた搬送機構と、
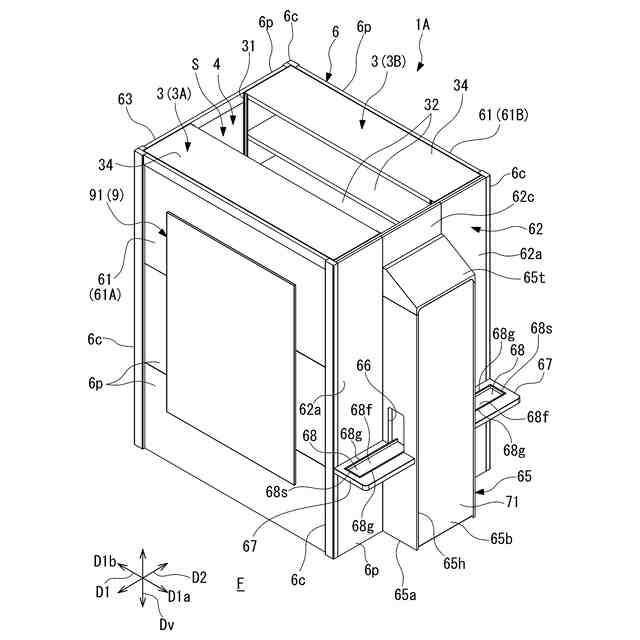
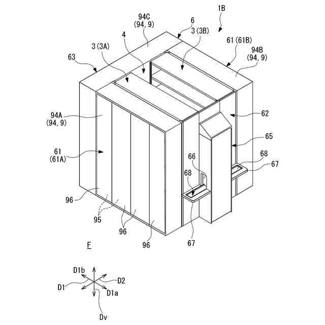
前記収納棚、および前記搬送機構の少なくとも側方全周を囲み、前記収納棚及び前記搬送機構が収納された収納空間を形成する収納空間形成部と、を備え、
前記収納空間形成部には、前記収納空間の内外を連通させるとともに、前記搬送器により搬送される前記収容ボックスを前記収納空間の内外で出し入れ可能な開口が形成され、
前記収納空間形成部のうち、少なくとも一部に、前記収納空間形成部の外部から利用可能であるとともに、前記収納空間の内外での前記収容ボックスの出し入れとは異なる機能を有する機能部が設けられている
収納装置。
続きを表示(約 340 文字)
【請求項2】
前記機能部として、物品を収納可能な収納什器が設けられている
請求項1に記載の収納装置。
【請求項3】
前記機能部として、物品を載置可能な天板、および前記天板を有した天板付什器のうちの少なくとも一方が設けられている
請求項1に記載の収納装置。
【請求項4】
前記機能部として、利用者が着座可能な着座用什器が設けられている
請求項1に記載の収納装置。
【請求項5】
前記機能部として、オプション部材を係止可能な係止部材が設けられている
請求項1に記載の収納装置。
【請求項6】
前記機能部として、情報を表示可能な情報表示部が設けられている
請求項1に記載の収納装置。
発明の詳細な説明
【技術分野】
【0001】
本発明は、収納装置に関する。
続きを表示(約 2,100 文字)
【背景技術】
【0002】
従来、オフィス等の執務空間においては、業務を行う際、予め、利用者ごとに割り当てられたデスクを利用していた。これに対し、近年、複数のデスクの中から、空いているデスクを利用者が自由に選択して利用する、いわゆるフリーアドレス化が図られることがある。
【0003】
この場合、利用者は、自らが使用する書類、文具、ノート型PC(パーソナルコンピュータ)等の使用物を、ロッカーや収納棚等の収納什器に収納しておく。デスクを利用する際、利用者は、使用物を収納什器から取り出し、利用するデスクまで運ぶ。デスクの利用を終了する際、利用者は、使用物をデスクから収納什器に戻す。
【0004】
このような使用物を収納する収納什器として、例えば、特許文献1には、利用者(従業員)ごとに割り当てられ、使用物(収納物)を収納可能で、鍵付き扉を備えた構成が開示されている。
【先行技術文献】
【特許文献】
【0005】
特許第7372400号公報
【発明の概要】
【発明が解決しようとする課題】
【0006】
しかしながら、特許文献1に開示された構成においては、執務空間の利用者の数に応じた収納庫が必要なため、利用者の数によっては、収納什器が大型化してしまう。このため、収納什器における収納効率を高めることが望まれる。
また、収納什器に使用物を出し入れする際には、使用物を出し入れする手間に加え、鍵入れ扉の開閉にも手間が掛かる。さらに、収納庫の高さによっては、しゃがんだり、背を伸ばしたり等が必要であり、身体に負荷が掛かることもある。
【0007】
一方、収納什器は、無機質な印象を与え易く、少なくとも始業時や終業時に立ち寄る場所でありながら、使用物の出し入れにしか供されない現状があった。そのため、収納什器の周囲において、物品の収納以外での利用価値の向上が望まれていた。
【0008】
本発明は、収納効率を高め、利用者にとっての利便性を高めることができるとともに、物品の収納以外での利用価値の向上を図ることができる収納装置を提供することを目的とする。
【課題を解決するための手段】
【0009】
上記課題を解決するために、本発明は以下の態様を採用した。
(1)本発明の一態様に係る収納装置は、物品を収容可能な収容ボックスを床面と平行な水平第一方向に複数並べて収納可能な棚部を、上下方向に複数段備える収納棚と、前記収納棚に対し、水平第一方向および上下方向に交差する水平第二方向に隣り合って配置され、前記収納棚に収納された前記収容ボックスを水平第二方向に沿って前記収納棚に対して出し入れ可能、かつ、前記収容ボックスを水平第一方向および上下方向に搬送可能な搬送器を備えた搬送機構と、前記収納棚、および前記搬送機構の少なくとも側方全周を囲み、前記収納棚及び前記搬送機構が収納された収納空間を形成する収納空間形成部と、を備え、前記収納空間形成部には、前記収納空間の内外を連通させるとともに、前記搬送器により搬送される前記収容ボックスを前記収納空間の内外で出し入れ可能な開口が形成され、前記収納空間形成部のうち、少なくとも一部に、前記収納空間形成部の外部から利用可能であるとともに、前記収納空間の内外での前記収容ボックスの出し入れとは異なる機能を有する機能部が設けられている。
本態様によれば、搬送器が、収納棚および搬送機構間での収容ボックスの出し入れ、開口を通した収納空間の内外での収容ボックスの出し入れを行うので、手間が掛からず、利用者の身体への負担も抑えられる。
収容ボックスは、収納棚に収容されるため、個別の収納庫に比較し、搬送器による収容ボックスの搬送によって人手が届きにくい低い箇所、高い箇所にも収容ボックスを収納でき、収容効率に優れる。このように、収容効率に優れるので、収納装置全体の平面視での小型化が図れ、執務空間の壁面に沿った位置に限らず、収納装置のレイアウトの自由度が高まる。これにより、利用者が収納装置とデスクとの間で収容ボックスを運搬する際の手間も抑えられる。
このような収納装置によれば、収納効率を高め、利用者にとっての利便性を高めることが可能となる。
特に、本態様では、収納空間形成部のうち、少なくとも一部に、機能部が設けられることで、利用者は、収納空間の内外での収容ボックスの出し入れとは異なる機能を有する機能部を、収納空間形成部の外部から機能部を利用できる。これにより、物品の収納以外での利用価値の向上を図ることができる。
【0010】
(2)上記(1)の態様に係る収納装置において、前記機能部として、物品を収納可能な収納什器が設けられていることが好ましい。
本態様によれば、機能部として、収納什器を設けることで、室内空間に収納什器を別途設けることなく、物品の収容スペースを確保できる。このような機能部を備えることで、収納装置の多機能化が図れ、利用者にとっての利便性がさらに向上する。
(【0011】以降は省略されています)
この特許をJ-PlatPat(特許庁公式サイト)で参照する
関連特許
株式会社オカムラ
椅子
2か月前
株式会社オカムラ
椅子
2か月前
株式会社オカムラ
台車
1か月前
株式会社オカムラ
台車
1か月前
株式会社オカムラ
台車
1か月前
株式会社オカムラ
収納装置
13日前
株式会社オカムラ
収納装置
13日前
株式会社オカムラ
収納装置
13日前
株式会社オカムラ
収納装置
13日前
株式会社オカムラ
天板付什器
1か月前
株式会社オカムラ
天板付什器
1か月前
株式会社オカムラ
天板付什器
3日前
株式会社オカムラ
天板付什器
3日前
株式会社オカムラ
防水板装置
14日前
株式会社オカムラ
什器システム
13日前
株式会社オカムラ
ショーケース
1か月前
株式会社オカムラ
管理システム
1か月前
株式会社オカムラ
収納ボックス
13日前
株式会社オカムラ
天板昇降式什器
13日前
株式会社オカムラ
天板昇降式什器
29日前
株式会社オカムラ
空間形成用什器
15日前
株式会社オカムラ
天板昇降式什器
13日前
株式会社オカムラ
移動間仕切装置
6日前
株式会社オカムラ
移動間仕切装置
6日前
株式会社オカムラ
オフィス収納装置
13日前
株式会社オカムラ
間仕切パネル装置
7日前
株式会社オカムラ
故障予知システム
7日前
株式会社オカムラ
モバイルバッテリ
3日前
株式会社オカムラ
ショッピングカート
1か月前
株式会社オカムラ
ショッピングカート
1か月前
株式会社オカムラ
ショッピングカート
1か月前
株式会社オカムラ
ショッピングカート
1か月前
株式会社オカムラ
天板付什器、什器システム
3日前
株式会社オカムラ
天板付什器、什器システム
3日前
株式会社オカムラ
パネル体および間仕切り装置
2か月前
株式会社オカムラ
什器ユニットおよび天板付什器
3日前
続きを見る
他の特許を見る