TOP
|
特許
|
意匠
|
商標
特許ウォッチ
Twitter
他の特許を見る
10個以上の画像は省略されています。
公開番号
2025137198
公報種別
公開特許公報(A)
公開日
2025-09-19
出願番号
2024036261
出願日
2024-03-08
発明の名称
什器システム
出願人
株式会社オカムラ
代理人
個人
主分類
A47B
51/00 20060101AFI20250911BHJP(家具;家庭用品または家庭用設備;コーヒーひき;香辛料ひき;真空掃除機一般)
要約
【課題】利用者にとっての利便性を高めることができる什器システムを提供する。
【解決手段】什器システムは、施設の壁で囲われた執務室内に配置された収納装置と、執務室内に配置され、収納装置から取り出された収容ボックス内の物品を利用可能な利用什器と、を備え、収納装置は、収容ボックスを収納可能な棚部を、上下方向に複数段備える収納棚と、収納棚に収納された収容ボックスを水平第二方向に沿って出し入れ可能、かつ、収容ボックスを水平第一方向および上下方向に搬送可能な搬送器を備えた搬送機構と、収納棚、および搬送機構の少なくとも側方全周を囲み、収納棚および搬送機構が収納された収納空間を形成する収納空間形成部と、を備え、収納空間形成部の垂直壁面には、収納空間の内外を連通させるとともに、搬送器により搬送される収容ボックスを収納空間の内外で水平方向に出し入れ可能な開口が形成されている。
【選択図】図7
特許請求の範囲
【請求項1】
施設の壁で囲われた執務室内に配置され、物品を収容可能な収容ボックスを複数収納する収納装置と、
前記執務室内に配置され、前記収納装置から取り出された前記収容ボックス内の物品を利用可能な利用什器と、を備え、
前記収納装置は、
前記収容ボックスを床面と平行な水平第一方向に複数並べて収納可能な棚部を、上下方向に複数段備える収納棚と、
前記収納棚に対し、水平第一方向および上下方向に交差する水平第二方向に隣り合って配置され、前記収納棚に収納された前記収容ボックスを水平第二方向に沿って出し入れ可能、かつ、前記収容ボックスを水平第一方向および上下方向に搬送可能な搬送器を備えた搬送機構と、
前記収納棚、および前記搬送機構の少なくとも側方全周を囲み、前記収納棚および前記搬送機構が収納された収納空間を形成する収納空間形成部と、を備え、
前記収納空間形成部の垂直壁面には、前記収納空間の内外を連通させるとともに、前記搬送器により搬送される前記収容ボックスを前記収納空間の内外で水平方向に出し入れ可能な開口が形成されている
什器システム。
続きを表示(約 860 文字)
【請求項2】
前記開口は、前記収納空間形成部のうち水平第一方向の一方側の端部に設けられ、
前記収納装置は、水平第一方向の一方側の端部を、前記執務室の内外を連通させる施設出入口に向けて配置されている
請求項1に記載の什器システム。
【請求項3】
前記執務室内は、平面視で、前記収納装置を挟んで一方側の第一領域と他方側の第二領域と、を有し、前記第一領域及び前記第二領域には、それぞれ別の前記利用什器が配置されている
請求項2に記載の什器システム。
【請求項4】
前記収納空間形成部は、
前記収納棚に対して水平第一方向の一方側に設けられ、水平第一方向の一方側を向く第一壁部と、
前記搬送機構に対して水平第一方向の一方側に設けられ、前記第一壁部よりも水平第一方向の一方側に突出した突出部と、を備え、
前記開口は、前記突出部において水平第二方向に開口している
請求項1または2に記載の什器システム。
【請求項5】
前記執務室内に一対の前記収納装置が配置され、
一方の前記収納装置の前記突出部と、他方の前記収納装置の前記突出部とが、前記水平第一方向で互いに離間した状態で向かい合わせて配置されている
請求項4に記載の什器システム。
【請求項6】
一対の前記収納装置は、前記執務室の内外を連通させる施設出入口から前記執務室への出入方向に水平面内で交差する方向の一方側と他方側とに配置されている
請求項5に記載の什器システム。
【請求項7】
一対の前記収納装置の各々は、前記執務室の内外を連通させる施設出入口が形成された壁に対し、前記執務室の内方に離間して設けられている
請求項5に記載の什器システム。
【請求項8】
前記利用什器は、デスク、テーブル、および椅子、のうちの少なくとも一種を含む
請求項1又は2に記載の什器システム。
発明の詳細な説明
【技術分野】
【0001】
本発明は、什器システムに関する。
続きを表示(約 2,800 文字)
【背景技術】
【0002】
従来、オフィス等の執務空間においては、業務を行う際、予め、利用者ごとに割り当てられたデスクを利用していた。これに対し、近年、複数のデスクの中から、空いているデスクを利用者が自由に選択して利用する、いわゆるフリーアドレス化が図られることがある。
【0003】
この場合、利用者は、自らが使用する書類、文具、ノート型PC(パーソナルコンピュータ)等の使用物を、ロッカーや収納棚等の収納什器に収納しておく。デスクを利用する際、利用者は、使用物を収納什器から取り出し、利用するデスクまで運ぶ。デスクの利用を終了する際、利用者は、使用物をデスクから収納什器に戻す。
【0004】
このような使用物を収納する収納什器として、例えば、特許文献1には、書籍、文書等を収納可能な複数列の可動棚を備えた構成が開示されている。
【先行技術文献】
【特許文献】
【0005】
特開昭64-25805号公報
【発明の概要】
【発明が解決しようとする課題】
【0006】
しかしながら、特許文献1に開示された構成においては、利用者が書籍、文書等を可動棚に出し入れする際、複数列の可動棚を移動させる必要があり、手間が掛かる。また、可動棚を移動させる際には、利用者は、安全を確保するため、移動する可動棚に干渉しないように避ける等しなければならず、これにも手間が掛かる。
【0007】
本発明は、利用者にとっての利便性を高めることができる什器システムを提供することを目的とする。
【課題を解決するための手段】
【0008】
上記課題を解決するために、本発明は以下の態様を採用した。
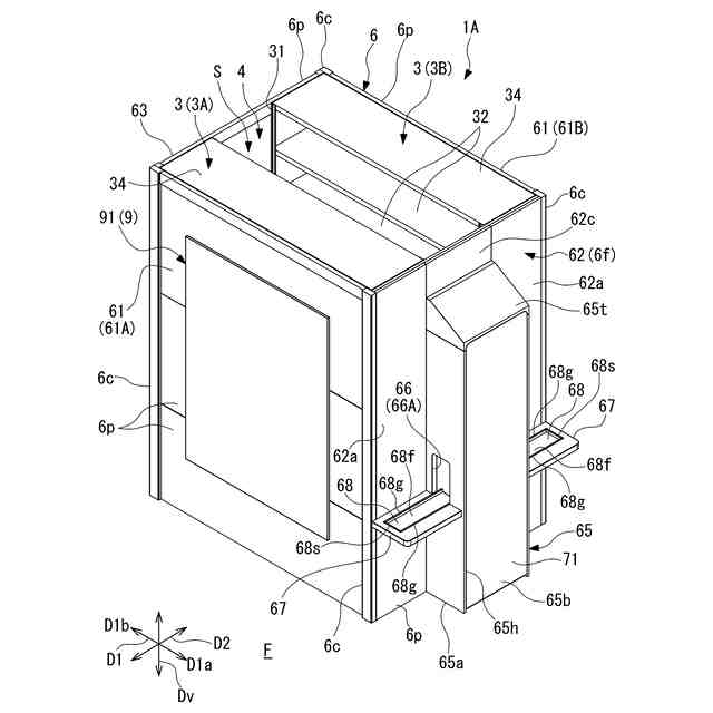
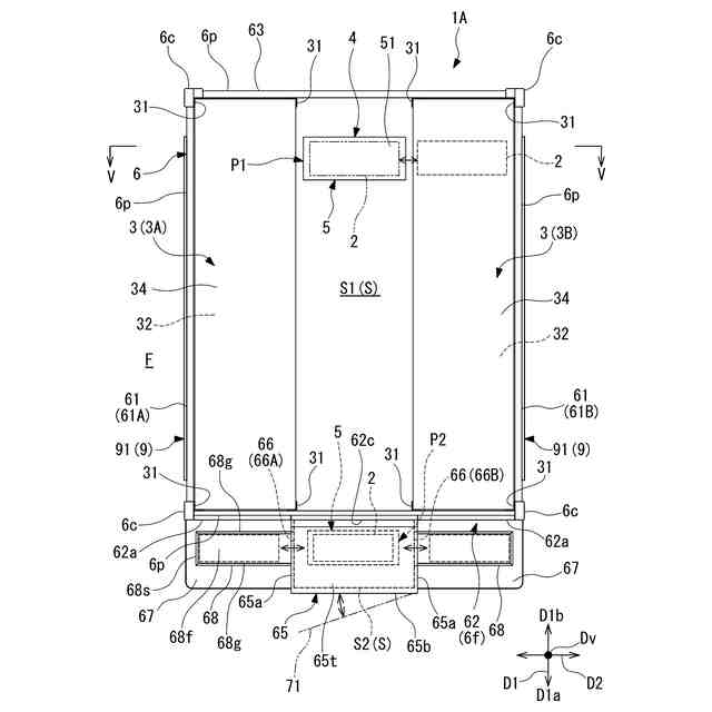
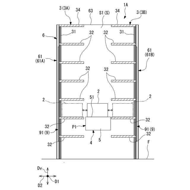
(1)本発明の一態様に係る什器システムは、施設の壁で囲われた執務室内に配置され、物品を収容可能な収容ボックスを複数収納する収納装置と、前記執務室内に配置され、前記収納装置から取り出された前記収容ボックス内の物品を利用可能な利用什器と、を備え、前記収納装置は、前記収容ボックスを床面と平行な水平第一方向に複数並べて収納可能な棚部を、上下方向に複数段備える収納棚と、前記収納棚に対し、水平第一方向および上下方向に交差する水平第二方向に隣り合って配置され、前記収納棚に収納された前記収容ボックスを水平第二方向に沿って出し入れ可能、かつ、前記収容ボックスを水平第一方向および上下方向に搬送可能な搬送器を備えた搬送機構と、前記収納棚、および前記搬送機構の少なくとも側方全周を囲み、前記収納棚および前記搬送機構が収納された収納空間を形成する収納空間形成部と、を備え、前記収納空間形成部の垂直壁面には、前記収納空間の内外を連通させるとともに、前記搬送器により搬送される前記収容ボックスを前記収納空間の内外で水平方向に出し入れ可能な開口が形成されている。
本態様によれば、搬送器が、収納棚および搬送機構間での収容ボックスの出し入れ、開口を通した収納空間の内外での収容ボックスの出し入れを行うので、手間が掛からず、利用者の身体への負担も抑えられる。
収容ボックスは、収納棚に収容されるため、個別の収納庫に比較し、搬送器による収容ボックスの搬送によって人手が届きにくい低い箇所、高い箇所にも収容ボックスを収納でき、収容効率に優れる。このように、収容効率に優れるので、収納装置全体の平面視での小型化が図れ、執務空間の壁面に沿った位置に限らず、収納装置のレイアウトの自由度が高まる。これにより、利用者が収納装置とデスクとの間で収容ボックスを運搬する際の手間も抑えられる。
また、収納空間形成部により、収納棚、および搬送機構の側方全周が囲まれている。このため、搬送機構等の可動部分が収納空間形成部の外部に露出することがなく、収納装置は、デザイン性に優れる。また、利用者は、可動部分との干渉を避ける動作をとる必要がない。
さらに、収納装置が配置された執務室内に利用什器が配置されているため、利用者は、収納装置から取り出された収容ボックス内の物品を、利用什器で利用できる。
このような什器システムによれば、利用者にとっての利便性を高めることが可能となる。
【0009】
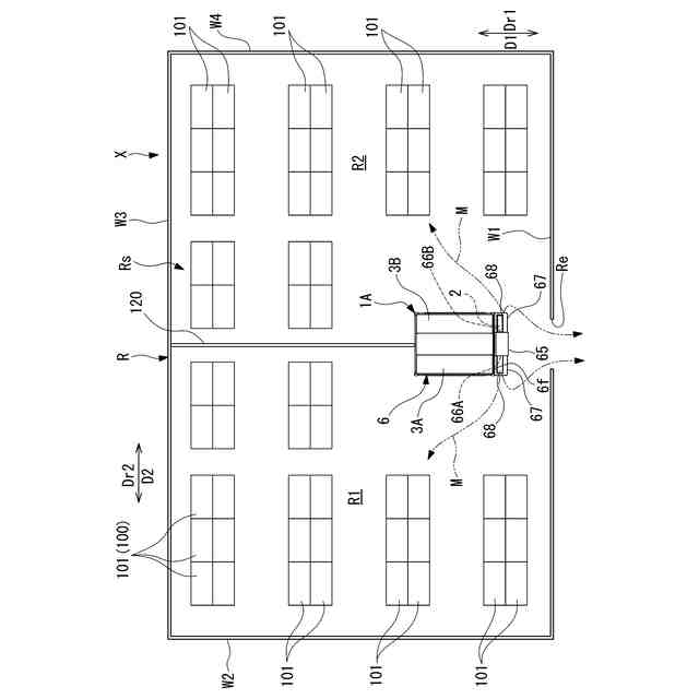
(2)上記(1)の態様に係る什器システムにおいて、前記開口は、前記収納空間形成部のうち水平第一方向の一方側の端部に設けられ、前記収納装置は、水平第一方向の一方側の端部を、前記執務室の内外を連通させる施設出入口に向けて配置されていることが好ましい。
本態様によれば、収納装置は、開口が設けられた収納空間形成部の一方側の端部を、執務室の内外を連通させる施設出入口に向けて配置されているので、利用者は、施設出入口から出入りする際に、開口を通して収納装置から収容ボックスを出し入れしやすい。利用者は、出勤時等に施設出入口を通って執務室に入る際に、収納装置から収容ボックスを取り出した後、利用什器に移動して、収容ボックスに収用された物品を使用して作業を行う。また、利用者は、退勤時等には、利用什器で使用していた物品を収容した収容ボックスを、収納装置に収納した後、施設出入口を通って執務室から出る。このようにして、執務室内における利用者の動線を効率の良いものとし、利用者にとっての利便性を高めることができる。
【0010】
(3)上記(2)の態様に係る什器システムにおいて、前記執務室内は、平面視で、前記収納装置を挟んで一方側の第一領域と他方側の第二領域と、を有し、前記第一領域及び前記第二領域には、それぞれ別の前記利用什器が配置されていることが好ましい。
本態様によれば、執務室内は、平面視で、収納装置を挟んで一方側の第一領域と他方側の第二領域と、を有し、第一領域及び第二領域には、それぞれ別の利用什器が配置されていることで、収納装置から収容ボックスを取り出した利用者は、収納装置に対して一方側の第一領域に配置された利用什器と、他方側の第二領域に配置された利用什器のいずれかを利用し、作業を行うことができる。利用者が利用する領域を、予め、第一領域、および第二領域の何れかに設定しておくようにすれば、利用者は、収納装置から収容ボックスを取り出した利用者は、第一領域、および第二領域のうち、自らに設定された領域に赴けばよい。これにより、収納装置に収容ボックスを出し入れする際の利用者の動線は、収納装置を挟んで、収納装置と第一領域とを結ぶ動線と、収納装置と大二領域とを結ぶ動線となる。これにより、収納装置に収容ボックスを出し入れする際の利用者の動線が執務室内で錯綜するのを抑えることができる。
(【0011】以降は省略されています)
この特許をJ-PlatPat(特許庁公式サイト)で参照する
関連特許
株式会社オカムラ
椅子
2か月前
株式会社オカムラ
台車
1か月前
株式会社オカムラ
台車
1か月前
株式会社オカムラ
台車
1か月前
株式会社オカムラ
収納装置
15日前
株式会社オカムラ
収納装置
15日前
株式会社オカムラ
収納装置
15日前
株式会社オカムラ
収納装置
15日前
株式会社オカムラ
天板付什器
5日前
株式会社オカムラ
天板付什器
5日前
株式会社オカムラ
天板付什器
1か月前
株式会社オカムラ
防水板装置
16日前
株式会社オカムラ
天板付什器
1か月前
株式会社オカムラ
収納ボックス
15日前
株式会社オカムラ
什器システム
15日前
株式会社オカムラ
管理システム
1か月前
株式会社オカムラ
ショーケース
1か月前
株式会社オカムラ
天板昇降式什器
1か月前
株式会社オカムラ
移動間仕切装置
8日前
株式会社オカムラ
天板昇降式什器
15日前
株式会社オカムラ
天板昇降式什器
15日前
株式会社オカムラ
空間形成用什器
17日前
株式会社オカムラ
移動間仕切装置
8日前
株式会社オカムラ
間仕切パネル装置
9日前
株式会社オカムラ
モバイルバッテリ
5日前
株式会社オカムラ
オフィス収納装置
15日前
株式会社オカムラ
故障予知システム
9日前
株式会社オカムラ
ショッピングカート
1か月前
株式会社オカムラ
ショッピングカート
1か月前
株式会社オカムラ
ショッピングカート
1か月前
株式会社オカムラ
ショッピングカート
1か月前
株式会社オカムラ
天板付什器、什器システム
5日前
株式会社オカムラ
天板付什器、什器システム
5日前
株式会社オカムラ
パネル体および間仕切り装置
2か月前
株式会社オカムラ
什器ユニットおよび天板付什器
5日前
株式会社オカムラ
天板付き什器、及び、什器ユニット
5日前
続きを見る
他の特許を見る