TOP
|
特許
|
意匠
|
商標
特許ウォッチ
Twitter
他の特許を見る
10個以上の画像は省略されています。
公開番号
2025140741
公報種別
公開特許公報(A)
公開日
2025-09-29
出願番号
2024040304
出願日
2024-03-14
発明の名称
天板付什器
出願人
株式会社オカムラ
代理人
個人
主分類
A47B
3/08 20060101AFI20250919BHJP(家具;家庭用品または家庭用設備;コーヒーひき;香辛料ひき;真空掃除機一般)
要約
【課題】設計自由度を向上させた上で、枢支機構周辺を小型化できる天板付什器を提供する。
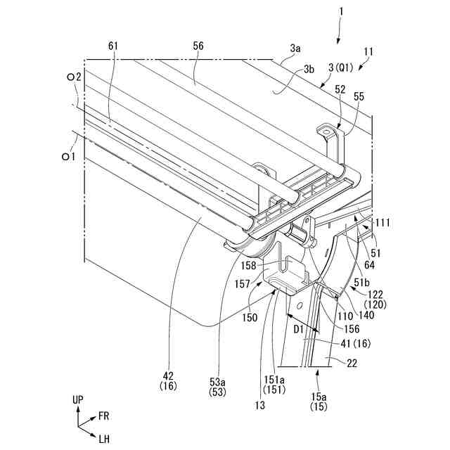
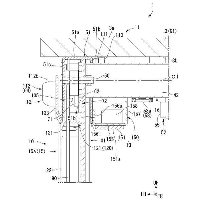
【解決手段】本発明の一態様に係る天板付什器は、天板及び支持構造体間に設けられるとともに、作業面が上方を向く使用位置、及び作業面が前後方向の第1側を向く不使用位置の間で左右方向に沿う軸線回りで支持構造体に対して天板を回転可能とする枢支機構と、を備えている。枢支機構に対して左右方向における天板の中心寄りである第1側に位置する部分には、天板付什器と他の天板付什器とが前後方向に重ね合わされた状態において、他の天板付什器の作業面が当接する当接面を有する当接部が設けられている。
【選択図】図11
特許請求の範囲
【請求項1】
作業面を有する天板と、
前記天板を下方から支持する支持構造体と、
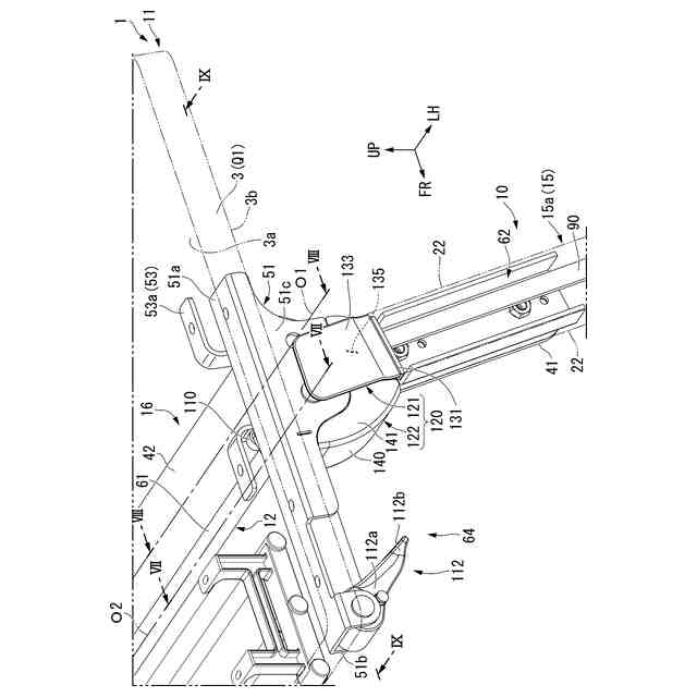
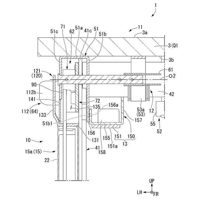
前記天板及び前記支持構造体間に設けられるとともに、前記作業面が上方を向く使用位置、及び前記作業面が前後方向の第1側を向く不使用位置の間で左右方向に沿う軸線回りで前記支持構造体に対して前記天板を回転可能とする枢支機構と、を備えた天板付什器であって、
当該天板付什器と、当該天板付什器に対して前後方向の第2側に位置する他の前記天板付什器と、は、それぞれの前記天板を前記不使用位置にした状態で、前後方向に重ね合わせ可能に構成され、
前記枢支機構に対して左右方向における前記天板の中心寄りである第1側に位置する部分には、当該天板付什器と他の前記天板付什器とが前後方向に重ね合わされた状態において、他の前記天板付什器の前記作業面が当接する当接面を有する当接部が設けられている天板付什器。
続きを表示(約 750 文字)
【請求項2】
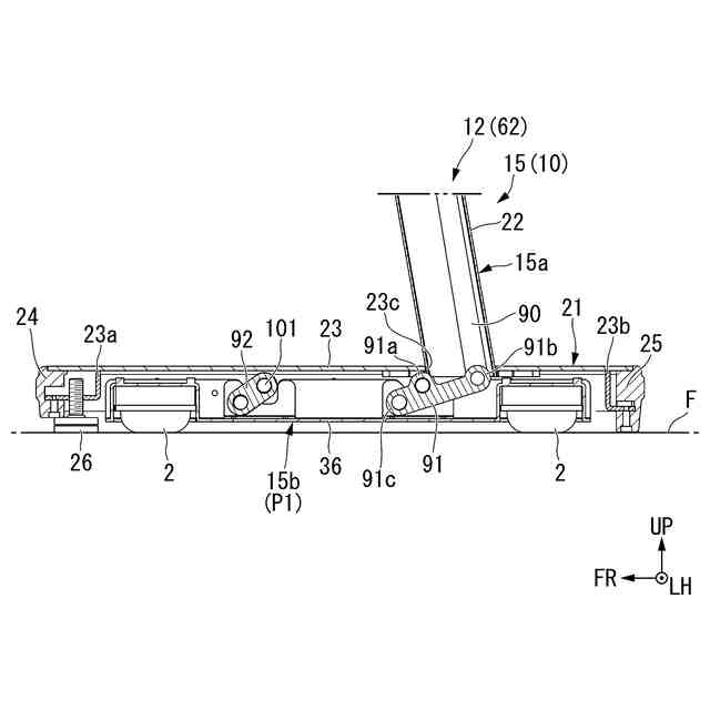
前記支持構造体は、上下方向に延びるとともに、前後方向の寸法が、前記使用位置にある前記天板の前後方向の寸法よりも小さい脚柱を備え、
前記脚柱は、左右方向に間隔をあけて一対で設けられ、
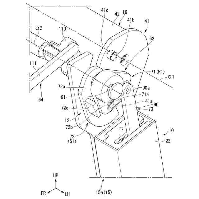
前記枢支機構は、前記脚柱の上方において、少なくとも一部が前記脚柱と平面視で重なり合う位置に設けられている請求項1に記載の天板付什器。
【請求項3】
前記枢支機構のうち左右方向における第1側の端縁は、前記脚柱のうち左右方向における第1側の端縁と左右方向で同じ位置、若しくは左右方向の第2側に位置している請求項2に記載の天板付什器。
【請求項4】
前記当接部は、前記天板と一体で回転可能な状態で前記天板に接続され、
前記当接面は、前記天板が前記使用位置にあるとき、前記天板が前記不使用位置にあるときに比べて前後方向の第1側に位置している請求項1から請求項3の何れか1項に記載の天板付什器。
【請求項5】
前記支持構造体は、上下方向に延びるとともに、前後方向の寸法が、前記使用位置にある前記天板の前後方向の寸法よりも小さい脚柱を備え、
前記当接面は、前記天板が前記使用位置にあるとき、前後方向における前記脚柱の寸法範囲内に配置される請求項4に記載の天板付什器。
【請求項6】
前記天板のうち、左右方向における前記枢支機構と前記当接部との間に位置する部分には、前記枢支機構と前記当接部との間を仕切る隔壁部が設けられている請求項4に記載の天板付什器。
【請求項7】
前記当接部は、前記隔壁部に対して左右方向で向かい合った状態で、前記隔壁部に固定された固定片を備えている請求項6に記載の天板付什器。
発明の詳細な説明
【技術分野】
【0001】
本発明は、天板付什器に関する。
続きを表示(約 2,000 文字)
【背景技術】
【0002】
作業面を有する天板と、天板の左右両端部を下方から支持する一対の脚体と、脚体及び天板間に設けられるとともに、作業面が上方を向く使用位置及び作業面が後方を向く不使用位置間で脚体に対して天板を回転可能とする連接部と、を備えた天板付什器が知られている(例えば、下記特許文献1参照)。この種の天板付什器では、天板を不使用位置にした状態で、複数の天板付什器を前後方向に重ね合わせる(いわゆる、ネスティング)ことで、保管時における省スペース化を図っている。
【0003】
下記特許文献1において、連接部には、天板付什器に対して前方からネスティングされる他の天板付什器の作業面が当接する阻止ブロックが設けられている。阻止ブロックは、連接部において前向きに取り付けられている。また、下記特許文献1において、天板には、天板の使用状態において阻止ブロックを左右方向の両側から囲み、不使用状態において阻止ブロックを露出させる支承部が設けられている。
【先行技術文献】
【特許文献】
【0004】
特開2015-139662号公報
【発明の概要】
【発明が解決しようとする課題】
【0005】
しかしながら、上述した従来技術にあっては、阻止ブロックが連接部自体(連接部の左右方向における寸法範囲内)に設けられている。したがって、阻止ブロックの形状や位置は、連接部や支承部の形状や位置に依存することになる。そのため、従来技術にあっては、設計自由度の向上に関して未だ改善の余地があった。また、従来技術では、連接部自体に阻止ブロックが設けられていることから、支承部や阻止ブロックを含めた連接部周辺の機構が大型化する可能性があった。
【0006】
本発明は、設計自由度を向上させた上で、枢支機構周辺を小型化できる天板付什器を提供する。
【課題を解決するための手段】
【0007】
上記課題を解決するために、本発明は以下の態様を採用した。
(1)本発明の一態様に係る天板付什器は、作業面を有する天板と、前記天板を下方から支持する支持構造体と、前記天板及び前記支持構造体間に設けられるとともに、前記作業面が上方を向く使用位置、及び前記作業面が前後方向の第1側を向く不使用位置の間で左右方向に沿う軸線回りで前記支持構造体に対して前記天板を回転可能とする枢支機構と、を備えた天板付什器であって、当該天板付什器と、当該天板付什器に対して前後方向の第2側に位置する他の前記天板付什器と、は、それぞれの前記天板を前記不使用位置にした状態で、前後方向に重ね合わせ可能に構成され、前記枢支機構に対して左右方向における前記天板の中心寄りである第1側に位置する部分には、当該天板付什器と他の前記天板付什器とが前後方向に重ね合わされた状態において、他の前記天板付什器の前記作業面が当接する当接面を有する当接部が設けられている。
【0008】
本態様によれば、当接部が枢支機構に対して左右方向の第1側にずれた位置に設けられているため、従来のように阻止ブロックが連接部の左右方向における寸法範囲内に設けられている場合に比べて、当接部の位置や形状について枢支機構の形状や位置への依存が少なくなる。その結果、設計自由度の向上を図ることができる。また、当接部が枢支機構に対して左右方向の第1側にずれた位置に設けられていることから、枢支機構周辺の機構を小型化することが可能になる。
【0009】
(2)上記(1)の態様に係る天板付什器において、前記支持構造体は、上下方向に延びるとともに、前後方向の寸法が、前記使用位置にある前記天板の前後方向の寸法よりも小さい脚柱を備え、前記脚柱は、左右方向に間隔をあけて一対で設けられ、前記枢支機構は、前記脚柱の上方において、少なくとも一部が前記脚柱と平面視で重なり合う位置に設けられていることが好ましい。
本態様によれば、枢支機構が脚柱と平面視で重なり合う位置に設けられていることから、枢支機構に対して左右方向の第1側に当接部を設けたとしても、天板の下方において一対の脚柱間に形成される下肢空間を確保し易い。
【0010】
(3)上記(2)の態様に係る天板付什器において、前記枢支機構のうち左右方向における第1側の端縁は、前記脚柱のうち左右方向における第1側の端縁と左右方向で同じ位置、若しくは左右方向の第2側に位置していることが好ましい。
本態様によれば、枢支機構に対して左右方向の第1に当接部を設けたとしても、天板の下方において一対の脚柱間に形成される下肢空間を確保し易い。
(【0011】以降は省略されています)
この特許をJ-PlatPat(特許庁公式サイト)で参照する
関連特許
株式会社オカムラ
収納装置
16日前
株式会社オカムラ
収納装置
16日前
株式会社オカムラ
収納装置
16日前
株式会社オカムラ
収納装置
16日前
株式会社オカムラ
天板付什器
1か月前
株式会社オカムラ
天板付什器
1か月前
株式会社オカムラ
天板付什器
6日前
株式会社オカムラ
天板付什器
6日前
株式会社オカムラ
防水板装置
17日前
株式会社オカムラ
収納ボックス
16日前
株式会社オカムラ
ショーケース
1か月前
株式会社オカムラ
什器システム
16日前
株式会社オカムラ
天板昇降式什器
16日前
株式会社オカムラ
空間形成用什器
18日前
株式会社オカムラ
移動間仕切装置
9日前
株式会社オカムラ
移動間仕切装置
9日前
株式会社オカムラ
天板昇降式什器
1か月前
株式会社オカムラ
天板昇降式什器
16日前
株式会社オカムラ
間仕切パネル装置
10日前
株式会社オカムラ
故障予知システム
10日前
株式会社オカムラ
モバイルバッテリ
6日前
株式会社オカムラ
オフィス収納装置
16日前
株式会社オカムラ
天板付什器、什器システム
6日前
株式会社オカムラ
天板付什器、什器システム
6日前
株式会社オカムラ
什器ユニットおよび天板付什器
6日前
株式会社オカムラ
天板付き什器、及び、什器ユニット
6日前
株式会社オカムラ
空間形成什器ユニット、及び、空間形成什器
1か月前
株式会社オカムラ
制御装置、収納システム、端末装置及びプログラム
16日前
株式会社オカムラ
制御装置、収納システム、端末装置及びプログラム
16日前
株式会社オカムラ
椅子
25日前
株式会社オカムラ
ブース
5日前
株式会社オカムラ
ブース
5日前
株式会社オカムラ
什器システム
1か月前
個人
椅子
1か月前
個人
家具
2か月前
個人
掃除機
7か月前
続きを見る
他の特許を見る