TOP
|
特許
|
意匠
|
商標
特許ウォッチ
Twitter
他の特許を見る
10個以上の画像は省略されています。
公開番号
2025138087
公報種別
公開特許公報(A)
公開日
2025-09-25
出願番号
2024036882
出願日
2024-03-11
発明の名称
立体物印刷装置および制御方法
出願人
セイコーエプソン株式会社
代理人
個人
,
個人
,
個人
主分類
B41J
2/01 20060101AFI20250917BHJP(印刷;線画機;タイプライター;スタンプ)
要約
【課題】印刷品質を向上させる。
【解決手段】立体物印刷装置は、目標印刷軌道に関する目標経路情報に基づいて多関節ロボットを動作させた際に液体吐出ヘッドが実際に走査される軌道である第1実印刷軌道に関する第1走査情報を取得し、第1走査情報に基づいて、液体吐出ヘッドの主走査方向と交差する副走査方向での第1移動量を取得し、目標印刷軌道および第1移動量に基づいて、目標印刷軌道に対する第1実印刷軌道の副走査方向での第1誤差量を取得し、目標印刷軌道に対する補正の対象となる範囲である補正範囲を特定し、補正範囲における第1誤差量に基づいて、前記目標印刷軌道を補正する。
【選択図】図4
特許請求の範囲
【請求項1】
ワークに向けて液体を吐出する液体吐出ヘッドと、
前記液体吐出ヘッドを支持する先端部を有し、前記ワークに対して前記液体吐出ヘッドを走査させる多関節ロボットと、
前記液体吐出ヘッドおよび前記多関節ロボットの動作を制御する制御部と、を備え、
前記制御部は、
目標印刷軌道に関する目標経路情報に基づいて前記多関節ロボットを動作させた際に前記液体吐出ヘッドが実際に走査される軌道である第1実印刷軌道に関する第1走査情報を取得し、
前記第1走査情報に基づいて、前記液体吐出ヘッドの主走査方向と交差する副走査方向での第1移動量を取得し、
前記目標印刷軌道および前記第1移動量に基づいて、前記目標印刷軌道に対する前記第1実印刷軌道の前記副走査方向での第1誤差量を取得し、
前記目標印刷軌道に対する補正の対象となる範囲である補正範囲を特定し、
前記補正範囲における前記第1誤差量に基づいて、前記目標印刷軌道を補正する、
ことを特徴とする立体物印刷装置。
続きを表示(約 1,700 文字)
【請求項2】
前記制御部は、
前記目標経路情報に基づいて前記多関節ロボットを動作させることにより前記液体吐出ヘッドを前記ワークに対して走査させつつ、前記液体吐出ヘッドから前記ワークに向けて液体を吐出させることにより前記ワーク上にドットを形成する動作を実行し、
前記ドットを測定することにより前記第1走査情報を取得する、
請求項1に記載の立体物印刷装置。
【請求項3】
前記液体吐出ヘッドの移動を検出する検出部をさらに備え、
前記制御部は、
前記液体吐出ヘッドから液体を吐出させずに、前記目標経路情報に基づいて前記多関節ロボットを動作させることにより前記液体吐出ヘッドを前記ワークに対して走査させる予備動作を実行し、
前記予備動作の実行中における前記検出部の検出結果に基づいて前記第1走査情報を取得する、
請求項1に記載の立体物印刷装置。
【請求項4】
前記液体吐出ヘッドの姿勢の変化を検出する姿勢検出部をさらに備え、
前記制御部は、
前記目標経路情報に基づいて前記多関節ロボットを動作させた際の前記姿勢検出部の検出結果に基づいて、前記目標印刷軌道の補正量を調整する、
請求項1に記載の立体物印刷装置。
【請求項5】
前記制御部は、
前記補正範囲として前記第1移動量が所定の閾値を超える期間である補正期間を特定し、
前記補正期間における前記目標印刷軌道を補正する、
請求項1から4のいずれか1項に記載の立体物印刷装置。
【請求項6】
前記制御部は、
前記目標印刷軌道を補正した軌道に関する仮経路情報に基づいて前記多関節ロボットを動作させた際に前記液体吐出ヘッドが実際に走査される軌道である第2実印刷軌道に関する第2走査情報を取得し、
前記第2走査情報に基づいて、前記液体吐出ヘッドの前記副走査方向での第2移動量を取得し、
前記目標印刷軌道および前記第2移動量に基づいて、前記目標印刷軌道に対する前記第2実印刷軌道の前記副走査方向での第2誤差量を取得し、
前記第2誤差量が閾値以上である場合、補正量を調整して前記補正期間における前記目標印刷軌道を補正する、
請求項5に記載の立体物印刷装置。
【請求項7】
前記制御部は、
前記第2誤差量が前記閾値以上である場合、前記補正期間において補正を行うタイミングを早める、
請求項6に記載の立体物印刷装置。
【請求項8】
前記制御部は、
前記補正範囲として、前記目標印刷軌道において前記第1誤差量が所定の閾値以上であるポイントを特定し、
前記ポイントにおける前記目標印刷軌道を補正する、
請求項1から4のいずれか1項に記載の立体物印刷装置。
【請求項9】
前記制御部は、
前記目標印刷軌道を補正した軌道に関する仮経路情報に基づいて前記多関節ロボットを動作させた際に前記液体吐出ヘッドが実際に走査される軌道である第2実印刷軌道に関する第2走査情報を取得し、
前記第2走査情報に基づいて、前記液体吐出ヘッドの前記副走査方向での第2移動量を取得し、
前記目標印刷軌道および前記第2移動量に基づいて、前記目標印刷軌道に対する前記第2実印刷軌道の前記副走査方向での第2誤差量を取得し、
前記第2誤差量が閾値以上である場合、補正量を調整した後に前記ポイントにおける前記目標印刷軌道を補正する、
請求項8に記載の立体物印刷装置。
【請求項10】
前記制御部は、
前記補正範囲として前記目標印刷軌道において前記第1誤差量が所定の閾値以上である複数のポイントを特定し、
前記複数のポイントにおける前記目標印刷軌道を補正する、
請求項1から4のいずれか1項に記載の立体物印刷装置。
(【請求項11】以降は省略されています)
発明の詳細な説明
【技術分野】
【0001】
本開示は、立体物印刷装置および制御方法に関する。
続きを表示(約 2,800 文字)
【背景技術】
【0002】
立体的なワークの表面にインクジェット方式により印刷を行う立体物印刷装置が知られている。例えば、特許文献1に記載の装置は、ロボットアームと、ロボットアームの先端に固定されるプリントヘッドと、を有し、プリントヘッドからのインクによる画像を対象物に印刷する。
【先行技術文献】
【特許文献】
【0003】
特開2014-050832号公報
【発明の概要】
【発明が解決しようとする課題】
【0004】
特許文献1に記載の装置では、ロボットアームの動作誤差に起因してプリントヘッドの主走査方向と交差する副走査方向でのずれが生じ、この結果、印刷品質の低下を招くという問題がある。
【課題を解決するための手段】
【0005】
本開示の立体物印刷装置の一態様は、ワークに向けて液体を吐出する液体吐出ヘッドと、前記液体吐出ヘッドを支持する先端部を有し、前記ワークに対して前記液体吐出ヘッドを走査させる多関節ロボットと、前記液体吐出ヘッドおよび前記多関節ロボットの動作を制御する制御部と、を備え、前記制御部は、目標印刷軌道に関する目標経路情報に基づいて前記多関節ロボットを動作させた際に前記液体吐出ヘッドが実際に走査される軌道である第1実印刷軌道に関する第1走査情報を取得し、前記第1走査情報に基づいて、前記液体吐出ヘッドの主走査方向と交差する副走査方向での第1移動量を取得し、前記目標印刷軌道および前記第1移動量に基づいて、前記目標印刷軌道に対する前記第1実印刷軌道の前記副走査方向での第1誤差量を取得し、前記目標印刷軌道に対する補正の対象となる範囲である補正範囲を特定し、前記補正範囲における前記第1誤差量に基づいて、前記目標印刷軌道を補正する。
【0006】
本開示の制御方法の一態様は、ワークに向けて液体を吐出する液体吐出ヘッドと、前記液体吐出ヘッドを支持する先端部を有し、前記ワークに対して前記液体吐出ヘッドを走査させる多関節ロボットと、を備える立体物印刷装置の制御方法であって、目標印刷軌道に関する目標経路情報に基づいて前記多関節ロボットを動作させた際に前記液体吐出ヘッドが実際に走査される軌道である第1実印刷軌道に関する第1走査情報を取得する工程と、前記第1走査情報に基づいて、前記液体吐出ヘッドの主走査方向と交差する副走査方向での第1移動量を取得する工程と、前記目標印刷軌道および前記第1移動量に基づいて、前記目標印刷軌道に対する前記第1実印刷軌道の前記副走査方向での第1誤差量を取得する工程と、前記目標印刷軌道に対する補正の対象となる範囲である補正範囲を特定する工程と、前記補正範囲における前記第1誤差量に基づいて、前記目標印刷軌道を補正する工程と、を含む。
【図面の簡単な説明】
【0007】
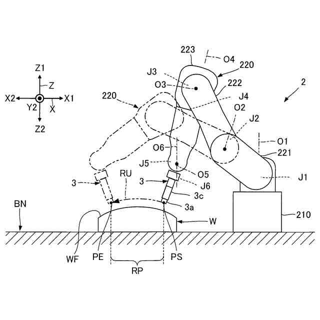
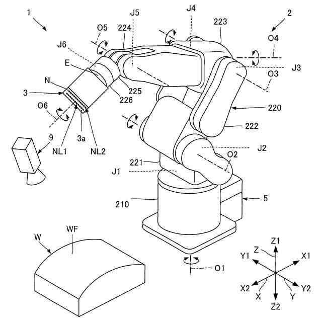
第1実施形態に係る立体物印刷装置の概略を示す斜視図である。
第1実施形態に係る立体物印刷装置の電気的な構成を示すブロック図である。
第1実施形態のヘッドユニットの概略構成を示す斜視図である。
立体物印刷装置の動作の一例を示す図である。
第1実施形態に係る制御方法を示すフローチャートである。
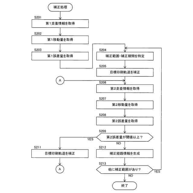
第1実施形態における補正処理の流れを示すフローチャートである。
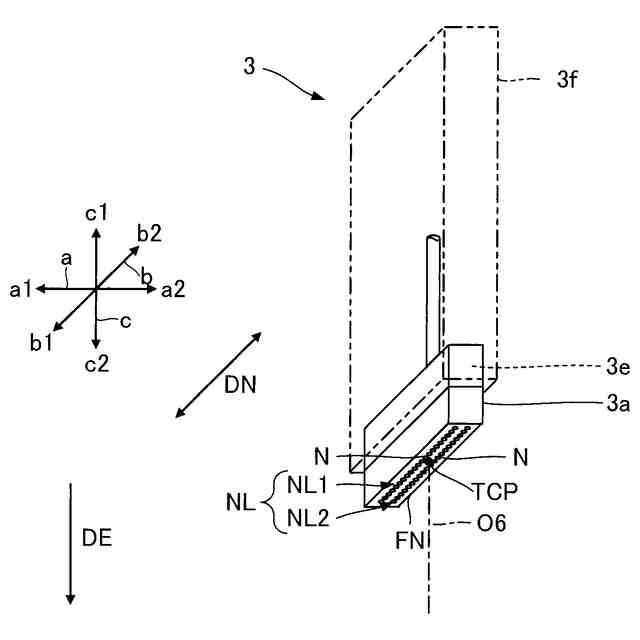
第1実施形態における第1走査情報の取得を説明するための図である。
第1誤差量の一例を示す図である。
第1実印刷軌道の長周期成分の蛇行を補正するための補正量の一例を示す図である。
第1誤差量の一例を示す図である。
第1実印刷軌道の実測点および補間点を説明するための図である。
図11中の一部の拡大図である。
第1実施形態における第1誤差量および補正範囲を説明するための図である。
図13に示す第1誤差量に基づく補正量を説明するための図である。
図14に示す補正量の適用後の誤差量である第2誤差量を説明するための図である。
図15に示す第2誤差量に基づく補正量を説明するための図である。
図16に示す補正量の適用後の第2誤差量を説明するための図である。
図17に示す第2誤差量に基づく補正量を説明するための図である。
図18に示す補正量の適用後の第2誤差量を説明するための図である。
第2実施形態における補正処理の流れを示すフローチャートである。
第2実施形態における第1誤差量および補正範囲を説明するための図である。
図21に示す第1誤差量に基づく補正量を説明するための図である。
図22に示す補正量の適用後の誤差量である第2誤差量を説明するための図である。
図23に示す第2誤差量に基づく補正量を説明するための図である。
図24に示す補正量の適用後の第2誤差量を説明するための図である。
第3実施形態における補正処理の流れを示すフローチャートである。
第3実施形態における第2誤差量を説明するための図である。
図27に示す第2誤差量に基づく補正量を説明するための図である。
図28に示す補正量の適用後の第2誤差量を説明するための図である。
第4実施形態に係る立体物印刷装置の電気的な構成を示すブロック図である。
【発明を実施するための形態】
【0008】
以下、添付図面を参照しながら本開示に係る好適な実施形態を説明する。なお、図面において各部の寸法および縮尺は実際と適宜に異なり、理解を容易にするために模式的に示している部分もある。また、本開示の範囲は、以下の説明において特に本開示を限定する旨の記載がない限り、これらの形態に限られない。
【0009】
以下では、説明の便宜上、互いに交差するX軸、Y軸およびZ軸を適宜に用いて説明を行う。また、以下では、X軸に沿う一方向がX1方向であり、X1方向と反対の方向がX2方向である。同様に、Y軸に沿って互いに反対の方向がY1方向およびY2方向である。また、Z軸に沿って互いに反対の方向がZ1方向およびZ2方向である。
【0010】
ここで、X軸、Y軸およびZ軸は、後述のロボット2が設置される空間に設定されるワールド座標系の座標軸に相当する。典型的には、Z軸が鉛直な軸であり、Z2方向が鉛直方向での下方向に相当する。当該ワールド座標系には、ロボット2の後述の基部210の位置を基準とするベース座標系がキャリブレーションにより対応付けられる。以下では、便宜上、ワールド座標系をロボット座標系として用いてロボット2の動作を制御する場合が例示される。
(【0011】以降は省略されています)
この特許をJ-PlatPat(特許庁公式サイト)で参照する
関連特許
セイコーエプソン株式会社
方法、情報処理装置、および、プログラム
1日前
個人
箔熱転写装置
1か月前
シヤチハタ株式会社
印判
4か月前
東レ株式会社
凸版印刷版原版
10か月前
三菱製紙株式会社
感熱記録材料
10か月前
シヤチハタ株式会社
反転式印判
9か月前
独立行政法人 国立印刷局
印刷物
7か月前
三光株式会社
感熱記録材料
6か月前
キヤノン株式会社
記録装置
24日前
株式会社リコー
画像形成装置
8日前
株式会社リコー
液体吐出装置
4か月前
独立行政法人 国立印刷局
記録媒体
8か月前
独立行政法人 国立印刷局
貼付機構
1か月前
株式会社リコー
液体吐出装置
6か月前
株式会社リコー
液体吐出装置
2か月前
株式会社リコー
画像形成装置
1か月前
株式会社リコー
印刷システム
12日前
株式会社リコー
液体吐出装置
4か月前
株式会社リコー
画像形成装置
12日前
株式会社リコー
液体吐出装置
5か月前
独立行政法人 国立印刷局
貼付装置
1か月前
日本製紙株式会社
感熱記録体
7か月前
株式会社リコー
液体吐出装置
7か月前
株式会社リコー
液体吐出装置
8か月前
株式会社リコー
液体吐出装置
7か月前
キヤノン株式会社
画像記録装置
24日前
キヤノン株式会社
画像形成装置
10か月前
キヤノン株式会社
画像形成装置
7か月前
キヤノン株式会社
画像形成装置
8か月前
ブラザー工業株式会社
液体吐出ヘッド
24日前
キヤノン株式会社
印刷システム
7か月前
独立行政法人 国立印刷局
潜像印刷物
1か月前
ブラザー工業株式会社
プリンタ
1か月前
フジコピアン株式会社
中間転写シート
9か月前
キヤノン株式会社
画像形成装置
1か月前
キヤノン株式会社
印刷制御装置
10か月前
続きを見る
他の特許を見る