TOP
|
特許
|
意匠
|
商標
特許ウォッチ
Twitter
他の特許を見る
公開番号
2025138342
公報種別
公開特許公報(A)
公開日
2025-09-25
出願番号
2024037374
出願日
2024-03-11
発明の名称
模型部品
出願人
株式会社バンダイ
,
株式会社バンダイナムコクラフト
代理人
弁理士法人大塚国際特許事務所
主分類
A63H
3/16 20060101AFI20250917BHJP(スポーツ;ゲーム;娯楽)
要約
【課題】本発明は、例えばランナーに接続されているパーツに対してシール部材を好適に貼付する新規な仕組みを提供する。
【解決手段】本模型部品は、複数のパーツが接続されて形成されるランナーと、複数のパーツそれぞれに貼付される複数のシール部材を含む粘着シートとを備える。ランナーには、粘着シートをランナーに貼付する際の位置決めを行う複数の突起部が形成され、粘着シートには、ランナーに形成された複数の突起部とそれぞれ対応する位置に複数の穴部が形成される。
【選択図】図4
特許請求の範囲
【請求項1】
模型部品であって、
複数のパーツが接続されて形成されるランナーと、
前記複数のパーツそれぞれに貼付される複数のシール部材を含む粘着シートと
を備え、
前記ランナーには、前記粘着シートを前記ランナーに貼付する際の位置決めを行う複数の突起部が形成され、
前記粘着シートには、前記ランナーに形成された複数の突起部とそれぞれ対応する位置に複数の穴部が形成されることを特徴とする模型部品。
続きを表示(約 970 文字)
【請求項2】
前記粘着シートは、前記ランナーに貼り付けられる際に、該ランナーの各突起部が対応する各穴部に挿入されることを特徴とする請求項1に記載の模型部品。
【請求項3】
前記複数の突起部及び前記複数の穴部は、それぞれ少なくとも2つずつ形成されることを特徴とする請求項2に記載の模型部品。
【請求項4】
前記複数の突起部及び前記複数の穴部は、前記ランナーの四辺で形成される外縁のうち、所定の一辺の両端の位置に対応して形成されることを特徴とする請求項3に記載の模型部品。
【請求項5】
前記複数の突起部及び前記複数の穴部は、さらに、前記所定の一辺に対向する辺を接続する2つの辺の中間位置にそれぞれ対応して形成されることを特徴とする請求項4に記載の模型部品。
【請求項6】
前記複数の突起部及び前記複数の穴部は、さらに、前記所定の一辺に対向する辺の両端の位置にそれぞれ対応して形成されることを特徴とする請求項4に記載の模型部品。
【請求項7】
前記複数の突起部及び前記複数の穴部は、さらに、前記所定の一辺に対向する辺の中間位置に対応して形成されることを特徴とする請求項4に記載の模型部品。
【請求項8】
前記複数の突起部は、前記ランナーの四辺で形成される外縁よりも内側のランナーに形成されることを特徴とする請求項3に記載の模型部品。
【請求項9】
前記ランナーは、
前記複数のパーツの少なくとも1つを取り囲むように形成される第1ランナーと、
前記第1ランナーから枝分かれして前記複数のパーツの何れかのパーツに至る第2ランナーとから形成され、
前記複数の突起部は、前記第2ランナーに形成されることを特徴とする請求項8に記載の模型部品。
【請求項10】
前記粘着シートは、前記複数のシール部材を含む両面テープと、前記両面テープの両面をそれぞれ保護する2つの保護シートとで形成され、
前記粘着シートが前記ランナーに貼付される際に、前記2つの保護シートのうち一方の保護シートが剥がされることを特徴とする請求項1乃至9の何れか1項に記載の模型部品。
(【請求項11】以降は省略されています)
発明の詳細な説明
【技術分野】
【0001】
本発明は、模型部品に関する。
続きを表示(約 1,700 文字)
【背景技術】
【0002】
模型玩具には、組立完成後においてディテールを向上させるためにカスタマイズを行うパーツを取り付けることが知られている。このようなカスタムパーツは、完成品に形成された穴部に差し込んだり、完成品に穴部を開けて差し込んだり、接着剤を使用して貼り付けたりすることにより取り付けられるものである。しかし、穴部にパーツを差し込む場合には取り付け位置が限定されるものであり、接着剤で貼り付ける場合は失敗した場合にやり直すことが困難であるという問題がある。
【0003】
一方でカスタマイズを両面テープなどで貼り付けることも考えられる。その場合、パーツの裏面にパーツサイズにカットした両面テープを貼り付ける必要があり、小さなカスタムパーツに対しては両面テープを貼り付けることは非常に大変な作業となる。特許文献1には、複雑な形状のシール貼付位置であっても、指定位置に容易にシールを貼付することができるシール貼付治具が提案されている。
【先行技術文献】
【特許文献】
【0004】
特開2012-131529号公報
【発明の概要】
【発明が解決しようとする課題】
【0005】
上記従来技術ではパーツに対してシール部材を容易に貼り付ける技術が提案されているが、そもそも一つ一つのパーツに対してシール部材を貼り付ける必要があり、複数のパーツへ貼り付ける必要がある場合には手間の掛かる作業となっていた。したがって、ランナーに接続されている複数のパーツに対してまとめてシール部材を貼付することができれば非常に作業効率を向上させることができる。また、そもそもランナーに接続された状態のパーツに対してシールを貼り付ける技術については提案されておらず、新規な仕組みが求められていた。
【0006】
本発明は、例えば、ランナーに接続されているパーツに対してシール部材を好適に貼付する新規な仕組みを提供する。
【課題を解決するための手段】
【0007】
本発明は、例えば、模型部品であって、複数のパーツが接続されて形成されるランナーと、前記複数のパーツそれぞれに貼付される複数のシール部材を含む粘着シートとを備え、前記ランナーには、前記粘着シートを前記ランナーに貼付する際の位置決めを行う複数の突起部が形成され、前記粘着シートには、前記ランナーに形成された複数の突起部とそれぞれ対応する位置に複数の穴部が形成されることを特徴とする。
【発明の効果】
【0008】
本発明によれば、例えば、ランナーに接続されているパーツに対してシール部材を好適に貼付する新規な仕組みを提供することができる。
【図面の簡単な説明】
【0009】
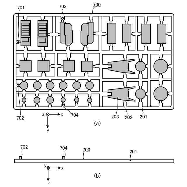
一実施形態に係る模型玩具の全体正面を示す図。
一実施形態に係る模型部品が接続されたランナーを示す図。
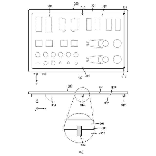
一実施形態に係る模型部品が接続されたランナーに貼付される粘着シートを示す図。
一実施形態に係る粘着シートをランナーに貼付する様子を示す図。
一実施形態に係るランナーに形成される突起部の配置パターンの変形例を示す図。
一実施形態に係る粘着シートに形成される切り込みを示す図。
一実施形態に係る模型部品が接続されたランナーの変形例を示す図。
一実施形態に係る模型部品が接続されたランナーに貼付される粘着シートの変形例を示す図。
【発明を実施するための形態】
【0010】
以下、添付図面を参照して実施形態を詳しく説明する。尚、以下の実施形態は特許請求の範囲に係る発明を限定するものではなく、また実施形態で説明されている特徴の組み合わせの全てが発明に必須のものとは限らない。実施形態で説明されている複数の特徴うち二つ以上の特徴が任意に組み合わされてもよい。また、同一若しくは同様の構成には同一の参照番号を付し、重複した説明は省略する。
(【0011】以降は省略されています)
この特許をJ-PlatPat(特許庁公式サイト)で参照する
関連特許
株式会社バンダイ
玩具
1か月前
株式会社バンダイ
玩具
1か月前
株式会社バンダイ
玩具
8日前
株式会社バンダイ
玩具
29日前
株式会社バンダイ
玩具
1日前
株式会社バンダイ
玩具
3日前
株式会社バンダイ
模型部品
9日前
株式会社バンダイ
発光玩具
15日前
株式会社バンダイ
模型部品及び模型玩具
1日前
株式会社バンダイナムコエンターテインメント
コンピュータシステム
1日前
株式会社バンダイナムコエンターテインメント
コンピュータシステム
5日前
株式会社バンダイ
模型部品及び模型玩具
2日前
株式会社バンダイナムコエンターテインメント
コンピュータシステム
5日前
株式会社バンダイ
プログラム及び通信端末
25日前
株式会社バンダイ
模型玩具、及び模型部品
1日前
株式会社バンダイ
模型玩具、及び模型部品
5日前
株式会社バンダイ
模型玩具、及び模型部品
2日前
株式会社バンダイ
プログラム及びゲーム装置
25日前
株式会社バンダイ
プログラム及びゲーム装置
25日前
株式会社バンダイ
模型素体及びその製造方法
9日前
株式会社バンダイ
プログラム及びゲーム装置
25日前
株式会社バンダイ
プログラム及びゲーム装置
25日前
株式会社バンダイ
模型部品、および模型玩具
1日前
株式会社バンダイ
プログラム、及びゲーム装置
1日前
株式会社バンダイ
プログラム、及びゲーム装置
26日前
株式会社バンダイ
プログラム、及びゲーム装置
26日前
株式会社バンダイ
プログラム、及びゲーム装置
1日前
株式会社バンダイ
プログラム、及びゲーム装置
1日前
株式会社バンダイ
プログラム、及びゲーム装置
15日前
株式会社バンダイ
プログラム、及びゲーム装置
10日前
株式会社バンダイ
プログラム、及びゲーム装置
1日前
株式会社バンダイ
プログラム、及びゲーム装置
1日前
株式会社バンダイ
プログラム、及びゲーム装置
15日前
株式会社バンダイ
プログラム、及びゲーム装置
15日前
株式会社バンダイナムコエンターテインメント
ゲームシステム及びプログラム
3日前
株式会社バンダイ
模型玩具用部品、および模型玩具
2日前
続きを見る
他の特許を見る