TOP
|
特許
|
意匠
|
商標
特許ウォッチ
Twitter
他の特許を見る
公開番号
2025136671
公報種別
公開特許公報(A)
公開日
2025-09-19
出願番号
2024035413
出願日
2024-03-07
発明の名称
発光玩具
出願人
株式会社バンダイ
代理人
主分類
A63H
33/26 20060101AFI20250911BHJP(スポーツ;ゲーム;娯楽)
要約
【課題】興趣性の高い発光玩具を提供する。
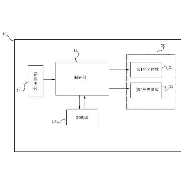
【解決手段】音検出部13と、複数の発光部27が配置された発光領域20と、音検出部13で検出された音の大きさに基づいて、発光領域20において発光させる発光部27の数を制御する制御部15と、を備える、発光玩具1である。発光領域20は、音検出部13で検出された第1群の音に基づいて発光する複数の発光部27を含む第1発光領域21と、音検出部13で検出された第2群の音に基づいて発光する複数の発光部27を含む第2発光領域22と、を含んでいる。
【選択図】図1
特許請求の範囲
【請求項1】
音検出部と、
複数の発光部が配置された発光領域と、
前記音検出部で検出された音の大きさに基づいて、前記発光領域において発光させる前記発光部の数を制御する制御部と、を備える、発光玩具。
続きを表示(約 950 文字)
【請求項2】
請求項1に記載の発光玩具であって、
前記発光領域は、前記音検出部で検出された第1群の音に基づいて発光する複数の発光部を含む第1発光領域と、当該音検出部で検出された第2群の音に基づいて発光する複数の発光部を含む第2発光領域と、を含む、発光玩具。
【請求項3】
請求項2に記載の発光玩具であって、
前記第1群の音は、第1範囲の周波数の音を含み、前記第2群の音は、当該第1範囲の周波数とは異なる第2範囲の周波数の音を含む、発光玩具。
【請求項4】
請求項1に記載の発光玩具であって、
前記制御部は、所定期間中に検出された音の相対的な大きさに基づいて前記発光させる前記発光部の数を制御する、発光玩具。
【請求項5】
請求項4に記載の発光玩具であって、
前記制御部は、前記所定期間中に相対的に大きい音が検出されたことに応じて、前記発光させる前記発光部の数を増加させる制御を行う、発光玩具。
【請求項6】
請求項4に記載の発光玩具であって、
前記制御部は、前記所定期間中において最大値となる大きさの音を検出したときは前記複数の発光部の全てを発光させる制御を行う、発光玩具。
【請求項7】
請求項6に記載の発光玩具であって、
前記音検出部が前記所定期間内で検出した前記最大値を記憶する記憶部を備え、
前記音検出部は、前記最大値を継続して検出し、
前記記憶部は、最新の前記所定期間において検出された前記最大値を更新して記憶する、発光玩具。
【請求項8】
請求項1に記載の発光玩具であって、
前記発光部は、発光の強度を変更可能に構成される、発光玩具。
【請求項9】
請求項8に記載の発光玩具であって、
前記制御部は、前記発光部の発光を開始する場合に、前記発光部の発光の強度を増加させていく制御を行う、発光玩具。
【請求項10】
請求項1に記載の発光玩具であって、
前記複数の発光部は、第1方向に1列に並ぶ第1発光列で構成される、発光玩具。
(【請求項11】以降は省略されています)
発明の詳細な説明
【技術分野】
【0001】
本発明は、発光玩具に関する。
続きを表示(約 1,100 文字)
【背景技術】
【0002】
発光する玩具として、特許文献1において、通気孔を有するグリップ部及びヘッド部からなるバット形のケースと、該ケース内で一端が固定され、他端がフリー端となるように配置され、フリー端に錘部が設けられる圧電振動体と、ヘッド部の外周に配置され、圧電振動体と電気的に接続される複数のLEDの配列からなる発光部とを備え、ケースには、通気孔を通じて連通する通気路が設けられ、この通気路を介してヘッド部に加えた衝撃音を外部に拡散させると共に、ヘッド部の揺動に連動して発光部を発光させる、という構成が開示されている。
【先行技術文献】
【特許文献】
【0003】
実用新案登録第3202052号
【発明の概要】
【発明が解決しようとする課題】
【0004】
特許文献1においては、手や膝等に打ち付けた際の打音を発すると共に、打音に連動させて発光表示する玩具であるが、発光の仕方が多彩なものではなく、発光玩具としては不十分なものであった。
【0005】
本発明は、興趣性の高い発光玩具を提供することを目的とする。
【課題を解決するための手段】
【0006】
(1)
音検出部と、
複数の発光部が配置された発光領域と、
上記音検出部で検出された音の大きさに基づいて、上記発光領域において発光させる上記発光部の数を制御する制御部と、を備える、発光玩具。
【0007】
(2)
(1)に記載の発光玩具であって、
上記発光領域は、上記音検出部で検出された第1群の音に基づいて発光する複数の発光部を含む第1発光領域と、その音検出部で検出された第2群の音に基づいて発光する複数の発光部を含む第2発光領域と、を含む、発光玩具。
【0008】
(3)
(2)に記載の発光玩具であって、
上記第1群の音は、第1範囲の周波数の音を含み、上記第2群の音は、その第1範囲の周波数とは異なる第2範囲の周波数の音を含む、発光玩具。
【0009】
(4)
(1)から(3)のいずれか1つに記載の発光玩具であって、
上記制御部は、所定期間中に検出された音の相対的な大きさに基づいて上記発光させる上記発光部の数を制御する、発光玩具。
【0010】
(5)
(4)に記載の発光玩具であって、
上記制御部は、上記所定期間中に相対的に大きい音が検出されたことに応じて、上記発光させる上記発光部の数を増加させる制御を行う、発光玩具。
(【0011】以降は省略されています)
この特許をJ-PlatPat(特許庁公式サイト)で参照する
関連特許
株式会社バンダイ
玩具
27日前
株式会社バンダイ
玩具
1日前
株式会社バンダイ
玩具
2か月前
株式会社バンダイ
玩具
1か月前
株式会社バンダイ
玩具
6日前
株式会社バンダイ
玩具
1か月前
株式会社バンダイ
玩具
1か月前
株式会社バンダイ
発光玩具
13日前
株式会社バンダイ
模型部品
7日前
株式会社バンダイ
ヨーヨー
1か月前
株式会社バンダイ
固形入浴剤
2か月前
株式会社バンダイナムコエクスペリエンス
景品獲得ゲーム装置
1か月前
株式会社バンダイナムコエクスペリエンス
景品獲得ゲーム装置
1か月前
株式会社バンダイナムコエクスペリエンス
景品獲得ゲーム装置
1か月前
株式会社バンダイナムコエクスペリエンス
景品獲得ゲーム装置
1か月前
株式会社バンダイナムコエクスペリエンス
景品獲得ゲーム装置
1か月前
株式会社バンダイナムコエクスペリエンス
景品獲得ゲーム装置
1か月前
株式会社バンダイナムコエクスペリエンス
景品獲得ゲーム装置
1か月前
株式会社バンダイナムコエクスペリエンス
景品獲得ゲーム装置
1か月前
株式会社バンダイナムコエンターテインメント
コンピュータシステム
1か月前
株式会社バンダイナムコエンターテインメント
コンピュータシステム
3日前
株式会社バンダイ
模型玩具、及び構造体
2か月前
株式会社バンダイナムコエンターテインメント
コンピュータシステム
3日前
株式会社バンダイナムコエンターテインメント
コンピュータシステム
1か月前
株式会社バンダイ
プログラム及び通信端末
23日前
株式会社バンダイ
模型玩具、及び模型部品
3日前
株式会社バンダイ
模型玩具、及び可動構造体
1か月前
株式会社バンダイ
プログラム及びゲーム装置
23日前
株式会社バンダイ
プログラム及びゲーム装置
23日前
株式会社バンダイ
プログラム及びゲーム装置
23日前
株式会社バンダイ
プログラム及びゲーム装置
23日前
株式会社バンダイ
ゲーム装置及びプログラム
2か月前
株式会社バンダイ
模型素体及びその製造方法
7日前
株式会社バンダイ
プログラム、及びゲーム装置
13日前
株式会社バンダイ
プログラム、及びゲーム装置
13日前
株式会社バンダイ
プログラム、及びゲーム装置
24日前
続きを見る
他の特許を見る