TOP
|
特許
|
意匠
|
商標
特許ウォッチ
Twitter
他の特許を見る
10個以上の画像は省略されています。
公開番号
2025139223
公報種別
公開特許公報(A)
公開日
2025-09-26
出願番号
2024038038
出願日
2024-03-12
発明の名称
雑草の多いグラウンドのリフォーム工法
出願人
青野スポーツ施設株式会社
代理人
弁理士法人 丸山国際特許事務所
主分類
E01C
13/00 20060101AFI20250918BHJP(道路,鉄道または橋りょうの建設)
要約
【課題】本発明は、除草を含めたグラウンドコンディションを改善できるリフォーム工法を提供する。
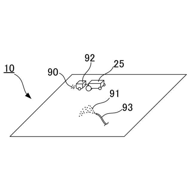
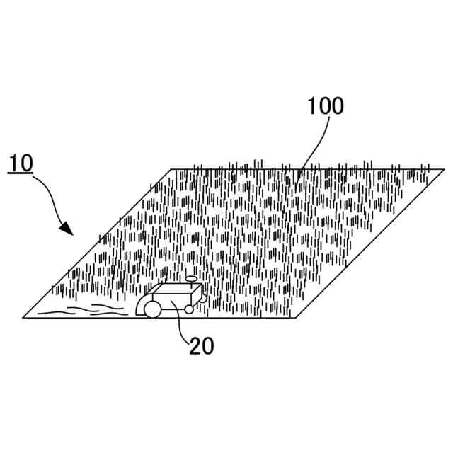
【解決手段】本発明に係る雑草の多いグラウンドのリフォーム工法は、草刈機20によりグラウンド10の表面の雑草100を刈り取り、回収する刈取ステップ、らせん状に刃が配置されたスパイラルカッター30を取り付けたトラクターを走行させ、前記グラウンドに残る雑草と根を細断する細断ステップと、耕運爪を複数配置してなるテーラー用アタッチメント40を取り付けたトラクターを走行させ、雑草の根切りと、前記グラウンドの表層土を撹拌する根切り・撹拌ステップと、前記グラウンドの表層土の凸凹を整正する不陸整正ステップと、ローラー転圧機70により転圧を行なう転圧ステップと、前記グラウンドに土壌安定剤90及び/又は除草剤91を散布する散布ステップと、を含む。
【選択図】図2
特許請求の範囲
【請求項1】
雑草の多いグラウンドのリフォーム工法であって、
草刈機によりグラウンドの表面の雑草を刈り取り、回収する刈取ステップ、
らせん状に刃が配置されたスパイラルカッターを取り付けたトラクターを、前記スパイラルカッターを回転させながら走行させ、前記グラウンドに残る雑草と根を細断する細断ステップと、
耕運爪を複数配置してなるテーラー用アタッチメントを取り付けたトラクターを、前記テーラー用アタッチメントを回転させながら走行させ、雑草の根切りと、前記グラウンドの表層土を撹拌する根切り・撹拌ステップと、
前記グラウンドの表層土の凸凹を整正する不陸整正ステップと、
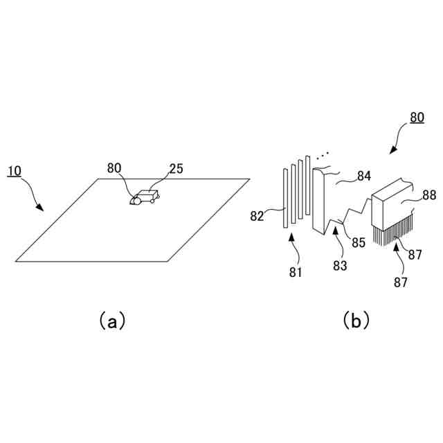
接地面の角が直角なワイドタイヤローラーを有するローラー転圧機により、前記グラウンドの転圧を行なう転圧ステップと、
前記グラウンドに土壌安定剤及び/又は除草剤を散布する散布ステップと、
を含む雑草の多いグラウンドのリフォーム工法。
続きを表示(約 520 文字)
【請求項2】
前記転圧ステップと前記散布ステップとの間に、
針金を幅方向に配置した針金状レーキと、幅方向に延びる平プレート84の下面に歯部材を波形に形成した平板レーキと、樹脂製の毛材を幅方向に延びる土台の下方に植え込んだブラシの少なくとも1つを有する仕上げ治具をトラクターに取り付け、前記仕上げ治具を接地させながら前記トラクターを走行させ、前記グラウンドを平坦に仕上げる仕上げステップを含む、
請求項1に記載の雑草の多いグラウンドのリフォーム工法。
【請求項3】
前記不陸整正ステップは、
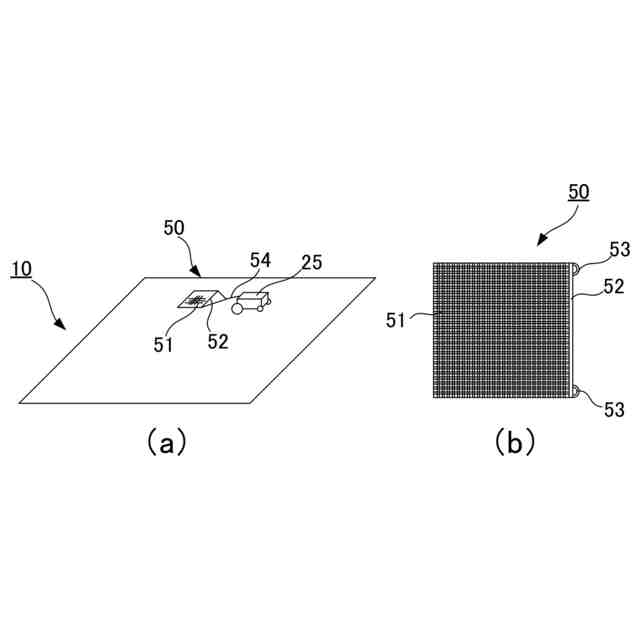
メッシュ部材を含むグラウンドマットをトラクターで牽引し、前記グラウンドの不陸整正を行なう第1不陸整正ステップと、
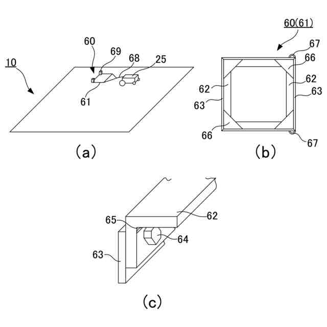
鋼材を枠型に組んだカンナカッターをトラクターで牽引し、前記グラウンドの表層に浮き出た雑草の集積と不陸整正を行なう第2不陸整正ステップと、
を含む、
請求項2に記載の雑草の多いグラウンドのリフォーム工法。
【請求項4】
前記カンナカッターは、後部側にウェイトを載せて牽引される、
請求項3に記載の雑草の多いグラウンドのリフォーム工法。
発明の詳細な説明
【技術分野】
【0001】
本発明は、野球グラウンドやテニスコート、公園などのグラウンドの土壌表面のリフォーム工法に関するものであり、具体的には雑草の多いグラウンドのリフォーム工法に関するものである。
続きを表示(約 1,400 文字)
【背景技術】
【0002】
野球グラウンド、サッカーグラウンド、テニスコート、ソフトボールグラウンド、公園などのグラウンドでは、雑草が生い茂り、水捌けが悪くなってカビや虫、悪臭が発生し、不衛生な状態になってしまうことがある。また、グラウンドに根が生い茂り、土が堆積して水たまりができ、さらには、雑草が広がり、雨上がりに土がぬかるみ、また、雑草により表面が凸凹になってしまうことがある。
【0003】
発明者は、特許文献1において、グラウンドの表層に格子状の溝を形成し、当該溝に砕石等を充填して排水効率を高めた地盤表面排水工法を提案している。
【先行技術文献】
【特許文献】
【0004】
特許第6901143号公報
【発明の開示】
【発明が解決しようとする課題】
【0005】
グラウンドの除草に特化したリフォームする工法が求められている。
【0006】
本発明は、除草を含めたグラウンドコンディションを改善できるリフォーム工法を提供することを目的とする。
【課題を解決するための手段】
【0007】
本発明に係る雑草の多いグラウンドのリフォーム工法は、
草刈機によりグラウンドの表面の雑草を刈り取り、回収する刈取ステップ、
らせん状に刃が配置されたスパイラルカッターを取り付けたトラクターを、前記スパイラルカッターを回転させながら走行させ、前記グラウンドに残る雑草と根を細断する細断ステップと、
耕運爪を複数配置してなるテーラー用アタッチメントを取り付けたトラクターを、前記テーラー用アタッチメントを回転させながら走行させ、雑草の根切りと、前記グラウンドの表層土を撹拌する根切り・撹拌ステップと、
前記グラウンドの表層土の凸凹を整正する不陸整正ステップと、
接地面の角が直角なワイドタイヤローラーを有するローラー転圧機により、前記グラウンドの転圧を行なう転圧ステップと、
前記グラウンドに土壌安定剤及び/又は除草剤を散布する散布ステップと、
を含む。
【0008】
前記転圧ステップと前記散布ステップとの間に、
針金を幅方向に配置した針金状レーキと、幅方向に延びる平プレート84の下面に歯部材を波形に形成した平板レーキと、樹脂製の毛材を幅方向に延びる土台の下方に植え込んだブラシの少なくとも1つを有する仕上げ治具をトラクターに取り付け、前記仕上げ治具を接地させながら前記トラクターを走行させ、前記グラウンドを平坦に仕上げる仕上げステップを含むことができる。
【0009】
前記不陸整正ステップは、
メッシュ部材を含むグラウンドマットをトラクターで牽引し、前記グラウンドの不陸整正を行なう第1不陸整正ステップと、
鋼材を枠型に組んだカンナカッターをトラクターで牽引し、前記グラウンドの表層に浮き出た雑草の集積と不陸整正を行なう第2不陸整正ステップと、
を含むことができる。
【0010】
前記カンナカッターは、後部側にウェイトを載せて牽引することができる。
【発明の効果】
(【0011】以降は省略されています)
この特許をJ-PlatPat(特許庁公式サイト)で参照する
関連特許
株式会社熊谷組
床版
6日前
株式会社熊谷組
床版
6日前
個人
折り畳み式標識具
13日前
株式会社熊谷組
床版接合構造
16日前
北越消雪機械工業株式会社
消雪装置
13日前
白出商事株式会社
縁石銘板(名板)
8日前
株式会社NIPPO
斜面用ローラ
7日前
株式会社ササキコーポレーション
作業機
5日前
株式会社NIPPO
斜面用ローラ
7日前
株式会社NIPPO
距離補正装置
6日前
株式会社NIPPO
切削用制御装置
6日前
三信工業株式会社
床版架設装置
5日前
桑名金属工業株式会社
融雪マットおよび融雪方法
5日前
株式会社熊谷組
床版継手装置、及び、床版
16日前
浅香工業株式会社
レーキ
23日前
東亜グラウト工業株式会社
防護柵の支柱構造
6日前
中井商工株式会社
橋梁の桁端止水工法
16日前
株式会社NIPPO
バンク用建設機械サポータ装置
7日前
西尾レントオール株式会社
コーンベット型電源装置
今日
日鉄神鋼建材株式会社
補強金具、及び支柱取付構造
6日前
株式会社NIPPO
アスファルトスタッカ制御装置
7日前
日立建機株式会社
転圧機械
6日前
日鉄建材株式会社
吊り材で支持された足場用床パネル
5日前
株式会社日本コンポジット工業
壁用構造体
5日前
三井住友建設株式会社
床版拡幅工法
7日前
株式会社NIPPO
コンクリートスタッカ
12日前
株式会社プロテックエンジニアリング
衝撃吸収柵
1日前
東日本旅客鉄道株式会社
横取り方法
12日前
株式会社NIPPO
スコップ加熱器
5日前
株式会社NIPPO
コンクリート舗装の施工方法
16日前
株式会社NIPPO
土壌改質材及びそれを含む土壌
6日前
大成建設株式会社
床版接合部の設計方法
16日前
株式会社NIPPO
コンクリート舗装及びその施工方法
16日前
日本製鉄株式会社
橋脚構造
5日前
ピーエス・コンストラクション株式会社
軌道支持構造
6日前
住倉鋼材株式会社
新幹線路盤の突起用鉄筋ユニット並びにその製造方法及び装置
12日前
続きを見る
他の特許を見る