TOP
|
特許
|
意匠
|
商標
特許ウォッチ
Twitter
他の特許を見る
公開番号
2025140280
公報種別
公開特許公報(A)
公開日
2025-09-29
出願番号
2024039579
出願日
2024-03-14
発明の名称
コンクリート舗装の施工方法
出願人
株式会社NIPPO
代理人
弁理士法人SIPPs
主分類
E01C
11/06 20060101AFI20250919BHJP(道路,鉄道または橋りょうの建設)
要約
【課題】 本発明は、目地部分に角欠けが発生しにくい新たなコンクリート舗装の施工方法を提供する。
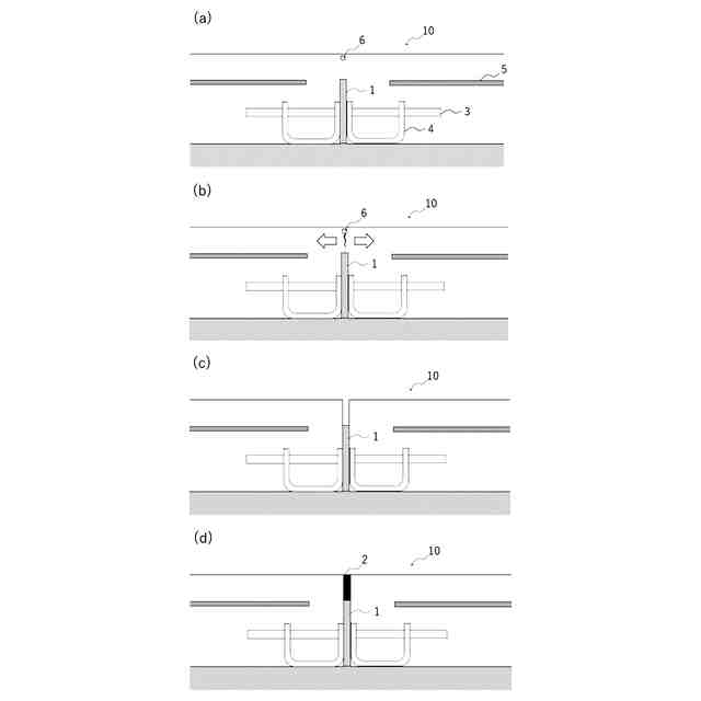
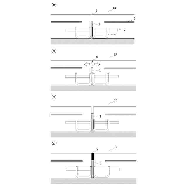
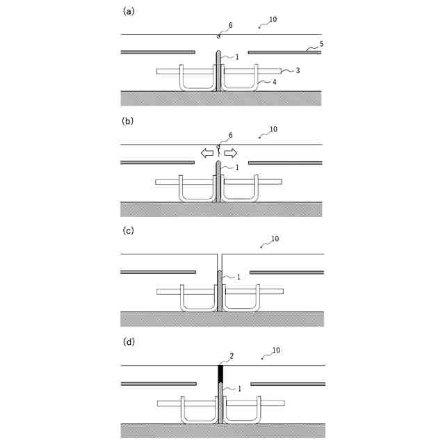
【解決手段】 本発明のコンクリート舗装10の施工方法は、舗設予定箇所に目地板1を設置すること、前記舗設予定箇所にコンクリートを打設して前記目地板1を埋めること、前記打設したコンクリートに亀裂誘導部6を形成すること、前記亀裂誘導部6を形成したコンクリートを養生すること、前記養生したコンクリートの前記目地板1の上部を除去すること、及び前記目地板1の上部に目地充填材2を入れることを含む。
【選択図】 図3
特許請求の範囲
【請求項1】
舗設予定箇所に目地板を設置すること、
前記舗設予定箇所にコンクリートを打設して前記目地板を埋めること、
前記打設したコンクリートに亀裂誘導部を形成すること、
前記亀裂誘導部を形成したコンクリートを養生すること、
前記養生したコンクリートの前記目地板の上部を除去すること、及び
前記目地板の上部に目地充填材を入れること
を含む、コンクリート舗装の施工方法。
続きを表示(約 180 文字)
【請求項2】
前記目地板の厚さが、15mm~35mmの範囲である、請求項1に記載のコンクリート舗装の施工方法。
【請求項3】
前記亀裂誘導部の形成が、亀裂誘導材の埋め込みによってなされる、請求項1に記載のコンクリート舗装の施工方法。
【請求項4】
前記亀裂誘導材が、紐状体である、請求項3に記載のコンクリート舗装の施工方法。
発明の詳細な説明
【技術分野】
【0001】
本発明は、コンクリート舗装の施工方法に関する。特に、本発明は、コンクリート舗装の繋ぎ目である目地部分に角欠けが発生しにくいコンクリート舗装の施工方法に関する。
続きを表示(約 1,400 文字)
【背景技術】
【0002】
コンクリート舗装は、アスファルト舗装と比較して、コストが高く長い養生期間が必要であるため、長期間の通行止めが必要になる場合がある一方で、わだち掘れが生じにくく高い耐久性及び耐荷重性を有する。
【0003】
ただし、コンクリート舗装は、ひび割れ(クラック)が生じる場合があり、ひび割れを放置しておくと、ひび割れ幅が広がり、ひび割れ同士がつながり、コンクリート片が飛散し、さらに劣化が進むとポットホールと呼ばれる窪みが発生する。ポットホールは車両の安全走行に支障を来たすおそれもある。さらに、ひび割れやポットホールが鉄筋まで達すると、浸透した雨水の影響で鉄筋が腐食する。
【0004】
コンクリート舗装は、一定間隔ごとに目地を形成することによって、応力の低減を図り、ひび割れの発生を防いでいる。この目地には、コンクリート硬化時の収縮を吸収し、コンクリート版に不規則な間隔のひび割れが発生することを抑制するための収縮目地と、コンクリートの熱膨張による応力発生を防止する膨張目地とがあり、膨張目地は、通常、25mm程度の幅を有している。
【0005】
コンクリート舗装の目地の形成方法としては、コンクリートを打設した後硬化する前に、目地板を設置する箇所のコンクリートを一旦取り除いて目地板を設置し、その後に目地板両側のコンクリートを元に戻して表面をコテで仕上げる方法が知られている。
【0006】
この方法では、目地周辺の位置において粒径40mm等の大きな骨材が配置されると、きれいな仕上げができなくなってしまうため、目地周辺には小さな骨材を配置する必要がある。そのため、目地周辺の位置において強度が低下して目地部分に角欠けが発生する場合がある。また人力の作業であるため、目地を境にコンクリート舗装の高さに差が付くことによって、平坦性が低くなる場合がある。
【0007】
コンクリート舗装の目地の他の形成方法としては、杉板等の目地板を予め設置しておき、コンクリートをその上から打設した後、コンクリートの硬化後に目地板上部のコンクリートをコンクリートカッターで切断除去して空隙を作り、その空隙に防水性の目地充填材を入れる方法が知られている。
【0008】
このような方法では、粒径40mm等の大きな骨材が存在していても、コンクリートカッターが骨材ごと切断するために、仕上げもきれいにすることができ、かつ強度も高くすることができる。しかし、この方法では、コンクリートカッターで切断するタイミングが非常に難しい。コンクリートカッターを打設したコンクリート上に搬入するにはコンクリートがある程度、硬化している必要があるが、コンクリートの硬化を待ちすぎると、不規則なクラックがコンクリートに発生する場合がある。特に、先に不規則なクラックが入ってしまった場合、コンクリートカッターでその周辺を切断しようとすると、目地周辺の角が欠けてしまう場合があり、そこからコンクリート舗装の破壊が進む場合がある。
【0009】
特許文献1は、このような角欠けの発生を防止するためのコンクリート舗装目地形成方法を開示している。
【先行技術文献】
【特許文献】
【0010】
特開2023-101428号公報
【発明の概要】
【発明が解決しようとする課題】
(【0011】以降は省略されています)
この特許をJ-PlatPat(特許庁公式サイト)で参照する
関連特許
株式会社NIPPO
電子黒板
21日前
株式会社NIPPO
法面機械
12日前
株式会社NIPPO
飛散防止装置
今日
株式会社NIPPO
法面作業装置
12日前
株式会社NIPPO
法面作業装置
12日前
株式会社NIPPO
アスファルトフィニッシャ
23日前
株式会社NIPPO
コンクリート舗装の施工方法
2日前
株式会社NIPPO
コンクリート舗装及びその施工方法
2日前
株式会社NIPPO
再生アスファルト混合物の製造方法
20日前
株式会社NIPPO
再生アスファルト混合物の製造方法
20日前
株式会社NIPPO
再生アスファルト混合物の製造方法
29日前
株式会社NIPPO
釘打ち用補助具及びそれを用いた固定方法
2日前
株式会社NIPPO
路面滑り抵抗回復装置および路面滑り抵抗回復方法
2日前
株式会社NIPPO
タイヤローラおよびタイヤローラのタイヤ加熱方法
29日前
積水樹脂株式会社
防音壁
1か月前
GX株式会社
仮設防護体
21日前
日本精機株式会社
路面投影装置
1か月前
積水樹脂株式会社
パネル連結構造
1か月前
範多機械株式会社
路面切削機
1か月前
株式会社熊谷組
床版接合構造
2日前
GX株式会社
昇降式仮設防護体
12日前
GX株式会社
仮設防護体連結構造
1か月前
前田工繊株式会社
防護柵
14日前
株式会社トーテック
赤外線融雪装置
1か月前
株式会社トーテック
赤外線融雪装置
1か月前
株式会社NIPPO
建設機械用凹凸ロール
1か月前
株式会社熊谷組
床版継手装置、及び、床版
2日前
浅香工業株式会社
レーキ
9日前
中井商工株式会社
橋梁の桁端止水工法
2日前
株式会社幸和道路
自走式道路路面標示文字描画車両
20日前
株式会社トップ
立て看板用スロープおよび立て看板
1か月前
株式会社三共
足場用移動屋根装置及び橋梁用足場
22日前
株式会社NIPPO
舗装構造体の製造方法
1か月前
株式会社NIPPO
法面機械
12日前
十武建設株式会社
舗装材吹付け装置、および吹付け施工方法
20日前
酒井重工業株式会社
振動ローラ
1か月前
続きを見る
他の特許を見る