TOP
|
特許
|
意匠
|
商標
特許ウォッチ
Twitter
他の特許を見る
10個以上の画像は省略されています。
公開番号
2025149365
公報種別
公開特許公報(A)
公開日
2025-10-08
出願番号
2024049963
出願日
2024-03-26
発明の名称
床版拡幅工法
出願人
三井住友建設株式会社
代理人
弁理士法人大島特許事務所
主分類
E01D
19/12 20060101AFI20251001BHJP(道路,鉄道または橋りょうの建設)
要約
【課題】大掛かりな装置やブラケットを使うことなく、コンクリート製の床版を拡幅することができる床版拡幅工法を提供する。
【解決手段】主桁3によって支持されたコンクリート製の床版4を拡幅する床版拡幅工法は、プレキャストコンクリート製の複数のプレキャストリブ11、101を、主桁から橋幅方向の外側に張り出すように橋軸方向に間隔を空けて主桁の上部に一体に取り付ける第1工程を有する。また、床版拡幅工法は、第1工程の後、プレキャストリブを連結するように型枠49を組み立て、型枠及びプレキャストリブの上にコンクリート53を打設して床版拡幅部10を構築する第3工程を有する。
【選択図】図9
特許請求の範囲
【請求項1】
主桁によって支持されたコンクリート製の床版を拡幅する床版拡幅工法であって、
プレキャストコンクリート製の複数のプレキャストリブを、前記主桁から橋幅方向の外側に張り出すように橋軸方向に間隔を空けて前記主桁の上部に一体に取り付ける第1工程と、
前記第1工程の後、前記プレキャストリブを連結するように型枠を組み立て、前記型枠及び前記プレキャストリブの上にコンクリートを打設して床版拡幅部を構築する第3工程と、を有する床版拡幅工法。
続きを表示(約 1,100 文字)
【請求項2】
前記第1工程の後、且つ前記第3工程の前に、前記プレキャストリブの各々の前記橋幅方向の外側の部分と前記主桁の下部とを接続するようにストラット部材を前記プレキャストリブ及び前記主桁の下部に取り付ける第2工程を更に有する請求項1に記載の床版拡幅工法。
【請求項3】
前記第3工程は、互いに隣接する前記プレキャストリブに、前記型枠を支持する支保工を支持させる工程を含む請求項1又は請求項2に記載の床版拡幅工法。
【請求項4】
前記床版は、前記主桁のウェブから前記橋幅方向の外側に張り出す張出部を有し、
前記第1工程は、
前記張出部の下方のうちの前記プレキャストリブを取り付けるべき位置において、前記張出部及び前記ウェブの上部に結合するように、コンクリートによって複数の場所打ちリブを構築する工程と、
前記場所打ちリブを構築した後、前記プレキャストリブを、前記場所打ちリブを介して前記ウェブの上部に取り付ける工程と、を含む請求項1又は請求項2に記載の床版拡幅工法。
【請求項5】
前記場所打ちリブを構築する工程は、
前記ウェブの上部に前記橋幅方向に貫通する複数の孔を前記橋軸方向に間隔を空けて形成する工程と、
前記孔の各々に連続するようにシースを配置した状態で前記コンクリートを打設する工程と、を含む請求項4に記載の床版拡幅工法。
【請求項6】
前記場所打ちリブを構築する工程は、前記張出部及び前記ウェブに鉄筋結合用のアンカーを打ち込み、前記アンカーに鉄筋を取り付ける工程を含む請求項5に記載の床版拡幅工法。
【請求項7】
前記プレキャストリブは、材軸方向に延在する貫通孔を有し、
前記第1工程は、前記貫通孔が前記シースの各々に連続するように前記プレキャストリブを配置する工程と、
前記貫通孔、前記シース及び前記孔に挿通した緊張材を緊張することによって前記プレキャストリブを前記ウェブの上部に結合する工程と、を含む請求項5に記載の床版拡幅工法。
【請求項8】
前記ストラット部材は、プレキャストコンクリート製であり、
前記第2工程は、
前記ストラット部材の上端及び下端を、コンクリートによって前記プレキャストリブ及び前記主桁の下部に結合する工程を含む請求項2に記載の床版拡幅工法。
【請求項9】
前記プレキャストリブの上下方向の高さは、前記橋幅方向の外側の端部から前記橋幅方向の内側の端部に向かって大きくなり、
前記第1工程では、前記プレキャストリブの前記橋幅方向の内側の端部が前記主桁の上部に一体に取り付けられる請求項1又は請求項2に記載の床版拡幅工法。
発明の詳細な説明
【技術分野】
【0001】
本発明は、コンクリート製の床版を拡幅する床版拡幅工法に関する。
続きを表示(約 1,400 文字)
【背景技術】
【0002】
橋梁を拡幅するための拡幅桁を橋桁に接合する接合構造及び方法が公知である(例えば、特許文献1)。特許文献1に記載の接合方法は、橋桁に既設側仕口部材をボルト接合する工程と、既設側仕口部材に拡幅ブラケットをボルト接合する工程と、拡幅ブラケットに、予め拡幅桁に接合された拡幅側仕口部材をボルト接合する工程とを有する。
【先行技術文献】
【特許文献】
【0003】
特許4838232号公報
【発明の概要】
【発明が解決しようとする課題】
【0004】
特許文献1に記載の接合方法では、拡幅桁を設置するために、既設の橋脚と異なる別の橋脚を設ける必要がある。そのため、橋梁を拡幅するための作業が煩雑になる。他の工法では、別の橋脚を設けることなく床版のみを拡幅する工法もあるが、この場合には、床版拡幅部構築用の支保工を組み立てるために大掛かりな装置が必要である。このような装置の代わりに橋桁にブラケットを取り付けて、このブラケットに支保工を支持させる工法もあるが、この場合には、大きな荷重を支持できるブラケットを取り付けるために橋桁に複数の孔を形成する必要がある。
【0005】
本発明は、以上の背景に鑑み、大掛かりな装置やブラケットを使うことなく、コンクリート製の床版を拡幅することができる床版拡幅工法を提供することを課題とする。
【課題を解決するための手段】
【0006】
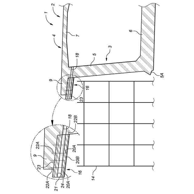
上記課題を解決するために、本発明は、主桁(3)によって支持されたコンクリート製の床版(4)を拡幅する床版拡幅工法であって、プレキャストコンクリート製の複数のプレキャストリブ(11、101)を、前記主桁から橋幅方向の外側に張り出すように橋軸方向に間隔を空けて前記主桁の上部に一体に取り付ける第1工程(図6)と、前記第1工程の後、前記プレキャストリブを連結するように型枠(49)を組み立て、前記型枠及び前記プレキャストリブの上にコンクリート(53)を打設して床版拡幅部(10)を構築する第3工程(図9)と、を有する。
【0007】
この態様によれば、床版拡幅部は、プレキャストリブに支持されるため、床版拡幅部を支持するための装置やブラケットなどの部材を用意する必要がない。加えて、床版拡幅部を構築した後、プレキャストリブを撤去する必要がない。したがって、大掛かりな装置やブラケットを使うことなく、コンクリート製の床版を拡幅することができる
【0008】
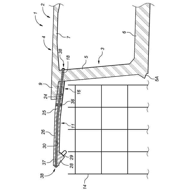
上記の態様において、当該床版拡幅工法は、第1工程の後、且つ前記第3工程の前に、前記プレキャストリブの各々の前記橋幅方向の外側の部分と前記主桁の下部とを接続するようにストラット部材(12)を前記プレキャストリブ及び前記主桁の下部に取り付ける第2工程(図7)を更に有してよい。
【0009】
この態様によれば、プレキャストリブの橋幅方向の外側の部分がストラット部材に支持されるため、床版拡幅部の橋幅方向の幅を大きくしても、床版拡幅部は、プレキャストリブ及びストラット部材に確実に支持される。
【0010】
上記の態様において、前記第3工程は、互いに隣接する前記プレキャストリブに、前記型枠を支持する支保工(51)を支持させる工程を含んでよい。
(【0011】以降は省略されています)
この特許をJ-PlatPat(特許庁公式サイト)で参照する
関連特許
三井住友建設株式会社
床版拡幅工法
5日前
三井住友建設株式会社
水硬性組成物とその調合設計
24日前
三井住友建設株式会社
培養装置、および培養システム
11日前
三井住友建設株式会社
測量システム、測量方法、及びプログラム
17日前
三井住友建設株式会社
コンクリート製品の製造システム及び製造方法
5日前
株式会社熊谷組
床版
4日前
株式会社熊谷組
床版
4日前
個人
折り畳み式標識具
11日前
GX株式会社
仮設防護体
1か月前
白出商事株式会社
縁石銘板(名板)
6日前
北越消雪機械工業株式会社
消雪装置
11日前
株式会社熊谷組
床版接合構造
14日前
GX株式会社
昇降式仮設防護体
24日前
株式会社NIPPO
斜面用ローラ
5日前
株式会社ササキコーポレーション
作業機
3日前
株式会社NIPPO
斜面用ローラ
5日前
株式会社NIPPO
距離補正装置
4日前
株式会社NIPPO
切削用制御装置
4日前
三信工業株式会社
床版架設装置
3日前
前田工繊株式会社
防護柵
26日前
桑名金属工業株式会社
融雪マットおよび融雪方法
3日前
株式会社熊谷組
床版継手装置、及び、床版
14日前
東亜グラウト工業株式会社
防護柵の支柱構造
4日前
中井商工株式会社
橋梁の桁端止水工法
14日前
浅香工業株式会社
レーキ
21日前
株式会社幸和道路
自走式道路路面標示文字描画車両
1か月前
日鉄神鋼建材株式会社
補強金具、及び支柱取付構造
4日前
株式会社NIPPO
アスファルトスタッカ制御装置
5日前
株式会社NIPPO
バンク用建設機械サポータ装置
5日前
日立建機株式会社
転圧機械
4日前
日鉄建材株式会社
吊り材で支持された足場用床パネル
3日前
株式会社三共
足場用移動屋根装置及び橋梁用足場
1か月前
株式会社日本コンポジット工業
壁用構造体
3日前
三井住友建設株式会社
床版拡幅工法
5日前
十武建設株式会社
舗装材吹付け装置、および吹付け施工方法
1か月前
株式会社NIPPO
法面機械
24日前
続きを見る
他の特許を見る