TOP
|
特許
|
意匠
|
商標
特許ウォッチ
Twitter
他の特許を見る
10個以上の画像は省略されています。
公開番号
2025150479
公報種別
公開特許公報(A)
公開日
2025-10-09
出願番号
2024051368
出願日
2024-03-27
発明の名称
軌道支持構造
出願人
ピーエス・コンストラクション株式会社
,
株式会社ピーエスケー
代理人
個人
主分類
E01D
24/00 20060101AFI20251002BHJP(道路,鉄道または橋りょうの建設)
要約
【課題】橋桁への負担を軽減し、安定して作業機械が移動する軌道を支持することができる軌道支持構造の提供。
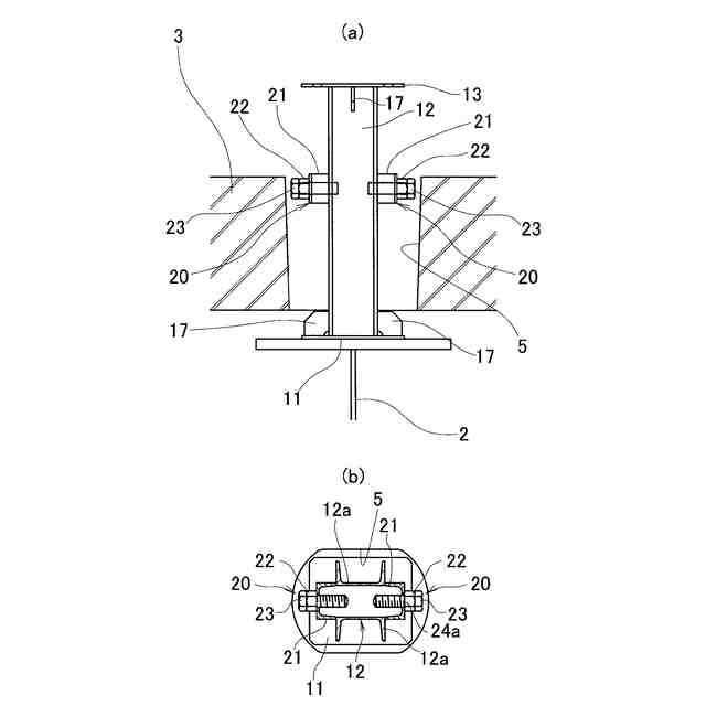
【解決手段】この軌道支持構造は、プレキャストコンクリート床版部材3の橋桁上に位置し、厚み方向に貫通した貫通孔5,5…を通して、軌道4を支持する軌道支持部材6を橋桁2上面に支持させ、軌道支持部材6は、橋桁2上面に載置される平板状の沓部11と、沓部11上に立設された支柱部12と、支柱部12の上端に固定された平板状の軌道受板13と、軌道支持部材6を貫通孔5内に固定する固定手段とを備えている。
【選択図】図3
特許請求の範囲
【請求項1】
平行な複数の橋桁上に複数のプレキャストコンクリート床版部材を橋軸方向に並べて架設して床版を構築するにあたり、
前記プレキャストコンクリート床版部材の下面より伸縮可能に突出させた高さ調節具を介して前記橋桁上面に仮置きされた状態の前記複数のプレキャストコンクリート床版部材上を作業機械が移動するための軌道を支持する軌道支持構造において、
前記プレキャストコンクリート床版部材の橋桁上に位置し、厚み方向に貫通した貫通孔を通して、前記軌道を支持する軌道支持部材を前記橋桁上面に支持させ、
該軌道支持部材が固定手段により前記貫通孔に固定されていることを特徴としてなる軌道支持構造。
続きを表示(約 610 文字)
【請求項2】
前記軌道支持部材は、前記橋桁上面に載置される平板状の沓部と、該沓部上に立設された支柱部と、該支柱部の上端に固定された平板状の軌道受板とを備え、
前記固定手段は、前記支柱部の所定高さに水平方向に伸縮可能に支持された複数のストッパーによって構成され、該複数のストッパーの先端部が前記貫通孔の内面に当接することで前記支柱部を前記貫通孔内に固定するようにした請求項1に記載の軌道支持構造。
【請求項3】
前記貫通孔は、前記橋桁と前記プレキャストコンクリート床版部材とを一体化させるジベルを溶植する際に使用するジベル孔である請求項1又は2に記載の軌道支持構造。
【請求項4】
前記固定手段が前記軌道支持部材の上下方向に複数段配置に備えられている請求項1又は2に記載の軌道支持構造。
【請求項5】
前記固定手段が前記軌道支持部材の上下方向に移動可能に支持されている請求項1又は2に記載の軌道支持構造。
【請求項6】
前記軌道支持部材下に着脱可能に固定される高さ調整用駒を備えている請求項1又は2に記載の軌道支持構造。
【請求項7】
前記軌道支持部材下に配置されるライナー部材を備え、該ライナー部材は、前記橋桁上面に突設された複数の突起物の高さより厚く、且つ前記突起物間に配置されている請求項1又は2に記載の軌道支持構造。
発明の詳細な説明
【技術分野】
【0001】
本発明は、橋梁や高架道路の床版を構築する際に使用する架設機やその他の自走式機械等が走行するための軌道を支持するための軌道支持構造に関する。
続きを表示(約 1,000 文字)
【背景技術】
【0002】
近年、高架道路や橋梁の老朽化に伴う大規模更新工事が進められ、この大規模更新工事において床版取替工事が盛んに行われている。
【0003】
この床版取替工事は、所定の作業区画の既設床版を橋軸方向に複数の部材(以下、既設床版部材という)に分割して撤去し、撤去後の当該作業区画に工場等で予め製作されたプレキャストコンクリート床版部材(以下、PCa床版部材という)を橋軸方向に並べて鋼桁等の橋桁上に架設する。
【0004】
各PCa床版部材の架設作業は、先ず、PCa床版部材の下面より伸縮可能に高さ調節具を突出させておき、高さ調節具を介して橋桁上面に所定の隙間を介して仮置きし、高さ調節具によってPCa床版部材の高さを調節する。
【0005】
その後、新設プレキャスト床版と鋼桁とを一体化するためのスタッドジベルをPCa床版部材に設けたジベル孔の位置に合わせて鋼桁上に溶植する。
【0006】
そして、上述したジベル孔及びPCa床版部材と橋桁上面との隙間を無収縮モルタル等の充填材を充填することによってPCa床版部材と橋桁とを一体化させるようになっている。
【0007】
一方、床版取替工事では、既設床版の撤去作業や新設のPCa床版部材の架設作業を移動式クレーンによって行うことが一般的であるが、作業場所近傍に移動式クレーンを据え付けることができない場合には床版架設機が用いられている。
【0008】
この床版架設機は、床版(橋面)上に敷設されたレール軌道上を移動する移動手段と、移動手段に支持された脚材に主桁部が支持されてなるフレームと、フレームに支持された揚重装置とを備え、レール軌道上を移動しつつ順次既設床版部材の撤去及びPCa床版部材の架設を行えるようになっている(例えば、特許文献1を参照)。
【先行技術文献】
【特許文献】
【0009】
特開2019-173436号公報
【発明の概要】
【発明が解決しようとする課題】
【0010】
床版架設機は、既設床版部材を所定枚数撤去した後、既設床版部材を撤去した範囲に新設PCa床版部材を架設する手順で作業を行う場合、所定枚数の新設のPCa床版部材を架設した後、床版架設機を次の隣接する作業エリアまで移動させる必要があり、その際、新設のPCa床版部材上に敷設されたレール軌道上を移動する。
(【0011】以降は省略されています)
この特許をJ-PlatPat(特許庁公式サイト)で参照する
関連特許
株式会社熊谷組
床版
4日前
株式会社熊谷組
床版
4日前
個人
折り畳み式標識具
11日前
GX株式会社
仮設防護体
1か月前
北越消雪機械工業株式会社
消雪装置
11日前
株式会社熊谷組
床版接合構造
14日前
白出商事株式会社
縁石銘板(名板)
6日前
GX株式会社
昇降式仮設防護体
24日前
株式会社ササキコーポレーション
作業機
3日前
株式会社NIPPO
斜面用ローラ
5日前
株式会社NIPPO
斜面用ローラ
5日前
株式会社NIPPO
距離補正装置
4日前
株式会社NIPPO
切削用制御装置
4日前
三信工業株式会社
床版架設装置
3日前
前田工繊株式会社
防護柵
26日前
株式会社熊谷組
床版継手装置、及び、床版
14日前
桑名金属工業株式会社
融雪マットおよび融雪方法
3日前
浅香工業株式会社
レーキ
21日前
中井商工株式会社
橋梁の桁端止水工法
14日前
東亜グラウト工業株式会社
防護柵の支柱構造
4日前
日鉄神鋼建材株式会社
補強金具、及び支柱取付構造
4日前
株式会社NIPPO
アスファルトスタッカ制御装置
5日前
株式会社幸和道路
自走式道路路面標示文字描画車両
1か月前
株式会社NIPPO
バンク用建設機械サポータ装置
5日前
日鉄建材株式会社
吊り材で支持された足場用床パネル
3日前
日立建機株式会社
転圧機械
4日前
株式会社日本コンポジット工業
壁用構造体
3日前
三井住友建設株式会社
床版拡幅工法
5日前
株式会社NIPPO
法面機械
24日前
株式会社NIPPO
コンクリートスタッカ
10日前
十武建設株式会社
舗装材吹付け装置、および吹付け施工方法
1か月前
東日本旅客鉄道株式会社
横取り方法
10日前
株式会社NIPPO
法面作業装置
24日前
株式会社NIPPO
法面作業装置
24日前
五洋建設株式会社
床版部材設置装置及び床版部材の設置方法
1か月前
株式会社NIPPO
スコップ加熱器
3日前
続きを見る
他の特許を見る