TOP
|
特許
|
意匠
|
商標
特許ウォッチ
Twitter
他の特許を見る
公開番号
2025144754
公報種別
公開特許公報(A)
公開日
2025-10-03
出願番号
2024044592
出願日
2024-03-21
発明の名称
コンクリートスタッカ
出願人
株式会社NIPPO
代理人
弁理士法人プロウィン
主分類
E01C
19/48 20060101AFI20250926BHJP(道路,鉄道または橋りょうの建設)
要約
【課題】ベルトコンベアからのコンクリート材料の漏れを抑制しながらも、ベルトの長寿命化を図ることが可能なコンクリートスタッカを提供する。
【解決手段】コンクリート材料が供給され、開口部(20c)を有するホッパ(20a,20b)と、開口部(20c)の下方に設けられてコンクリート材料を搬送するベルトコンベア(32)と、開口部(20c)に設けられてベルトコンベア(32)のベルト(32a)に接触するスクレーパ(21)とを備え、スクレーパ(21)は、ベルトコンベア(32)の搬送方向に沿って幅が変化しているコンクリートスタッカ。
【選択図】図5
特許請求の範囲
【請求項1】
コンクリート材料が供給され、開口部を有するホッパと、
前記開口部の下方に設けられて前記コンクリート材料を搬送するベルトコンベアと、
前記開口部に設けられて前記ベルトコンベアのベルトに接触するスクレーパとを備え、
前記スクレーパは、前記ベルトコンベアの搬送方向に沿って幅が変化していることを特徴とするコンクリートスタッカ。
続きを表示(約 420 文字)
【請求項2】
請求項1に記載のコンクリートスタッカであって、
前記ベルトコンベアは、前記ベルトの幅方向に張力を加えるテンション部材と、前記ベルトに沿って設けられたチェーン部と、前記チェーン部を駆動するスプロケットを備えることを特徴とするコンクリートスタッカ。
【請求項3】
請求項1に記載のコンクリートスタッカであって、
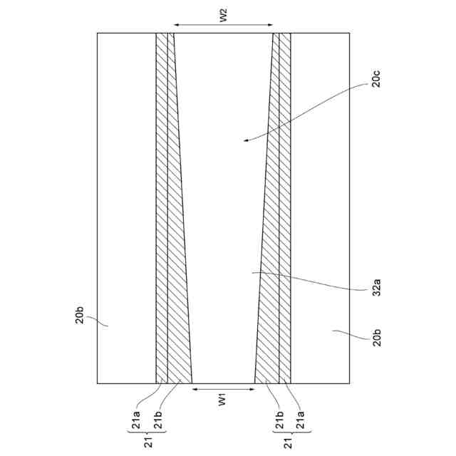
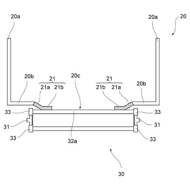
前記スクレーパが前記ベルトの幅方向における両側に設けられており、
前記ベルトコンベアの搬送方向に沿って、前記スクレーパ同士の間隔が拡がっていることを特徴とするコンクリートスタッカ。
【請求項4】
請求項1から3の何れか一つに記載のコンクリートスタッカであって、
前記ベルトコンベアは、前記開口部の下方における水平搬送部と、前記水平搬送部から延伸されて前記水平搬送部に対して傾斜する傾斜搬送部を備えていることを特徴とするコンクリートスタッカ。
発明の詳細な説明
【技術分野】
【0001】
本発明は、コンクリートスタッカに関する。
続きを表示(約 1,400 文字)
【背景技術】
【0002】
従来、道路等のコンクリート舗装の施工時にコンクリート材料を供給する装置として、車両に設けたベルトコンベアでコンクリート材料を搬送するコンクリートスタッカが用いられている(例えば特許文献1を参照)。このような従来のコンクリートスタッカでは、ベルトコンベアに傾斜面が設けられており、ホッパの位置よりも高い位置までコンクリート材料を搬送して、他のベルトコンベアや他の工事用車両に対してコンクリート材料を供給する。
【先行技術文献】
【特許文献】
【0003】
特開2000-257012号公報
【発明の概要】
【発明が解決しようとする課題】
【0004】
上述した従来のコンクリートスタッカでは、ホッパの下方にベルトが水平に配置されており、流動性のあるコンクリート材料が幅方向における両側に拡がって落下する可能性がある。そこで、ホッパの開口部にベルトの搬送面と接触するスクレーパを設け、スクレーパとベルトの隙間からコンクリート材料が漏れないようにすることも提案されている。しかし、従来のコンクリートスタッカでは、スクレーパがベルトと接触しているためベルトの表面が摩擦によって劣化や破断しやすく、ベルトの寿命が短くなるという問題があった。
【0005】
そこで本発明は、上記従来の問題点に鑑みなされたものであり、ベルトコンベアからのコンクリート材料の漏れを抑制しながらも、ベルトの長寿命化を図ることが可能なコンクリートスタッカを提供することを目的とする。
【課題を解決するための手段】
【0006】
上記課題を解決するために、本発明のコンクリートスタッカは、コンクリート材料が供給され、開口部を有するホッパと、前記開口部の下方に設けられて前記コンクリート材料を搬送するベルトコンベアと、前記開口部に設けられて前記ベルトコンベアのベルトに接触するスクレーパとを備え、前記スクレーパは、前記ベルトコンベアの搬送方向に沿って幅が変化していることを特徴とする。
【0007】
このような本発明のコンクリートスタッカでは、ホッパの開口部に設けられたたスクレーパが、ベルトコンベアの搬送方向に沿って幅が変化していることで、ベルトの搬送面がスクレーパと接触する頻度を低減することができ、ベルトコンベアからのコンクリート材料の漏れを抑制しながらも、ベルトの長寿命化を図ることが可能となる。
【0008】
また、本発明の一態様では、前記ベルトコンベアは、前記ベルトの幅方向に張力を加えるテンション部材と、前記ベルトに沿って設けられたチェーン部と、前記チェーン部を駆動するスプロケットを備える。
【0009】
また、本発明の一態様では、前記スクレーパが前記ベルトの幅方向における両側に設けられており、前記ベルトコンベアの搬送方向に沿って、前記スクレーパ同士の間隔が拡がっている。
【0010】
また、本発明の一態様では、前記ベルトコンベアは、前記開口部の下方における水平搬送部と、前記水平搬送部から延伸されて前記水平搬送部に対して傾斜する傾斜搬送部を備えている。
【発明の効果】
(【0011】以降は省略されています)
この特許をJ-PlatPat(特許庁公式サイト)で参照する
関連特許
株式会社NIPPO
法面機械
15日前
株式会社NIPPO
法面作業装置
15日前
株式会社NIPPO
飛散防止装置
3日前
株式会社NIPPO
法面作業装置
15日前
株式会社NIPPO
コンクリートスタッカ
1日前
株式会社NIPPO
コンクリート舗装の施工方法
5日前
株式会社NIPPO
コンクリート舗装及びその施工方法
5日前
株式会社NIPPO
再生アスファルト混合物の製造方法
23日前
株式会社NIPPO
再生アスファルト混合物の製造方法
23日前
株式会社NIPPO
釘打ち用補助具及びそれを用いた固定方法
5日前
株式会社NIPPO
路面滑り抵抗回復装置および路面滑り抵抗回復方法
5日前
個人
折り畳み式標識具
2日前
GX株式会社
仮設防護体
24日前
日本精機株式会社
路面投影装置
1か月前
北越消雪機械工業株式会社
消雪装置
2日前
株式会社熊谷組
床版接合構造
5日前
範多機械株式会社
路面切削機
1か月前
GX株式会社
昇降式仮設防護体
15日前
GX株式会社
仮設防護体連結構造
1か月前
前田工繊株式会社
防護柵
17日前
株式会社熊谷組
床版継手装置、及び、床版
5日前
中井商工株式会社
橋梁の桁端止水工法
5日前
浅香工業株式会社
レーキ
12日前
株式会社トップ
立て看板用スロープおよび立て看板
1か月前
株式会社幸和道路
自走式道路路面標示文字描画車両
23日前
株式会社三共
足場用移動屋根装置及び橋梁用足場
25日前
株式会社NIPPO
コンクリートスタッカ
1日前
十武建設株式会社
舗装材吹付け装置、および吹付け施工方法
23日前
株式会社NIPPO
法面機械
15日前
東日本旅客鉄道株式会社
横取り方法
1日前
共和ゴム株式会社
床版敷設シール材
29日前
株式会社栗本鐵工所
検査路及びステップ
1か月前
酒井重工業株式会社
振動ローラ
1か月前
株式会社大林組
新設床版の設置工法
1か月前
株式会社NIPPO
法面作業装置
15日前
株式会社NIPPO
路面切削装置及び路面切削方法
1か月前
続きを見る
他の特許を見る