TOP
|
特許
|
意匠
|
商標
特許ウォッチ
Twitter
他の特許を見る
10個以上の画像は省略されています。
公開番号
2025139254
公報種別
公開特許公報(A)
公開日
2025-09-26
出願番号
2024038089
出願日
2024-03-12
発明の名称
加熱調理装置
出願人
株式会社パロマ
代理人
個人
,
個人
主分類
A47J
37/06 20060101AFI20250918BHJP(家具;家庭用品または家庭用設備;コーヒーひき;香辛料ひき;真空掃除機一般)
要約
【課題】触媒プレートを効率的且つ均一的に加熱できる加熱調理装置を提供する。
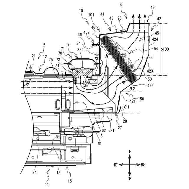
【解決手段】グリル装置の排気ダクト10はグリル庫2の後部と連通し、グリル庫2内から流れる燃焼排気を外部に排出する。アフターバーナ7は排気ダクト10の燃焼排気が流れる上流側に取り付けられる。触媒プレート5は、排気ダクト10のアフターバーナ7よりも下流側に取り付けられる。触媒プレート5はアフターバーナ7の燃焼熱で加熱されて活性化する。アフターバーナ7は、燃焼面75を下方に向けた姿勢で、排気ダクト10に取り付けられる。触媒プレート5は、前面をアフターバーナ7側に向け、自身の上端部を燃焼面75よりも上方で且つ前後方向において燃焼面75側に寄せた位置に配置し、自身の下端部を燃焼面75よりも下方の位置に配置した傾斜姿勢で取り付けられる。
【選択図】図10
特許請求の範囲
【請求項1】
グリルバーナを備えるグリル庫と、
前記グリル庫の後部と連通し、前記グリル庫内から流れる燃焼排気を前記グリル庫外に排出する排気ダクトと、
前記排気ダクトの前記燃焼排気が流れる上流側に取り付けられたアフターバーナと、
前記排気ダクトの前記アフターバーナよりも下流側に取り付けられ、前記アフターバーナの燃焼熱で加熱されて活性化する板状の触媒プレートと
を備えた加熱調理装置において、
前記アフターバーナは、燃焼面を下方に向けた姿勢で、前記排気ダクトに取り付けられ、
前記触媒プレートは、自身の厚み方向一方側の面を前記アフターバーナ側に向け、自身の上端部を前記燃焼面よりも上方で且つ前後方向において前記燃焼面側に寄せた位置に配置し、自身の下端部を前記燃焼面よりも下方の位置に配置した傾斜姿勢で取り付けられたこと
を特徴とする加熱調理装置。
続きを表示(約 410 文字)
【請求項2】
前記排気ダクトは、前記アフターバーナの取付位置の後側において上下幅が非連続的に大きくなる拡幅部を備え、
前記拡幅部内に前記触媒プレートの少なくとも一部が位置すること
を特徴とする請求項1に記載の加熱調理装置。
【請求項3】
前記排気ダクトの後面の底部側であって前記拡幅部の前面を後方に過ぎた位置には、水平面に対して後ろ斜め上方に傾斜する第1傾斜部と、前記第1傾斜部の後端部から前記第1傾斜部よりも小さい角度で水平面に対して後ろ斜め上方に傾斜する第2傾斜部とが設けられたこと
を特徴とする請求項2に記載の加熱調理装置。
【請求項4】
前記排気ダクト内において、前記アフターバーナの前記燃焼面に相対する底部には、後方に向かうにつれて斜め上方に傾斜する傾斜板が設けられたこと
を特徴とする請求項1から3の何れか一に記載の加熱調理装置。
発明の詳細な説明
【技術分野】
【0001】
本発明は、加熱調理装置に関する。
続きを表示(約 1,300 文字)
【背景技術】
【0002】
従来、被調理物から発生した油煙を焼いて消失させるアフターバーナと、上記アフターバーナの燃焼により加熱されて活性化する触媒フィルタとを備えたグリルが知られている(例えば特許文献1参照)。
【先行技術文献】
【特許文献】
【0003】
特開2006-55185号公報
【発明の概要】
【発明が解決しようとする課題】
【0004】
特許文献1に記載の構成では、触媒フィルタを効率的且つ均一的に加熱するのが難しく、油煙の消失効果が得られ難いという問題点があった。
【0005】
本発明の目的は、触媒プレートを効率的且つ均一的に加熱できる加熱調理装置を提供することである。
【課題を解決するための手段】
【0006】
請求項1の加熱調理装置は、グリルバーナを備えるグリル庫と、前記グリル庫の後部と連通し、前記グリル庫内から流れる燃焼排気を前記グリル庫外に排出する排気ダクトと、前記排気ダクトの前記燃焼排気が流れる上流側に取り付けられたアフターバーナと、前記排気ダクトの前記アフターバーナよりも下流側に取り付けられ、前記アフターバーナの燃焼熱で加熱されて活性化する板状の触媒プレートとを備えた加熱調理装置において、前記アフターバーナは、燃焼面を下方に向けた姿勢で、前記排気ダクトに取り付けられ、前記触媒プレートは、自身の厚み方向一方側の面を前記アフターバーナ側に向け、自身の上端部を前記燃焼面よりも上方で且つ前後方向において前記燃焼面側に寄せた位置に配置し、自身の下端部を前記燃焼面よりも下方の位置に配置した傾斜姿勢で取り付けられたことを特徴とする。
【0007】
請求項2の加熱調理装置の前記排気ダクトは、前記アフターバーナの取付位置の後側において上下幅が非連続的に大きくなる拡幅部を備え、前記拡幅部内に前記触媒プレートの少なくとも一部が位置してもよい。
【0008】
請求項3の加熱調理装置の前記排気ダクトの後面の底部側であって前記拡幅部の前面を後方に過ぎた位置には、水平面に対して後ろ斜め上方に傾斜する第1傾斜部と、前記第1傾斜部の後端部から前記第1傾斜部よりも小さい角度で水平面に対して後ろ斜め上方に傾斜する第2傾斜部とが設けられてもよい。
【0009】
請求項4の加熱調理装置の前記排気ダクト内において、前記アフターバーナの前記燃焼面に相対する底部には、後方に向かうにつれて斜め上方に傾斜する傾斜板が設けられてもよい。
【発明の効果】
【0010】
請求項1の加熱調理装置によれば、触媒プレートが傾斜姿勢で取り付けられることにより、触媒プレートの厚み方向の一方の面と燃焼面を近接させつつ、その面が燃焼面側を向くようにできる。これにより加熱調理装置は、アフターバーナの燃焼熱で触媒プレートを効率的に昇温できる。よって、加熱調理装置は触媒プレートの油煙消失効果を向上できる。
(【0011】以降は省略されています)
この特許をJ-PlatPat(特許庁公式サイト)で参照する
関連特許
株式会社パロマ
給湯器
2か月前
株式会社パロマ
湯沸器
9日前
株式会社パロマ
加熱調理装置
12日前
株式会社パロマ
加熱調理装置
12日前
株式会社パロマ
加熱調理装置
12日前
株式会社パロマ
食器洗浄機用ブースター
19日前
株式会社パロマ
食器洗浄機用ブースター
19日前
株式会社パロマ
食器洗浄機用ブースター
28日前
株式会社パロマ
食器洗浄機用ブースター
28日前
株式会社パロマ
食器洗浄機用ブースター
29日前
株式会社パロマ
加熱調理装置及び製造方法
1日前
株式会社パロマ
給湯器の製造方法及び給湯器
5日前
株式会社パロマ
食器洗浄機用ブースター及び食器洗浄システム
29日前
個人
椅子
1か月前
個人
家具
3か月前
個人
自助箸
5か月前
個人
掃除機
7か月前
個人
掃除用具
2か月前
個人
枕
3か月前
個人
耳拭き棒
9か月前
個人
体洗い具
9か月前
個人
ソファー
19日前
個人
枕
7か月前
個人
掃除道具
7か月前
個人
ハンガー
5か月前
個人
屋外用箒
5か月前
個人
物品
1か月前
個人
省煙消臭器
7か月前
個人
開閉トング
4か月前
個人
片手代替具
10か月前
個人
エコ掃除機
10か月前
個人
掃除シート
8か月前
個人
組立式棚板
6か月前
個人
折り畳み椅子
12か月前
個人
靴ベラ
28日前
個人
転倒防止装置
3か月前
続きを見る
他の特許を見る