TOP
|
特許
|
意匠
|
商標
特許ウォッチ
Twitter
他の特許を見る
公開番号
2025131302
公報種別
公開特許公報(A)
公開日
2025-09-09
出願番号
2024028964
出願日
2024-02-28
発明の名称
食器洗浄機用ブースター及び食器洗浄システム
出願人
株式会社パロマ
代理人
個人
,
個人
主分類
A47L
15/42 20060101AFI20250902BHJP(家具;家庭用品または家庭用設備;コーヒーひき;香辛料ひき;真空掃除機一般)
要約
【課題】タンク内の湯水を食器洗浄機の洗浄タンクの伝熱部に供給して熱移送を図るものであっても、熱移送用戻り管に設けた熱移送用ポンプの作動が阻害されないようにする。
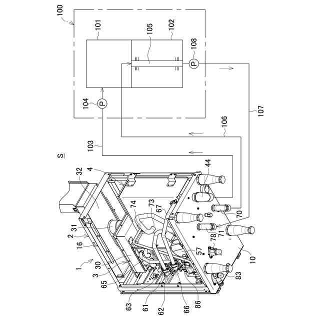
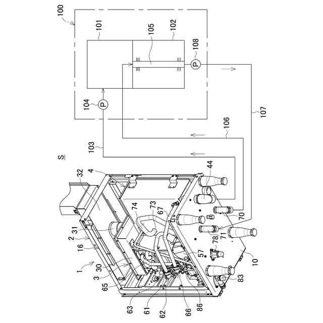
【解決手段】食器洗浄機用ブースター1のタンク4には、外部往き管70と、外部戻り管71とが接続されて、外部往き管70は、タンク4の下部に接続されてタンク4の下方で熱移送用往き管106に接続される一方、外部戻り管71は、注水口40よりも下方位置でタンク4に接続されてタンク4の下方で熱移送用戻り管107に接続される。外部戻り管71の上部には、タンク4への接続位置よりも上方へ上り傾斜する傾斜部74が形成されている。
【選択図】図5
特許請求の範囲
【請求項1】
熱源ユニットと、
注水口を有して当該注水口から供給される水を貯留するタンクと、
循環ポンプを備えて前記タンク内の水を前記熱源ユニットとの間で循環させる内部循環路と、を含み、
前記循環ポンプを作動させて前記タンク内の水を前記内部循環路を介して前記熱源ユニットとの間で循環させながら前記熱源ユニットで加熱し、加熱した湯水を外部の食器洗浄機へ供給可能な食器洗浄機用ブースターであって、
前記タンクには、外部往き管と、外部戻り管とが接続されて、
前記外部往き管は、前記食器洗浄機の洗浄タンクに設けられた伝熱部の入口に接続される熱移送用往き管に接続可能で、前記外部戻り管は、前記伝熱部の出口に接続されて熱移送用ポンプを備えた熱移送用戻り管に接続可能であり、
前記外部往き管は、前記タンクの下部に接続されて前記タンクの下方で前記熱移送用往き管に接続される一方、
前記外部戻り管は、前記注水口よりも下方位置で前記タンクに接続されて前記タンクの下方で前記熱移送用戻り管に接続されると共に、前記外部戻り管の上部には、前記タンクへの接続位置よりも上方へ上り傾斜する傾斜部が形成されていることを特徴とする食器洗浄機用ブースター。
続きを表示(約 280 文字)
【請求項2】
請求項1に記載の食器洗浄機用ブースターと、
洗浄室と、洗浄用の湯水を貯留する洗浄タンクとを有し、前記食器洗浄機用ブースターのタンク内の湯水を前記洗浄室に供給可能であると共に、前記洗浄タンクには、湯水が通過可能な伝熱部が設けられる食器洗浄機と、を含み、
前記食器洗浄機用ブースターの外部往き管と、前記食器洗浄機の前記伝熱部の入口とが熱移送用往き管で接続され、
前記食器洗浄機用ブースターの外部戻り管と、前記食器洗浄機の前記伝熱部の出口とが、熱移送用ポンプを備えた熱移送用戻り管で接続されてなる食器洗浄システム。
発明の詳細な説明
【技術分野】
【0001】
本開示は、業務用の食器洗浄機に高温の湯を供給するために設置される食器洗浄機用ブースター及び、当該食器洗浄機用ブースターと食器洗浄機とを含む食器洗浄システムに関する。
続きを表示(約 3,300 文字)
【背景技術】
【0002】
業務用の食器洗浄システムは、例えば特許文献1に開示されるように、洗浄室に搬入された食器を洗浄する食器洗浄機と、食器洗浄機に並設されて食器洗浄機に濯ぎ用の湯を供給するための食器洗浄機用ブースターとを備えたものが知られている。食器洗浄機用ブースターは、例えば特許文献2に開示されるように、バーナ及び熱交換器を備えて供給された水をバーナの燃焼排気によって加熱する瞬間加熱式の熱源ユニットと、熱源ユニットで加熱された湯を貯湯するタンクとを備えて、タンク内の湯を外部の給湯用配管を介して食器洗浄機へ供給可能となっている。この食器洗浄機用ブースターでは、タンク内の水位が下がると水道水が補給され、タンク内の湯水の温度が所定温度から低下すると、熱源ユニットが作動してタンク内の湯水を循環させながら加熱して、湯水の量及び温度が維持されるようになっている。
【先行技術文献】
【特許文献】
【0003】
特開2006-239024号公報
特開2019-141253号公報
【発明の概要】
【発明が解決しようとする課題】
【0004】
食器洗浄機用ブースターは、食器洗浄機での濯ぎ工程以外では、タンク内の湯水が殆ど使用されないため、ブースター側のタンク内の湯水の熱を食器洗浄機の洗浄タンク内の湯水に移送させて加熱に利用することが考えられる。具体的には、洗浄タンク内に、当該タンクを貫通する伝熱部を設けて、ブースター側のタンクに接続した外部往き管を、外部に設けた熱移送用往き管を介して伝熱部の入口に接続し、ブースター側のタンクに接続した外部戻り管を、同じく外部に設けた熱移送用ポンプ付きの熱移送用戻り管を介して伝熱部の出口に接続する。よって、熱移送用ポンプを作動させると、ブースター側のタンク内の湯水を食器洗浄機の伝熱部に循環させて洗浄タンク内の湯水に熱移送することができる。
しかし、タンクへの外部戻り管の接続口は、逆流を防止するために注水口より下方でタンクの上部に設ける必要がある一方、外部往き管は、ブースター側の筐体の下側で熱移送用往き管に接続される。すると、筐体内に配設される外部戻り管は、筐体の下側から上方へ延びる縦向き姿勢となる。この場合、食器洗浄システムの初期導入時に、ブースター側のタンクに注水された水が外部戻り管から筐体下側の熱移送用戻り管内に侵入して熱移送用ポンプの下流側に貯留し、熱移送用ポンプの作動を阻害するおそれがある。
【0005】
そこで、本開示は、タンク内の湯水を食器洗浄機の洗浄タンクの伝熱部に供給して熱移送を図るものであっても、熱移送用戻り管に設けた熱移送用ポンプの作動が阻害されることがない食器洗浄機用ブースター及び食器洗浄システムを提供することを目的としたものである。
【課題を解決するための手段】
【0006】
上記目的を達成するために、本開示の第1の構成は、
熱源ユニットと、
注水口を有して当該注水口から供給される水を貯留するタンクと、
循環ポンプを備えて前記タンク内の水を前記熱源ユニットとの間で循環させる内部循環路と、を含み、
前記循環ポンプを作動させて前記タンク内の水を前記内部循環路を介して前記熱源ユニットとの間で循環させながら前記熱源ユニットで加熱し、加熱した湯水を外部の食器洗浄機へ供給可能な食器洗浄機用ブースターであって、
前記タンクには、外部往き管と、外部戻り管とが接続されて、
前記外部往き管は、前記食器洗浄機の洗浄タンクに設けられた伝熱部の入口に接続される熱移送用往き管に接続可能で、前記外部戻り管は、前記伝熱部の出口に接続されて熱移送用ポンプを備えた熱移送用戻り管に接続可能であり、
前記外部往き管は、前記タンクの下部に接続されて前記タンクの下方で前記熱移送用往き管に接続される一方、
前記外部戻り管は、前記注水口よりも下方位置で前記タンクに接続されて前記タンクの下方で前記熱移送用戻り管に接続されると共に、前記外部戻り管の上部には、前記タンクへの接続位置よりも上方へ上り傾斜する傾斜部が形成されていることを特徴とする。
上記目的を達成するために、本開示の第2の構成は、食器洗浄システムであって、
第1の構成の食器洗浄機用ブースターと、
洗浄室と、洗浄用の湯水を貯留する洗浄タンクとを有し、前記食器洗浄機用ブースターのタンク内の湯水を前記洗浄室に供給可能であると共に、前記洗浄タンクには、湯水が通過可能な伝熱部が設けられる食器洗浄機と、を含み、
前記食器洗浄機用ブースターの外部往き管と、前記食器洗浄機の前記伝熱部の入口とが熱移送用往き管で接続され、
前記食器洗浄機用ブースターの外部戻り管と、前記食器洗浄機の前記伝熱部の出口とが、熱移送用ポンプを備えた熱移送用戻り管で接続されてなることを特徴とする。
【発明の効果】
【0007】
本開示によれば、外部戻り管の上部には、タンクへの接続位置よりも上方へ上り傾斜する傾斜部が形成されているので、タンク内の湯水を食器洗浄機の洗浄タンクの伝熱部に供給して熱移送を図るものであっても、熱移送用戻り管に設けた熱移送用ポンプの作動が阻害されることがなくなる。
【図面の簡単な説明】
【0008】
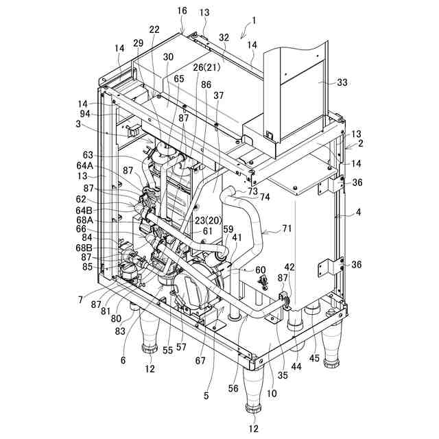
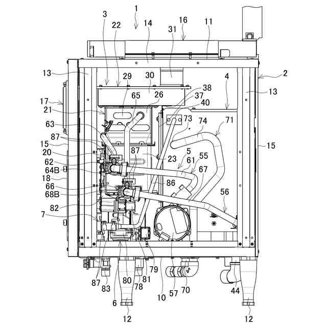
食器洗浄機用ブースターの斜視図である。
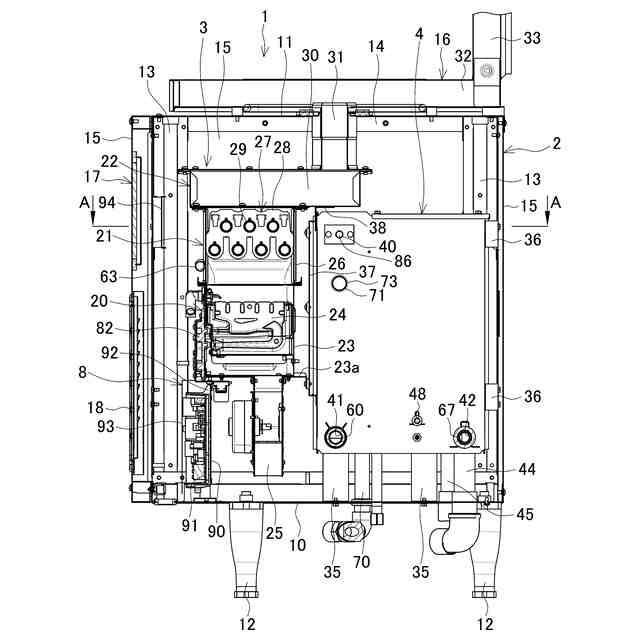
食器洗浄機用ブースターの中央縦断面図である。
図2のA-A線断面図である。
天板と前後左右の外パネルと右後ろの縦フレームとを省略した状態を右後ろ上方から示す斜視図である。
食器洗浄システムの説明図で、食器洗浄機用ブースターは、天板と前後左右の外パネルと右後ろの縦フレームとを省略した状態を右後ろ下方から示している。
右側の外パネルを取り外した食器洗浄機用ブースターの右側面図である。
【発明を実施するための形態】
【0009】
以下、本開示の実施の形態を図面に基づいて説明する。
図1は、第1の構成に係る食器洗浄機用ブースター(以下単に「ブースター」と略称する。)1の一例を示す斜視図、図2は中央縦断面図、図3は図2のA-A線断面図である。図4は、天板と前後左右の外パネルと右後ろの縦フレームとを省略した状態を右後ろ上方から示す斜視図である。なお、本形態のブースター1では、後述する操作部17及び給気部18が設けられる外パネル15を正面(前面)として説明する。
【0010】
ブースター1は、筐体2と、熱源ユニット3と、タンク4と、内部循環路5と、ガス供給部6と、注水部7と、コントローラ8とを備えている。
筐体2は、底板10と、天板11と、4本の脚12,12・・と、4本の縦フレーム13,13・・と、4本の横フレーム14,14・・と、4枚の外パネル15,15・・とを含んでなる。底板10は、平面視矩形状で、四辺がそれぞれ上向きに折り返されている。各脚12は、底板10の下面四隅で下向きに取り付けられて底板10を水平に支持している。各縦フレーム13は、底板10の折り返し部に固定されて底板10の四隅に立設されている。各横フレーム14は、前後左右に隣接する縦フレーム13,13の上端間に架設されている。天板11は、横フレーム14,14・・に取り付けられて筐体2の上面を閉塞している。天板11の上面には、熱源ユニット3の後述する排気部22に接続される排気ダクト16が設けられている。
各外パネル15は、底板10及び天板11と各縦フレーム13及び各横フレーム14とで囲まれる筐体2の前後面及び左右の側面に取り付けられて各面を閉塞している。正面の外パネル15には、上側に操作部17が、下側に給気部18がそれぞれ設けられている。
(【0011】以降は省略されています)
この特許をJ-PlatPat(特許庁公式サイト)で参照する
関連特許
株式会社パロマ
給湯器
1か月前
株式会社パロマ
湯沸器
2日前
株式会社パロマ
給湯暖房機
2か月前
株式会社パロマ
給湯暖房機
2か月前
株式会社パロマ
加熱調理装置
5日前
株式会社パロマ
加熱調理装置
5日前
株式会社パロマ
加熱調理装置
5日前
株式会社パロマ
食器洗浄機用ブースター
12日前
株式会社パロマ
食器洗浄機用ブースター
12日前
株式会社パロマ
食器洗浄機用ブースター
21日前
株式会社パロマ
食器洗浄機用ブースター
21日前
株式会社パロマ
食器洗浄機用ブースター
22日前
株式会社パロマ
食器洗浄機用ブースター及び食器洗浄システム
22日前
個人
家具
2か月前
個人
椅子
1か月前
個人
自助箸
5か月前
個人
掃除機
7か月前
個人
掃除用具
2か月前
個人
掃除道具
7か月前
個人
耳拭き棒
9か月前
個人
枕
7か月前
個人
枕
3か月前
個人
ハンガー
5か月前
個人
体洗い具
8か月前
個人
ソファー
12日前
個人
屋外用箒
5か月前
個人
掃除シート
7か月前
個人
物品
1か月前
個人
省煙消臭器
7か月前
個人
開閉トング
4か月前
個人
組立式棚板
5か月前
個人
片手代替具
9か月前
個人
収納型額縁
11か月前
個人
エコ掃除機
10か月前
個人
靴ベラ
21日前
個人
転倒防止装置
3か月前
続きを見る
他の特許を見る