TOP
|
特許
|
意匠
|
商標
特許ウォッチ
Twitter
他の特許を見る
10個以上の画像は省略されています。
公開番号
2025132704
公報種別
公開特許公報(A)
公開日
2025-09-10
出願番号
2024030447
出願日
2024-02-29
発明の名称
食器洗浄機用ブースター
出願人
株式会社パロマ
代理人
個人
,
個人
主分類
A47L
15/42 20060101AFI20250903BHJP(家具;家庭用品または家庭用設備;コーヒーひき;香辛料ひき;真空掃除機一般)
要約
【課題】筐体の縦フレームの仮組みからネジ止めまでの組み立て作業を効率よく行う。
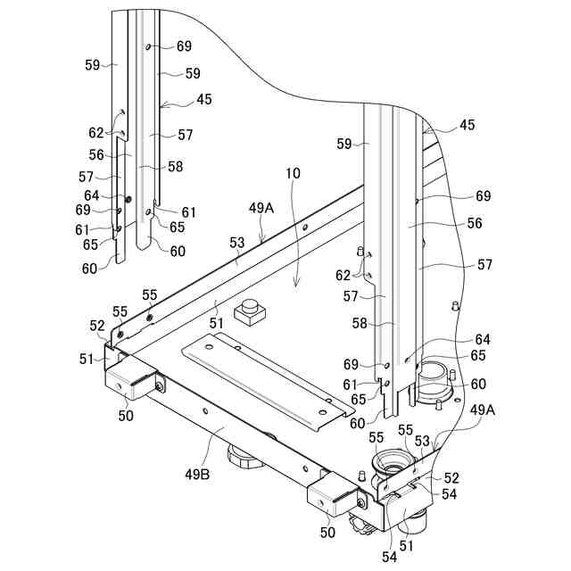
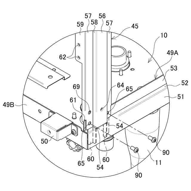
【解決手段】各縦フレーム45は、段部52上で内立上げ部53に沿って延びる前後幅を有して上下方向に立設される帯状板で、前後両端で内立上げ部53の外面にネジ止めされる内側平面部57,57と、内側平面部57,57の間で左右外側へ突出し、側パネル15がネジ止めされる外側平面部56と、各内側平面部57,57と外側平面部56とを連結する一対の連結面部58,58とを有し、各内側平面部57と各連結面部58との下端には、外側平面部56よりも下方に突出する差込部60がそれぞれ形成されている。そして、各段部52には、各縦フレーム45の取付位置で各差込部60が差し込まれるL字スリット54がそれぞれ形成されている。
【選択図】図5
特許請求の範囲
【請求項1】
平面視が矩形状又は正方形状の底板と、前記底板の四隅に立設される4本の縦フレームと、少なくとも左右の側面で前記縦フレームに取り付けられる側パネルと、を含む筐体内に、
熱源ユニットと、水を貯留するタンクと、循環ポンプを備えて前記タンク内の水を前記熱源ユニットとの間で循環させる内部循環路と、が収容され、
前記循環ポンプを作動させて前記タンク内の水を前記内部循環路を介して前記熱源ユニットとの間で循環させながら前記熱源ユニットで加熱し、加熱した湯水を外部の食器洗浄機へ供給可能な食器洗浄機用ブースターであって、
前記底板の左右の側縁に、上向きに延びる立上げ部がそれぞれ形成されると共に、各前記立上げ部は、前記底板の側縁から上向きに延びる外立上げ部と、前記外立上げ部の上端から内側に折曲される段部と、前記段部の内側端部から上向きに延びる内立上げ部とからなる段付き形状に形成される一方、
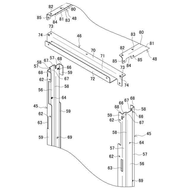
各前記縦フレームは、前記段部上で前記内立上げ部に沿って延びる前後幅を有して上下方向に立設される帯状板で、前後両端で前記内立上げ部の外面にネジ止めされる内側平面部と、前記内側平面部の間で左右外側へ突出し、前記側パネルがネジ止めされる外側平面部と、各前記内側平面部と前記外側平面部とを連結する一対の連結面部とを有し、各前記内側平面部と各前記連結面部との下端には、前記外側平面部よりも下方に突出する差込部がそれぞれ形成されて、
各前記段部には、各前記縦フレームの取付位置で各前記差込部が差し込まれる底板側スリットがそれぞれ形成されていることを特徴とする食器洗浄機用ブースター。
続きを表示(約 260 文字)
【請求項2】
各前記縦フレームの前後両端には、各前記内側平面部の端縁から左右内側へ折曲される折り返し部がそれぞれ形成されると共に、前記折り返し部と前記内側平面部との間の下端には、前記取付位置で前記内立上げ部の上端が差込係止するフレーム側スリットが上向きに形成されていることを特徴とする請求項1に記載の食器洗浄機用ブースター。
【請求項3】
各前記内側平面部には、結線用クランプを固定するためのクランプ用固定孔が形成されていることを特徴とする請求項1又は2に記載の食器洗浄機用ブースター。
発明の詳細な説明
【技術分野】
【0001】
本開示は、業務用の食器洗浄機に高温の湯を供給するために設置される食器洗浄機用ブースターに関する。
続きを表示(約 3,600 文字)
【背景技術】
【0002】
業務用の食器洗浄システムには、洗浄室に搬入された食器を洗浄する食器洗浄機と、食器洗浄機に並設されて食器洗浄機に濯ぎ用の湯を供給するための食器洗浄機用ブースターとを備えたものが知られている。食器洗浄機用ブースターは、例えば特許文献1に開示されるように、筐体内に、バーナ及び熱交換器を備えて供給された水をバーナの燃焼排気によって加熱する瞬間加熱式の熱源ユニットと、熱源ユニットで加熱された湯を貯湯するタンクとを備えている。筐体は、熱源ユニット及びタンク等が固定される平面視矩形状の底板の前後左右の四面を外パネルで囲む構造となっている。
【先行技術文献】
【特許文献】
【0003】
特開2001-299662号公報
【発明の概要】
【発明が解決しようとする課題】
【0004】
前後左右の外パネルは、底板の四隅に4本の縦フレームを立設し、各面を形成する一対の縦フレームにネジ止めすることで固定される場合がある。この場合、まず縦フレームを底板上に仮組みしてからネジ止めを行うことになるが、ネジ止めの際に仮組みした縦フレームが位置ずれしてやり直しが生じることがあり、組み立て作業に手間が掛かってしまう。
【0005】
そこで、本開示は、筐体の縦フレームの仮組みからネジ止めまでの組み立て作業を効率よく行うことができる食器洗浄機用ブースターを提供することを目的としたものである。
【課題を解決するための手段】
【0006】
上記目的を達成するために、本開示は、平面視が矩形状又は正方形状の底板と、前記底板の四隅に立設される4本の縦フレームと、少なくとも左右の側面で前記縦フレームに取り付けられる側パネルと、を含む筐体内に、
熱源ユニットと、水を貯留するタンクと、循環ポンプを備えて前記タンク内の水を前記熱源ユニットとの間で循環させる内部循環路と、が収容され、
前記循環ポンプを作動させて前記タンク内の水を前記内部循環路を介して前記熱源ユニットとの間で循環させながら前記熱源ユニットで加熱し、加熱した湯水を外部の食器洗浄機へ供給可能な食器洗浄機用ブースターであって、
前記底板の左右の側縁に、上向きに延びる立上げ部がそれぞれ形成されると共に、各前記立上げ部は、前記底板の側縁から上向きに延びる外立上げ部と、前記外立上げ部の上端から内側に折曲される段部と、前記段部の内側端部から上向きに延びる内立上げ部とからなる段付き形状に形成される一方、
各前記縦フレームは、前記段部上で前記内立上げ部に沿って延びる前後幅を有して上下方向に立設される帯状板で、前後両端で前記内立上げ部の外面にネジ止めされる内側平面部と、前記内側平面部の間で左右外側へ突出し、前記側パネルがネジ止めされる外側平面部と、各前記内側平面部と前記外側平面部とを連結する一対の連結面部とを有し、各前記内側平面部と各前記連結面部との下端には、前記外側平面部よりも下方に突出する差込部がそれぞれ形成されて、
各前記段部には、各前記縦フレームの取付位置で各前記差込部が差し込まれる底板側スリットがそれぞれ形成されていることを特徴とする。
本開示の別の態様は、上記構成において、各前記縦フレームの前後両端には、各前記内側平面部の端縁から左右内側へ折曲される折り返し部がそれぞれ形成されると共に、前記折り返し部と前記内側平面部との間の下端には、前記取付位置で前記内立上げ部の上端が差込係止するフレーム側スリットが上向きに形成されていることを特徴とする。
本開示の別の態様は、上記構成において、各前記内側平面部には、結線用クランプを固定するためのクランプ用固定孔が形成されていることを特徴とする。
【発明の効果】
【0007】
本開示によれば、縦フレームの差込部を立上げ部に設けたフレーム側スリットに差し込むことで、仮組み状態でも縦フレームの左右及び前後への移動を規制することができる。よって、筐体の縦フレームの仮組みからネジ止めまでの組み立て作業を効率よく行うことができる。特に、側パネルは、外側平面部にネジ止めされるので、立上げ部に内側平面部をネジ止めしたネジの頭部を内側平面部と側パネルとの隙間に逃がすことができ、側パネルの取り付けに支障を及ぼすことがない。
また、縦フレームの共通化を図ることができるため、製造コストの抑制にも繋がる。
本開示の別の態様によれば、上記効果に加えて、各縦フレームの前後両端に設けた折り返し部と内側平面部との間の下端には、取付位置で内立上げ部の上端が差込係止するフレーム側スリットが上向きに形成されているので、仮組み状態における左右方向での縦フレームの傾きや位置ずれを効果的に防止可能となり、組み立て作業がより容易となる。
本開示の別の態様によれば、上記効果に加えて、各内側平面部には、結線用クランプを固定するためのクランプ用固定孔が形成されているので、内側平面部と側パネルとの隙間を利用して結線用クランプも側パネルの取り付けに支障なく取り付けることができる。
【図面の簡単な説明】
【0008】
食器洗浄機用ブースターの斜視図である。
食器洗浄機用ブースターの中央縦断面図である。
筐体の天板及び各パネルを省略した状態を後方から示す斜視図である。
フレーム構造を示す斜視図である。
フレーム構造の前部下側部分の分解斜視図である。
フレーム構造の前部上側部分の分解斜視図である。
フレーム構造の前部下側部分の斜視図である。
フレーム構造の前部上側部分の斜視図である。
図2のA-A線断面において前後部分のみ示した説明図である。
図9のB-B線断面において上部分のみ示した説明図である。
【発明を実施するための形態】
【0009】
以下、本開示の実施の形態を図面に基づいて説明する。
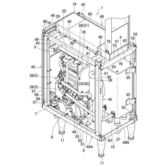
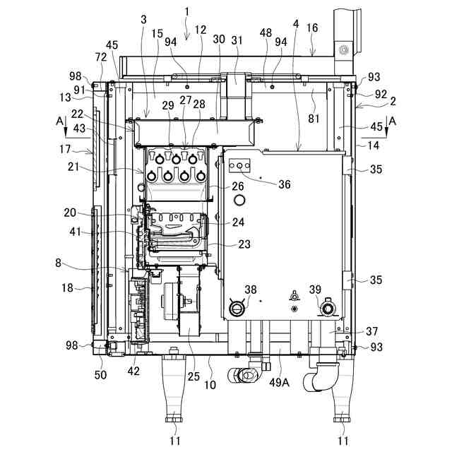
図1は、食器洗浄機用ブースター(以下単に「ブースター」と略称する。)1の一例を示す斜視図、図2は中央縦断面図、図3は、天板及び各パネルを省略した状態を後方から示す斜視図である。なお、本形態のブースター1では、操作部17及び給気部18が設けられる前パネル13を正面(前面)として説明する。
ブースター1は、筐体2と、熱源ユニット3と、タンク4と、内部循環路5と、ガス供給部6と、注水部7と、コントローラ8とを備えている。
筐体2は、平面視矩形状の底板10の上方にフレーム構造を形成して前後方向に延びる直方体となっている。底板10は、下面に設けた脚11,11・・によって水平に支持される。筐体2の上面には天板12が設けられると共に、前後左右には、前パネル13、後パネル14、左右の側パネル15,15が設けられて各面が閉塞されている。天板12上には、排気ダクト16が設けられている。前パネル13には、上側に操作部17が、下側に給気部18がそれぞれ設けられている。筐体2内に、熱源ユニット3、タンク4、内部循環路5、ガス供給部6、注水部7、コントローラ8が収容されている。筐体2の詳細については後述する。
【0010】
熱源ユニット3は、下方から順に、燃焼部20と、熱交換部21と、排気部22とを備えて、筐体2内の前部左寄りに配置されている。
燃焼部20は、下ケーシング23内に複数のバーナ24,24・・を左右方向に収容して内部に燃焼室を形成している。下ケーシング23の下板には、バーナ24の燃焼用空気を供給するファン25が設けられている。
熱交換部21は、下端が下ケーシング23に接続される筒状の上ケーシング26内に熱交換器27を収容している。熱交換器27は、左右方向に所定間隔をおいて並設される複数のフィン28,28・・と、フィン28,28・・を直交状に貫通して蛇行する伝熱管29とを備えている。
排気部22は、排気ボックス30と接続管31とを備えている。排気ボックス30は、熱交換部21の上ケーシング26上に固定されて前後方向に延びる平面視矩形状で、内部が上ケーシング26と連通している。接続管31は、排気ボックス30の上面に立設されて、天板12を貫通して上方へ突出している。接続管31は、上端を排気ダクト16内に突出させて、排気ボックス30を排気ダクト16に連通させている。
(【0011】以降は省略されています)
この特許をJ-PlatPat(特許庁公式サイト)で参照する
関連特許
株式会社パロマ
給湯器
1か月前
株式会社パロマ
湯沸器
3日前
株式会社パロマ
給湯暖房機
2か月前
株式会社パロマ
給湯暖房機
2か月前
株式会社パロマ
加熱調理装置
6日前
株式会社パロマ
加熱調理装置
6日前
株式会社パロマ
加熱調理装置
6日前
株式会社パロマ
食器洗浄機用ブースター
13日前
株式会社パロマ
食器洗浄機用ブースター
13日前
株式会社パロマ
食器洗浄機用ブースター
22日前
株式会社パロマ
食器洗浄機用ブースター
22日前
株式会社パロマ
食器洗浄機用ブースター
23日前
株式会社パロマ
食器洗浄機用ブースター及び食器洗浄システム
23日前
個人
家具
2か月前
個人
椅子
1か月前
個人
自助箸
5か月前
個人
掃除機
7か月前
個人
掃除用具
2か月前
個人
掃除道具
7か月前
個人
耳拭き棒
9か月前
個人
枕
7か月前
個人
枕
3か月前
個人
ハンガー
5か月前
個人
体洗い具
8か月前
個人
ソファー
13日前
個人
屋外用箒
5か月前
個人
掃除シート
7か月前
個人
物品
1か月前
個人
省煙消臭器
7か月前
個人
開閉トング
4か月前
個人
組立式棚板
5か月前
個人
片手代替具
9か月前
個人
収納型額縁
12か月前
個人
エコ掃除機
10か月前
個人
靴ベラ
22日前
個人
転倒防止装置
3か月前
続きを見る
他の特許を見る