TOP
|
特許
|
意匠
|
商標
特許ウォッチ
Twitter
他の特許を見る
10個以上の画像は省略されています。
公開番号
2025136571
公報種別
公開特許公報(A)
公開日
2025-09-19
出願番号
2024035237
出願日
2024-03-07
発明の名称
食器洗浄機用ブースター
出願人
株式会社パロマ
代理人
個人
,
個人
主分類
A47L
15/42 20060101AFI20250911BHJP(家具;家庭用品または家庭用設備;コーヒーひき;香辛料ひき;真空掃除機一般)
要約
【課題】連続使用方式の食器洗浄機に使用された場合でも十分な熱量の湯を供給する。
【解決手段】食器洗浄機用ブースター1において、内部循環路5は、循環ポンプが設けられてタンク4から熱源ユニットへ湯水が流れる内部往き配管と、熱源ユニットからタンク4へ湯水が流れる内部戻り配管48とを含む。タンク4は、底壁部4aの端縁から立ち上がる右壁部4fと、右壁部4fと所定角度で繋がる後壁部4dとを含み、底壁部4aにおける右壁部4fと後壁部4dとで挟まれる隅部には、タンク4内の湯水を食洗機へ供給するための排出管50が接続されている。そして、内部戻り配管48は、隅部における右壁部4fの下端部に接続されている。
【選択図】図6
特許請求の範囲
【請求項1】
熱源ユニットと、
湯水を貯留可能なタンクと、
循環ポンプを備えて前記タンク内の水を前記熱源ユニットとの間で循環させる内部循環路と、を含み、
前記循環ポンプを作動させて前記タンク内の水を前記内部循環路を介して前記熱源ユニットとの間で循環させながら前記熱源ユニットで加熱し、加熱した湯水を外部の食器洗浄機へ供給可能な食器洗浄機用ブースターであって、
前記内部循環路は、前記循環ポンプが設けられて前記タンクから前記熱源ユニットへ湯水が流れる往き配管と、前記熱源ユニットから前記タンクへ湯水が流れる戻り配管とを含み、
前記タンクは、底壁の端縁から立ち上がる第1の縦壁と、前記第1の縦壁と所定角度で繋がる第2の縦壁とを含み、前記底壁における前記第1の縦壁と前記第2の縦壁とで挟まれる隅部には、前記タンク内の湯水を前記食器洗浄機へ供給するための排出管が接続されて、
前記戻り配管は、前記隅部における前記第1の縦壁と前記第2の縦壁との何れか一方の縦壁の下端部に接続されていることを特徴とする食器洗浄機用ブースター。
続きを表示(約 180 文字)
【請求項2】
前記排出管と前記戻り配管とは、前記タンク内で互いの軸線が交差する向きでそれぞれ接続されていることを特徴とする請求項1に記載の食器洗浄機用ブースター。
【請求項3】
前記戻り配管は、前記第1の縦壁又は前記第2の縦壁の内面よりも前記タンク内に突出する突出管部を有していることを特徴とする請求項1又は2に記載の食器洗浄機用ブースター。
発明の詳細な説明
【技術分野】
【0001】
本開示は、業務用の食器洗浄機に高温の湯を供給するために設置される食器洗浄機用ブースターに関する。
続きを表示(約 3,100 文字)
【背景技術】
【0002】
業務用の食器洗浄システムは、洗浄室に搬入された食器を洗浄する食器洗浄機と、食器洗浄機に並設されて食器洗浄機に濯ぎ用の湯を供給するための食器洗浄機用ブースターとを備えたものが知られている。食器洗浄機用ブースターは、例えば特許文献1に開示されるように、バーナ及び熱交換器を備えて供給された水をバーナの燃焼排気によって加熱する瞬間加熱式の熱源ユニットと、湯水を貯留するタンクと、熱源ユニットとタンクとの間に接続される往き管と戻り管とを含む内部循環路とを備えている。タンク内の湯水は、外部の給湯用配管を介して食器洗浄機へ供給可能となっている。
この食器洗浄機用ブースターでは、タンク内に設けたフロートスイッチによって水位の低下が検出されると、上部に設けた注水口から水道水が補給される。一方、タンク内に設けたサーミスタによって湯水温度の所定温度からの低下が検出されると、熱源ユニットが作動すると共に、往き管に設けたポンプが作動して、タンク内の湯水を内部循環路を介して熱源ユニットとの間で循環させながら加熱し、温度が維持されるようになっている。
【先行技術文献】
【特許文献】
【0003】
特開2019-141253号公報
【発明の概要】
【発明が解決しようとする課題】
【0004】
食器洗浄機では、濯ぎ工程で食器洗浄機用ブースターから供給される湯水を使用した直後でも、続けて食器を洗浄する際に食器洗浄機用ブースターから湯水の供給を求める連続使用方式のものがある。しかし、食器洗浄機用ブースターは、専ら濯ぎ工程での湯の使用を想定しているため、このような連続使用方式の食器洗浄機に対応させると、タンク内の湯水の温度が十分に加熱されていない状態で食器洗浄機へ供給されることになり、十分な熱量の湯の供給が難しくなっている。
【0005】
そこで、本開示は、連続使用方式の食器洗浄機に使用された場合でも十分な熱量の湯を供給することができる食器洗浄機用ブースターを提供することを目的としたものである。
【課題を解決するための手段】
【0006】
上記目的を達成するために、本開示は、熱源ユニットと、
湯水を貯留可能なタンクと、
循環ポンプを備えて前記タンク内の水を前記熱源ユニットとの間で循環させる内部循環路と、を含み、
前記循環ポンプを作動させて前記タンク内の水を前記内部循環路を介して前記熱源ユニットとの間で循環させながら前記熱源ユニットで加熱し、加熱した湯水を外部の食器洗浄機へ供給可能な食器洗浄機用ブースターであって、
前記内部循環路は、前記循環ポンプが設けられて前記タンクから前記熱源ユニットへ湯水が流れる往き配管と、前記熱源ユニットから前記タンクへ湯水が流れる戻り配管とを含み、
前記タンクは、底壁の端縁から立ち上がる第1の縦壁と、前記第1の縦壁と所定角度で繋がる第2の縦壁とを含み、前記底壁における前記第1の縦壁と前記第2の縦壁とで挟まれる隅部には、前記タンク内の湯水を前記食器洗浄機へ供給するための排出管が接続されて、
前記戻り配管は、前記隅部における前記第1の縦壁と前記第2の縦壁との何れか一方の縦壁の下端部に接続されていることを特徴とする。
本開示の別の態様は、上記構成において、前記排出管と前記戻り配管とは、前記タンク内で互いの軸線が交差する向きでそれぞれ接続されていることを特徴とする。
本開示の別の態様は、上記構成において、前記戻り配管は、前記第1の縦壁又は前記第2の縦壁の内面よりも前記タンク内に突出する突出管部を有していることを特徴とする。
【発明の効果】
【0007】
本開示によれば、第1の縦壁と第2の縦壁とによって形成されるタンクの隅部に排出管と戻り配管とが接近した状態で配置されるので、戻り配管からタンク内に流れ込む湯水の拡散が第1の縦壁と第2の縦壁とによって防止され、戻り配管から流れ込む湯水が直接的に排出管に導かれる。よって、連続使用方式の食洗機に使用された場合でも十分な熱量の湯を供給することができる。
本開示の別の態様によれば、上記効果に加えて、排出管と戻り配管とは、タンク内で互いの軸線が交差する向きでそれぞれ接続されているので、戻り配管からタンク内に流れ込む湯水がそのまま排出管に流れやすくなる。
本開示の別の態様によれば、上記効果に加えて、戻り配管は、縦壁の内面よりもタンク内に突出する突出管部を有しているので、戻り配管の突出管部の出口と排出管の入口との距離がさらに近くなり、戻り配管からタンク内に流れ込む湯水の拡散がより効果的に防止される。
【図面の簡単な説明】
【0008】
食器洗浄機用ブースターの斜視図である。
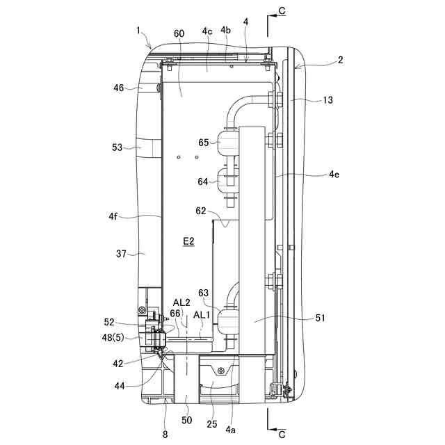
食器洗浄機用ブースターの中央縦断面図である。
天板と前後左右の外パネルとを省略した状態を右後ろ上方から示す斜視図である。
図2のA-A線断面図である。
タンクの後部を後壁部及び左壁部の一部を破断して示す斜視図である。
図2のB-B線拡大断面図である。
タンクの全体を天壁部及び前壁部、左壁部の各一部を破断して示す斜視図である。
図6のC-C線断面図である。
図8のD-D線断面図である。
【発明を実施するための形態】
【0009】
以下、本開示の実施の形態を図面に基づいて説明する。
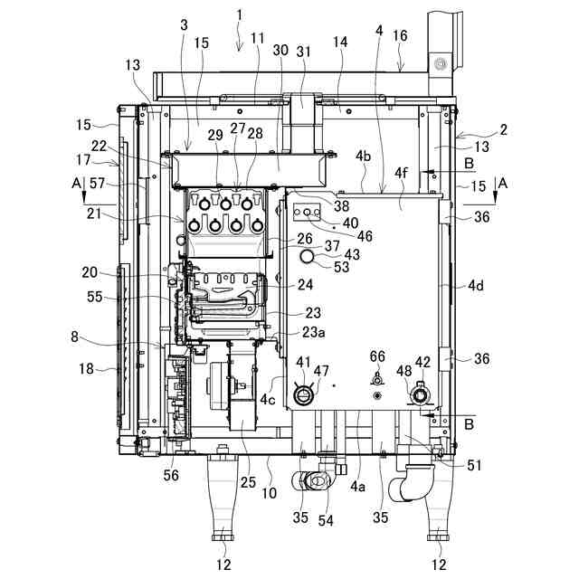
図1は、本開示に係る食器洗浄機用ブースター(以下単に「ブースター」と略称する。)1の一例を示す斜視図、図2は中央縦断面図、図3は、天板と前後左右の外パネルとを省略した状態を右後ろ上方から示す斜視図である。図4は図2のA-A線拡大断面図である。なお、本形態のブースター1では、後述する操作部17及び給気部18が設けられる外パネル15を正面(前面)として説明する。
【0010】
ブースター1は、筐体2と、熱源ユニット3と、タンク4と、内部循環路5と、ガス供給部6と、注水部7と、コントローラ8とを備えている。
筐体2は、底板10と、天板11と、4本の脚12,12・・と、4本の縦フレーム13,13・・と、4本の横フレーム14,14・・と、4枚の外パネル15,15・・とを含んでなる。底板10は、平面視矩形状で、四辺がそれぞれ上向きに折り返されている。各脚12は、底板10の下面四隅で下向きに取り付けられて底板10を水平に支持している。各縦フレーム13は、底板10の折り返し部に固定されて底板10の四隅に立設されている。各横フレーム14は、前後左右に隣接する縦フレーム13,13の上端間に架設されている。天板11は、横フレーム14,14・・に取り付けられて筐体2の上面を閉塞している。天板11の上面には、熱源ユニット3の後述する排気部22に接続される排気ダクト16が設けられている。
各外パネル15は、底板10及び天板11と各縦フレーム13及び各横フレーム14とで囲まれる筐体2の前後面及び左右の側面に取り付けられて各面を閉塞している。正面の外パネル15には、上側に操作部17が、下側に給気部18がそれぞれ設けられている。
(【0011】以降は省略されています)
この特許をJ-PlatPat(特許庁公式サイト)で参照する
関連特許
株式会社パロマ
給湯器
1か月前
株式会社パロマ
湯沸器
2日前
株式会社パロマ
給湯暖房機
2か月前
株式会社パロマ
給湯暖房機
2か月前
株式会社パロマ
加熱調理装置
5日前
株式会社パロマ
加熱調理装置
5日前
株式会社パロマ
加熱調理装置
5日前
株式会社パロマ
食器洗浄機用ブースター
12日前
株式会社パロマ
食器洗浄機用ブースター
12日前
株式会社パロマ
食器洗浄機用ブースター
21日前
株式会社パロマ
食器洗浄機用ブースター
21日前
株式会社パロマ
食器洗浄機用ブースター
22日前
株式会社パロマ
食器洗浄機用ブースター及び食器洗浄システム
22日前
個人
家具
2か月前
個人
椅子
1か月前
個人
自助箸
5か月前
個人
掃除機
7か月前
個人
掃除用具
2か月前
個人
掃除道具
7か月前
個人
耳拭き棒
9か月前
個人
枕
7か月前
個人
枕
3か月前
個人
ハンガー
5か月前
個人
体洗い具
8か月前
個人
ソファー
12日前
個人
屋外用箒
5か月前
個人
掃除シート
7か月前
個人
物品
1か月前
個人
省煙消臭器
7か月前
個人
開閉トング
4か月前
個人
組立式棚板
5か月前
個人
片手代替具
9か月前
個人
収納型額縁
11か月前
個人
エコ掃除機
10か月前
個人
靴ベラ
21日前
個人
転倒防止装置
3か月前
続きを見る
他の特許を見る