TOP
|
特許
|
意匠
|
商標
特許ウォッチ
Twitter
他の特許を見る
10個以上の画像は省略されています。
公開番号
2025139268
公報種別
公開特許公報(A)
公開日
2025-09-26
出願番号
2024038105
出願日
2024-03-12
発明の名称
加熱調理装置
出願人
株式会社パロマ
代理人
個人
,
個人
主分類
A47J
37/06 20060101AFI20250918BHJP(家具;家庭用品または家庭用設備;コーヒーひき;香辛料ひき;真空掃除機一般)
要約
【課題】アフターバーナによる油煙の焼失効果を向上しつつ、グリルバーナの燃焼性の向上と被調理物の焼き加減の均一化を図ることができる加熱調理装置を提供する。
【解決手段】アフターバーナは排気ダクトの上側に燃焼面を下方に向けた姿勢で取り付けられる。制御板61はグリル庫と排気ダクトとの間の連通口に設けられる。制御板61は開放部63、右閉塞部64、左閉塞部65、右半開放部66、左半開放部67を備える。開放部63は制御板61の中央部に設けられ、連通口を開放する。右閉塞部64と左閉塞部65は制御板61の左右両端側に設けられ、連通口を閉塞する。右半開放部66は右閉塞部64と開放部63との間に設けられ、左半開放部67は左閉塞部65と開放部63との間に設けられる。右半開放部66と左半開放部67は、連通口のうち下半部を閉塞し且つ上半部を開放する。
【選択図】図9
特許請求の範囲
【請求項1】
グリル庫と、
前記グリル庫内の左右両側に設けられる一対のバーナと、
前記グリル庫の後部と連通し、前記グリル庫内から流れる燃焼排気を排出する排気ダクトと、
前記排気ダクト内の上側に燃焼面を下方に向けた姿勢で取り付けられたアフターバーナと、
前記グリル庫と前記排気ダクトとの間の連通口に設けられ、前記連通口を介して前記グリル庫から前記排気ダクトへ流れる前記燃焼排気の流れを制御する制御板と
を備え、
前記制御板は、
左右方向両端側に設けられ、前記制御板のうち上端部の高さが最も高く、前記連通口を閉塞する閉塞部と、
左右方向中央部に設けられ、前記制御板のうち上端部の高さが最も低く、前記連通口を開放する開放部と、
前記閉塞部と前記開放部との間に設けられ、上端部の高さが、前記閉塞部の前記上端部の高さと前記開放部の前記上端部の高さとの間に位置し、前記連通口のうち下半部を閉塞し且つ上半部を開放する半開放部と
を備えたことを特徴とする加熱調理装置。
続きを表示(約 120 文字)
【請求項2】
前記排気ダクト内において、前記アフターバーナの前記燃焼面の下方には、前記制御板の下端部から後方に屈曲して形成され、後方に向かうにつれて斜め上方に傾斜する傾斜板が設けられたこと
を特徴とする請求項1に記載の加熱調理装置。
発明の詳細な説明
【技術分野】
【0001】
本発明は、加熱調理装置に関する。
続きを表示(約 2,100 文字)
【背景技術】
【0002】
従来、食材を加熱するグリルバーナを上下に配設したグリル庫の後方から上方の外部へ通じる排気通路内の入口付近にアフターバーナを設置したグリルが知られている(例えば特許文献1参照)。アフターバーナは食材から発生した油煙を焼き切る。このグリルでは、アフターバーナの前方に対向して遮蔽板が設けられ、その遮蔽板には略コ字形に切り欠いた開口形状の開口部が設けられる。開口部はアフターバーナにおける横幅方向の長さ以下に開設される。
【先行技術文献】
【特許文献】
【0003】
特開2012-13326号公報
【発明の概要】
【発明が解決しようとする課題】
【0004】
しかしながら、遮蔽板に設けられた開口部の面積が幅狭であることから、排気抵抗が上がってしまい、グリル庫内に設けられたグリルバーナの燃焼性に影響を及ぼす可能性があった。一方で、開口部の面積を左右に広くした場合、グリル庫の左右に設けられたグリルバーナから生じる燃焼排気は、グリル庫の左右方向中央部からやや左右に離れた位置まで加熱した後、左右両側まで拡がることなく排気通路に流れてしまう。よって、左右方向中央部と左右両側部との間で焼き加減が不均一になる可能性があった。
【0005】
本発明の目的は、アフターバーナによる油煙の焼失効果を向上しつつ、グリルバーナの燃焼性の向上と被調理物の焼き加減の均一化を図ることができる加熱調理装置を提供することを目的とする。
【課題を解決するための手段】
【0006】
請求項1の加熱調理装置は、グリル庫と、前記グリル庫内の左右両側に設けられる一対のバーナと、前記グリル庫の後部と連通し、前記グリル庫内から流れる燃焼排気を排出する排気ダクトと、前記排気ダクト内の上側に燃焼面を下方に向けた姿勢で取り付けられたアフターバーナと、前記グリル庫と前記排気ダクトとの間の連通口に設けられ、前記連通口を介して前記グリル庫から前記排気ダクトへ流れる前記燃焼排気の流れを制御する制御板とを備え、前記制御板は、左右方向両端側に設けられ、前記制御板のうち上端部の高さが最も高く、前記連通口を閉塞する閉塞部と、左右方向中央部に設けられ、前記制御板のうち上端部の高さが最も低く、前記連通口を開放する開放部と、前記閉塞部と前記開放部との間に設けられ、上端部の高さが、前記閉塞部の前記上端部の高さと前記開放部の前記上端部の高さとの間に位置し、前記連通口のうち下半部を閉塞し且つ上半部を開放する半開放部とを備えたことを特徴とする。
【0007】
請求項2の加熱調理装置の前記排気ダクト内において、前記アフターバーナの前記燃焼面の下方には、前記制御板の下端部から後方に屈曲して形成され、後方に向かうにつれて斜め上方に傾斜する傾斜板が設けられてもよい。
【発明の効果】
【0008】
請求項1の加熱調理装置によれば、グリル庫内の加熱で生じた燃焼排気は、連通口のうち下半部においては、制御板の閉塞部と半開放部により一旦左右方向中央部に集まった後、排気ダクト側に流れる。よって、グリル装置はグリル庫の中央部分に熱を良好に伝えることができるので、中央部分と左右両側部との間で被調理物の焼き加減を均一化できる。また、中央部分に集まった燃焼排気は、制御板の開放部を中心として排気ダクト内に流入する。これにより、加熱調理装置はアフターバーナの燃焼面に対して燃焼排気を確実に導くことができる。一方、連通口のうち上半部については、開放部と半開放部により左右に広く開放される。故にグリル装置は連通口付近において排気抵抗が過度に上がるのを防止できるので、グリルバーナの燃焼性を向上できる。
【0009】
請求項2の加熱調理装置によれば、傾斜板をアフターバーナの前記燃焼面の下方に配置することにより、排気ダクトに流れる燃焼排気を燃焼面側に押し上げることができる。これにより加熱調理装置は、アフターバーナによる燃焼排気の油分焼失効果を向上できる。また、排気ダクト内の下側に傾斜板を配置することにより、加熱調理装置は、排気ダクト内のアフターバーナの燃焼面から遠くアフターバーナによる油分焼失効果が得られにくい部分を減らすこともできる。
【図面の簡単な説明】
【0010】
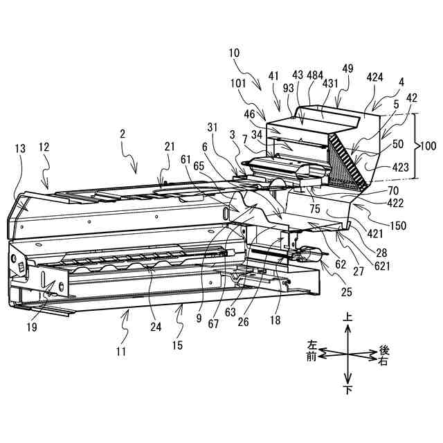
グリル装置1の斜視図である。
グリル装置1の右側面図である。
グリル装置1の断面斜視図である。
グリル装置1の分解斜視図である。
バーナ支持台3とアフターバーナ7の分解斜視図である。
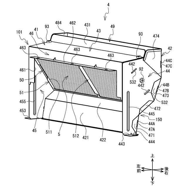
ダクト本体4の斜視図である。
ダクト本体4の分解斜視図である。
図7とは別角度から見たダクト本体4の分解斜視図である。
グリル庫2内における燃焼排気の流れを示す図である。
排気ダクト10内における燃焼排気の流れを示す図である。
【発明を実施するための形態】
(【0011】以降は省略されています)
この特許をJ-PlatPat(特許庁公式サイト)で参照する
関連特許
株式会社パロマ
給湯器
3か月前
株式会社パロマ
湯沸器
7日前
株式会社パロマ
給湯器
3か月前
株式会社パロマ
給湯器
3か月前
株式会社パロマ
給湯器
2か月前
株式会社パロマ
給湯器
2か月前
株式会社パロマ
燃焼装置
2か月前
株式会社パロマ
給湯暖房機
2か月前
株式会社パロマ
給湯暖房機
2か月前
株式会社パロマ
給湯暖房機
2か月前
株式会社パロマ
給湯暖房機
2か月前
株式会社パロマ
給湯暖房機
2か月前
株式会社パロマ
給湯暖房機
2か月前
株式会社パロマ
給湯暖房機
2か月前
株式会社パロマ
給湯暖房機
2か月前
株式会社パロマ
給湯暖房機
2か月前
株式会社パロマ
加熱調理装置
10日前
株式会社パロマ
加熱調理装置
10日前
株式会社パロマ
加熱調理装置
10日前
株式会社パロマ
食器洗浄機用ブースター
27日前
株式会社パロマ
食器洗浄機用ブースター
26日前
株式会社パロマ
食器洗浄機用ブースター
26日前
株式会社パロマ
食器洗浄機用ブースター
17日前
株式会社パロマ
食器洗浄機用ブースター
17日前
株式会社パロマ
給湯器の製造方法及び給湯器
3日前
株式会社パロマ
給湯暖房機の製造方法、及び給湯暖房機
2か月前
株式会社パロマ
食器洗浄機用ブースター及び食器洗浄システム
27日前
個人
家具
2か月前
個人
椅子
1か月前
個人
掃除機
7か月前
個人
自助箸
5か月前
個人
掃除用具
2か月前
個人
掃除道具
7か月前
個人
ソファー
17日前
個人
耳拭き棒
9か月前
個人
枕
7か月前
続きを見る
他の特許を見る