TOP
|
特許
|
意匠
|
商標
特許ウォッチ
Twitter
他の特許を見る
10個以上の画像は省略されています。
公開番号
2025139360
公報種別
公開特許公報(A)
公開日
2025-09-26
出願番号
2024038255
出願日
2024-03-12
発明の名称
衣料
出願人
デサントジャパン株式会社
代理人
個人
,
個人
主分類
A41D
3/04 20060101AFI20250918BHJP(衣類)
要約
【課題】衣料表面の雨等の液体及び/又は空気の流れを制御する凸部を有する衣料を提供する。
【解決手段】衣料1は、生地本体2と、生地本体の表面2aに生地本体と一体となって形成されており、流体の流れを制御するための、凸部3と、凸部を形成するための塗布剤Sとを備える。衣料は、上衣、帽子、又は下衣であって、凸部は、衣料の外表面側及び/又は内表面側に突出し、雨等の液体及び/又は空気の流れを任意の方向にガイドする。
【選択図】図2
特許請求の範囲
【請求項1】
生地本体と、
前記生地本体の表面に前記生地本体と一体となって形成されており、流体の流れを制御するための凸部と
前記凸部を形成するための塗布剤と
を備える衣料。
続きを表示(約 1,200 文字)
【請求項2】
前記塗布剤は、前記凸部の形状に沿って設けられている、
請求項1に記載の衣料。
【請求項3】
前記生地本体の裏面における前記凸部は、前記塗布剤で満たされている、
請求項1に記載の衣料。
【請求項4】
前記塗布剤は、シリコーンである、
請求項1に記載の衣料。
【請求項5】
前記衣料は、上衣であって、
前記上衣は、前記上衣の外表面側にポケットを有しており、
前記凸部は、前記上衣の外表面側に突出しており、
前記凸部は、前記ポケットの開口の上側において、前記ポケット開口を覆うように、配置されており、
前記凸部は、雨等の液体流れを任意の方向にガイドする、
請求項1~4の何れか1つに記載の衣料。
【請求項6】
前記上衣は、
前記凸部の上側において、前記凸部に少なくとも沿って配置され、前記上衣の内表面側に陥没している、凹部を有する、
請求項5に記載の衣料。
【請求項7】
前記衣料は、上衣であって、
前記上衣は、フードを有しており、
前記凸部は、前記フードの外表面側に突出しており、
前記凸部は、前記フードの開口の少なくとも上側の縁に沿って配置されており、
前記凸部は、雨等の液体流れを任意の方向にガイドする、
請求項1~4の何れか1つに記載の衣料。
【請求項8】
前記衣料は、長袖の上衣であって、
前記凸部は、前記長袖の外表面側に突出しており、
前記凸部は、着用者が手を下方に下した時における肘内側に相当する部位から袖先に向かって身幅方向外方に延びて、配置されており、
前記凸部は、雨等の液体流れを任意の方向にガイドする、
請求項1~4の何れか1つに記載の衣料。
【請求項9】
前記衣料は、帽子であって、
前記帽子は、つばを有しており、
前記凸部は、前記つばの外表面側に突出しており、
前記凸部は、身幅中心から身幅方向外方に向かって、前方に延びるように配置されており、
前記凸部は、雨等の液体流れを任意の方向にガイドする、
請求項1~4の何れか1つに記載の衣料。
【請求項10】
前記衣料は、下衣であって、
前記下衣は、前記下衣の外表面側にポケットを有しており、
前記凸部は、前記下衣の外表面側に突出しており、
前記凸部は、前記ポケットの開口の上側において、前記ポケット開口を覆うように、配置されており、
前記凸部は、雨等の液体流れを任意の方向にガイドする、
請求項1~4の何れか1つに記載の衣料。
(【請求項11】以降は省略されています)
発明の詳細な説明
【技術分野】
【0001】
本開示は、衣料に関する。
続きを表示(約 1,200 文字)
【背景技術】
【0002】
特許文献1には、水が着用者の邪魔にならないように水を所望の方向に導くために、基材より親水性のあるテープが設けられた身体装着物品が開示されている。特許文献1に記載の親水性のテープは、基材に接着剤等によって接合されている。
【先行技術文献】
【特許文献】
【0003】
特開2016-60987号公報
【発明の概要】
【発明が解決しようとする課題】
【0004】
引用文献1に記載の親水性のテープを設けた身体装着物は、基材に接着剤等によって接合されているので、身体装着物の使用状況によっては、使用中に親水性のテープが剥がれてしまい、水を所望の方向に導く機能を損なう可能性がある。
【0005】
身体装着物に設けられた、水等の流体を所望の方向に導くための機能が身体装着物の使用中に損なわれないようにすることを課題とする。
【課題を解決するための手段】
【0006】
本開示は、
生地本体と、
前記生地本体の表面に前記生地本体と一体となって形成されており、流体の流れを制御するための凸部と、
前記凸部を形成するための塗布剤と
を備える衣料を提供する。
【0007】
本開示に係る衣料によれば、流体の流れを制御する凸部が生地本体と一体となって形成されているので、衣料の使用中に凸部が剥がれず、流体の流れを制御する機能が損なわれることを抑制できる。
【図面の簡単な説明】
【0008】
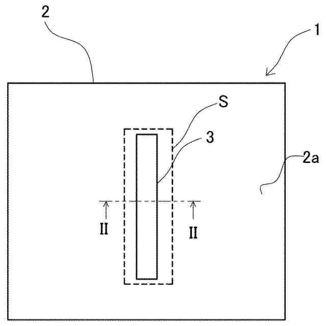
本開示の模式的な衣料の平面図である。
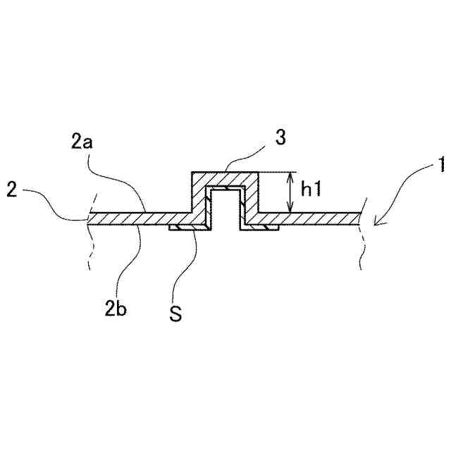
図1のII-II線に沿った衣料の断面図である。
図1のII-II線に沿った衣料の他の形態の断面図である。
本開示の第1実施形態に係る上衣の概略図である。
図4のV-V線に沿った上衣の断面図である。
本開示の第2実施形態に係る帽子の概略図である。
本開示の第3実施形態に係る下衣の概略図である。
本開示の第4実施形態に係る上衣の概略図である。
図8のIX-IX線に沿った上衣の断面図である。
【発明を実施するための形態】
【0009】
以下、本開示の実施形態について添付図面を参照しながら説明する。
【0010】
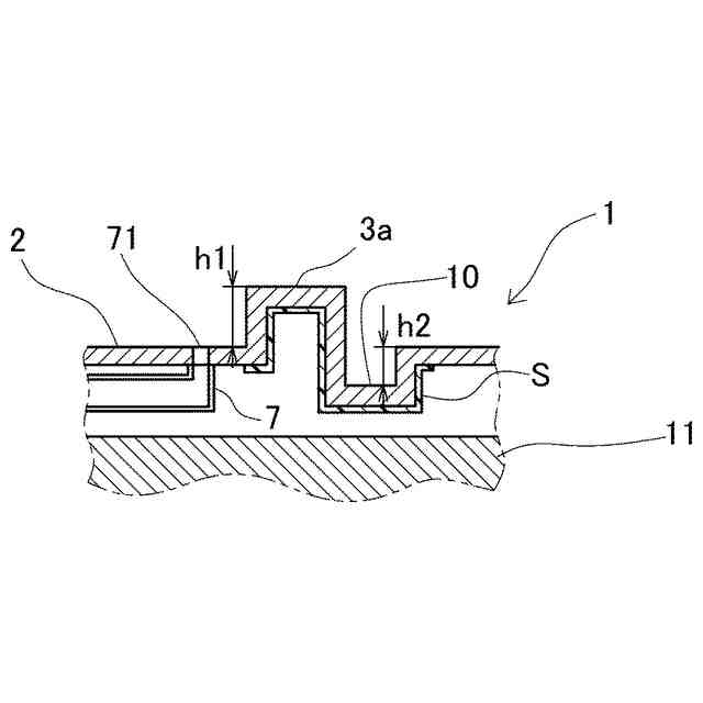
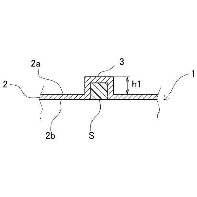
図1は、本実施形態の衣料1を模式的に示した平面図である。衣料1は、布製の生地本体2から構成されている。図1は、生地本体2の表面2a側を示している。生地本体2には、表面2a側において一方向に延びており、流体の流れを制御する、凸部3が設けられている。ここで、本明細書における流体とは、例えば気体又は液体を指す。凸部3は、生地本体2と一体となって形成されている。さらに、生地本体2の裏面2b側には、塗布剤Sが凸部3に沿って設けられている(図1の点線を参照)。
(【0011】以降は省略されています)
この特許をJ-PlatPat(特許庁公式サイト)で参照する
関連特許
個人
衿芯
2か月前
個人
和服
5か月前
個人
シャツ
22日前
個人
二部式袍
8か月前
個人
ネクタイ
22日前
個人
衣装
5か月前
個人
下着
3か月前
個人
靴下
9か月前
個人
下着
11か月前
個人
多機能装身具
1か月前
個人
簡単帯
9か月前
個人
マスク装着具
10か月前
個人
マスク
22日前
個人
健康靴下
10か月前
個人
ショーツ
9か月前
個人
肩章付き衣服。
3か月前
個人
ボクサーパンツ
10か月前
個人
シャツ改造方法
5か月前
個人
手首穴付き手袋
10か月前
個人
:マスクカバー
1か月前
個人
作業補助ミトン
7か月前
株式会社聖
手足保護具
8か月前
東洋紡株式会社
マスク
1日前
個人
足首用サポーター
7か月前
個人
かわいいマフラー
11か月前
有限会社原電業
指手袋
10か月前
個人
手袋
6か月前
個人
花粉防止用保護具
11か月前
個人
ソフトキャミブラ
5か月前
個人
靴下
11か月前
個人
内フィルムマスク
3日前
個人
車椅子用グローブ
1か月前
個人
指出し入れ可能手袋
11か月前
個人
レインコート
4か月前
個人
被介護者用上衣
2か月前
グンゼ株式会社
衣服
5か月前
続きを見る
他の特許を見る