TOP
|
特許
|
意匠
|
商標
特許ウォッチ
Twitter
他の特許を見る
公開番号
2025140021
公報種別
公開特許公報(A)
公開日
2025-09-29
出願番号
2024039161
出願日
2024-03-13
発明の名称
液体吐出ヘッド
出願人
ブラザー工業株式会社
代理人
弁理士法人ATEN
主分類
B41J
2/14 20060101AFI20250919BHJP(印刷;線画機;タイプライター;スタンプ)
要約
【課題】共通流路に連通した気体収容部によるバッファ機能を維持する。
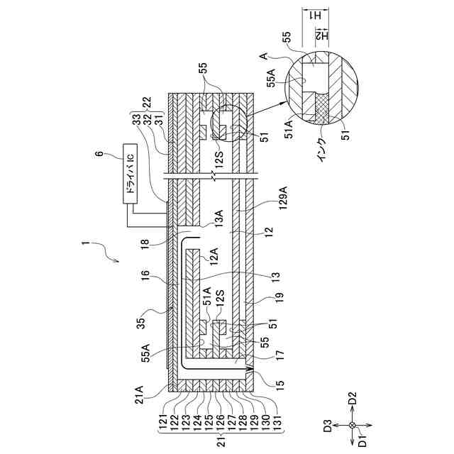
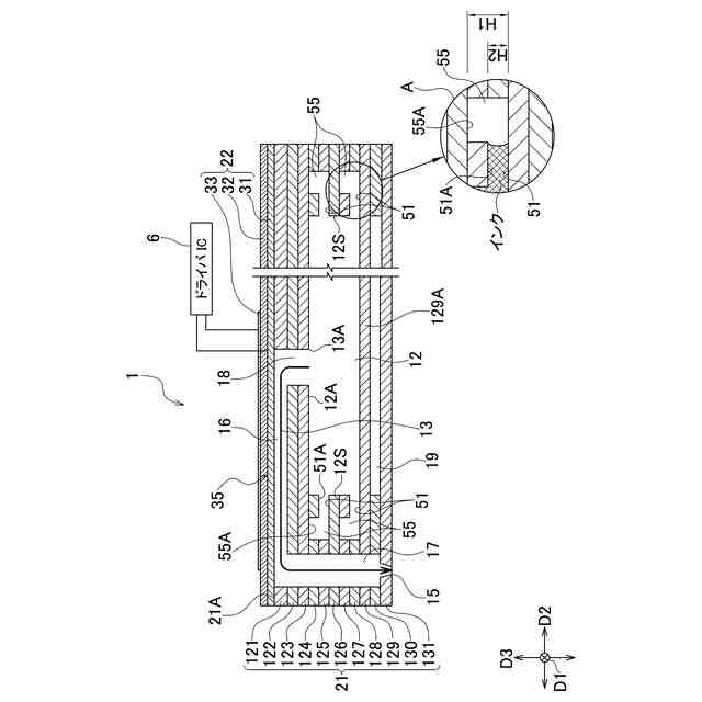
【解決手段】ヘッド1は、ノズル15をそれぞれ含む複数の個別流路13と、複数の個別流路に連通し、第1方向D1に延びる共通流路12と、を有する流路部材21を含む。流路部材21は、複数の個別流路13及び共通流路12に液体が収容された状態において、気体を収容可能な気体収容部55を有する。気体収容部55は、共通流路12の第2方向D2の側面12Sに連通している。
【選択図】図4
特許請求の範囲
【請求項1】
ノズルをそれぞれ含み、上下方向に直交する第1方向に配列された複数の個別流路と、
前記複数の個別流路に連通し、前記第1方向に延びる共通流路と、を有する流路部材を備え、
前記流路部材は、
前記複数の個別流路及び前記共通流路に液体が収容された状態において、気体を収容可能な気体収容部を有し、
前記気体収容部は、前記共通流路の上下方向に直交する第2方向の側面に連通していることを特徴とする液体吐出ヘッド。
続きを表示(約 660 文字)
【請求項2】
前記気体収容部は、通路を介して前記共通流路に連通し、
前記第2方向は、前記第1方向に直交し、
上下方向及び前記第1方向の少なくとも一方において、前記通路の長さは前記気体収容部の長さよりも短いことを特徴とする請求項1に記載の液体吐出ヘッド。
【請求項3】
前記気体収容部は、1つの前記通路のみを介して前記共通流路と連通していることを特徴とする請求項2に記載の液体吐出ヘッド。
【請求項4】
前記気体収容部の上面は、前記通路の上面よりも上方に位置していることを特徴とする請求項2に記載の液体吐出ヘッド。
【請求項5】
前記気体収容部の前記第1方向の長さは、前記通路の前記第1方向の長さよりも大きく、
前記気体収容部の上下方向の長さは、前記通路の上下方向の長さよりも大きいことを特徴とする請求項2に記載の液体吐出ヘッド。
【請求項6】
前記共通流路の前記側面に、上下方向に並ぶ複数の前記気体収容部が連通していることを特徴とする請求項1に記載の液体吐出ヘッド。
【請求項7】
前記第2方向は、前記第1方向に直交し、
前記共通流路の前記側面に、前記第1方向に並ぶ複数の前記気体収容部が連通していることを特徴とする請求項1に記載の液体吐出ヘッド。
【請求項8】
前記共通流路から前記個別流路への入口が、前記共通流路の上面に配置されていることを特徴とする請求項1に記載の液体吐出ヘッド。
発明の詳細な説明
【技術分野】
【0001】
本発明は、複数の個別流路と共通流路とを有する流路部材を備えた液体吐出ヘッドに関する。
続きを表示(約 1,400 文字)
【背景技術】
【0002】
特許文献1には、吐出口をそれぞれ含む複数の流路(個別流路)と、複数の流路と連通する供給路(共通流路)とを有する記録素子(流路部材)を備えた液体吐出ヘッドについて記載されている。この液体吐出ヘッドの記録素子は、複数の凹部及び各凹部の一部を覆い部で覆うことで形成された複数の空間(気体収容部)を有する。各空間は、供給路の下方に配置され、気泡が収容されている。空間に収容された気泡は、バッファとして機能し、吐出口でのメニスカス振動を減衰させる。
【先行技術文献】
【特許文献】
【0003】
特開2023-178609号公報
【発明の概要】
【発明が解決しようとする課題】
【0004】
上記特許文献1に記載の液体吐出ヘッドにおいて、各空間は供給路の下面に連通している。このため、空間内の気泡は、温度上昇に伴って成長すると、浮力により供給路へと移動し得る。この場合、空間内の気体の量が減少し、バッファ機能が低下する。
【0005】
そこで、本発明の目的は、共通流路に連通した気体収容部によるバッファ機能を維持することが可能な液体吐出ヘッドを提供することである。
【課題を解決するための手段】
【0006】
本発明の液体吐出ヘッドは、ノズルをそれぞれ含み、上下方向に直交する第1方向に配列された複数の個別流路と、前記複数の個別流路に連通し、前記第1方向に延びる共通流路と、を有する流路部材を備え、前記流路部材は、前記複数の個別流路及び前記共通流路に液体が収容された状態において、気体を収容可能な気体収容部を有し、前記気体収容部は、前記共通流路の上下方向に直交する第2方向の側面に連通している。
【発明の効果】
【0007】
本発明の液体吐出ヘッドによると、気体収容部が共通流路の側面に連通しているため、気体収容部に収容された気体が浮力により共通流路に移動しにくい。このため、気体収容部に収容された気体によるバッファ機能を維持することができる。
【図面の簡単な説明】
【0008】
本発明の一実施形態に係るヘッドを含むプリンタの平面図である。
プリンタの電気的構成を示すブロック図である。
ヘッドの平面図である。
図3のIV-IV線に沿ったヘッドの断面図である。
【発明を実施するための形態】
【0009】
<実施形態>
先ず、図1を参照し、本発明の一実施形態に係るヘッド1を備えたプリンタ100の全体構成について説明する。なお、以下の説明において、第1方向D1及び第2方向D2は、水平方向であり、上下方向D3に直交する。本実施形態における上下方向D3は鉛直方向に沿っているが、鉛直方向及び水平方向に対して交差する上下方向であってもよい。第1方向D1は第2方向D2と直交する。
【0010】
<プリンタの全体構成>
プリンタ100は、筐体100Aと、ヘッドユニット1Xと、プラテン3と、搬送機構4と、制御部5とを備えている。ヘッドユニット1X、プラテン3、搬送機構4及び制御部5は、筐体100A内に配置されている。また、プリンタ100は、さらに、筐体100Aの外面に配置されたボタン(不図示)を備えている。
(【0011】以降は省略されています)
この特許をJ-PlatPat(特許庁公式サイト)で参照する
関連特許
ブラザー工業株式会社
空調機
16日前
ブラザー工業株式会社
空調機
16日前
ブラザー工業株式会社
空調機
16日前
ブラザー工業株式会社
空調機
16日前
ブラザー工業株式会社
空調機
16日前
ブラザー工業株式会社
制御装置
6日前
ブラザー工業株式会社
定着装置
18日前
ブラザー工業株式会社
カセット
16日前
ブラザー工業株式会社
カセット
16日前
ブラザー工業株式会社
カセット
16日前
ブラザー工業株式会社
カセット
16日前
ブラザー工業株式会社
搬送装置
4日前
ブラザー工業株式会社
画像形成装置
6日前
ブラザー工業株式会社
画像形成装置
16日前
ブラザー工業株式会社
画像形成装置
16日前
ブラザー工業株式会社
画像形成装置
16日前
ブラザー工業株式会社
液体吐出装置
10日前
ブラザー工業株式会社
液体吐出装置
10日前
ブラザー工業株式会社
画像形成装置
10日前
ブラザー工業株式会社
画像形成装置
2日前
ブラザー工業株式会社
画像形成装置
18日前
ブラザー工業株式会社
画像形成装置
2日前
ブラザー工業株式会社
画像形成装置
3日前
ブラザー工業株式会社
画像形成装置
2日前
ブラザー工業株式会社
画像形成装置
2日前
ブラザー工業株式会社
液体吐出ヘッド
6日前
ブラザー工業株式会社
液体吐出ヘッド
17日前
ブラザー工業株式会社
液体吐出ヘッド
17日前
ブラザー工業株式会社
液体吐出ヘッド
18日前
ブラザー工業株式会社
液体吐出ヘッド
2日前
ブラザー工業株式会社
圧電アクチュエータ
17日前
ブラザー工業株式会社
サポートプログラム
9日前
ブラザー工業株式会社
システム及び管理装置
4日前
ブラザー工業株式会社
システム及びプログラム
4日前
ブラザー工業株式会社
システム及びプログラム
4日前
ブラザー工業株式会社
システムおよび画像形成装置
10日前
続きを見る
他の特許を見る