TOP
|
特許
|
意匠
|
商標
特許ウォッチ
Twitter
他の特許を見る
公開番号
2025138191
公報種別
公開特許公報(A)
公開日
2025-09-25
出願番号
2024037125
出願日
2024-03-11
発明の名称
液体吐出装置
出願人
ブラザー工業株式会社
代理人
弁理士法人有古特許事務所
主分類
B41J
2/14 20060101AFI20250917BHJP(印刷;線画機;タイプライター;スタンプ)
要約
【課題】 シート部材のダンパ部分の近傍での液体の凝集を抑制できる液体吐出装置を提供する。
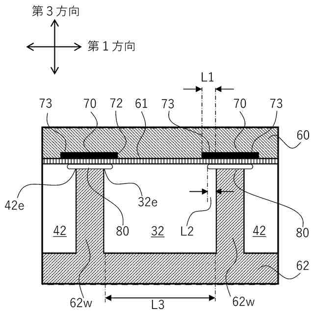
【解決手段】 液体を吐出する複数のノズル5が形成されたノズル部材64と、複数のノズル5のそれぞれに連通する複数の圧力室52が形成された圧力室部材63と、複数の圧力室52に連通する複数の個別路50に接続された共通路32,42が形成された流路部材62と、流路部材62に積層して接着剤80により接合されて共通路32,42の少なくとも一部を覆う可撓性のダンパ部分61dを有するシート部材61と、シート部材61に対して流路部材62とは反対に積層された拘束部材70と、を備え、拘束部材70は、シート部材61および拘束部材70の積層方向に沿って見たときに、ダンパ部分61dにより覆われる共通路32,42の開口の縁部32e,42eから、開口の内方へ向かって延びる延設部分73を有する。
【選択図】 図8
特許請求の範囲
【請求項1】
液体を吐出する複数のノズルが形成されたノズル部材と、
複数の前記ノズルのそれぞれに連通する複数の圧力室が形成された圧力室部材と、
複数の圧力室に連通する複数の個別路に接続された共通路が形成された流路部材と、
前記流路部材に積層して接着剤により接合されて前記共通路の少なくとも一部を覆う可撓性のダンパ部分を有するシート部材と、
前記シート部材に対して前記流路部材とは反対に積層された拘束部材と、を備え、
前記拘束部材は、前記シート部材および前記拘束部材の積層方向に沿って見たときに、前記ダンパ部分により覆われる前記共通路の開口の縁部から、前記開口の内方へ向かって延びる延設部分を有する、
液体吐出装置。
続きを表示(約 680 文字)
【請求項2】
前記延設部分における前記開口の縁部から前記開口の内方への延設寸法は、前記接着剤の前記開口の縁部からのはみだし寸法と、前記流路部材と前記拘束部材との組み付け公差との合算値以上である、
請求項1に記載の液体吐出装置。
【請求項3】
前記接着剤および前記シート部材は、樹脂製である、
請求項1に記載の液体吐出装置。
【請求項4】
前記ノズルから吐出される液体は、ポリマーから成る色材を含む、
請求項1に記載の液体吐出装置。
【請求項5】
前記流路部材における前記共通路の開口の幅寸法は1000μm以上であり、前記延設部分における前記開口の縁部から前記開口の内方への延設寸法は20μm以上である、
請求項1に記載の液体吐出装置。
【請求項6】
前記拘束部材は、前記シート部材よりも硬質材料から成る、
請求項1に記載の液体吐出装置。
【請求項7】
前記拘束部材と前記流路部材とは同じ材料から成る、
請求項1に記載の液体吐出装置。
【請求項8】
前記拘束部材は、前記ダンパ部分を取り囲む枠形状を成している、
請求項1に記載の液体吐出装置。
【請求項9】
前記シート部材は、前記ダンパ部分に加えて、前記液体中の異物を捕獲するフィルタ部分を有し、
前記拘束部材は、前記ダンパ部分に設けられ、前記フィルタ部分には設けられていない、
請求項1に記載の液体吐出装置。
発明の詳細な説明
【技術分野】
【0001】
本開示は、液体を吐出する液体吐出装置に関する。
続きを表示(約 1,900 文字)
【背景技術】
【0002】
従来の液体吐出装置として、例えば特許文献1に記載されたようなダンパ機能を有する構成が知られている。この液体吐出装置が備える液体吐出ヘッドは、共通液室(25)、個別連通路(26)、圧力室(30)、および、ノズル(22)の順に液体が供給され、ノズルから液体が吐出される。また、共通液室の一部を画定するようにダンパを成す封止膜(49)が設けられ、この封止膜(49)は連通基板(24)と固定基板(50)とによって挟持固定されている。そして封止膜と連通基板とはエポキシ系接着剤(54)により接合されていることが開示されている。
【先行技術文献】
【特許文献】
【0003】
特開2021-008130号公報
【発明の概要】
【発明が解決しようとする課題】
【0004】
ところで、本願の発明者らは、例えば特許文献1のような液体吐出ヘッドにおいて、ダンパの近傍に顔料インクの顔料成分が凝集していることを知見した。共通液室内に凝集が発生すると、この凝集体はノズル詰まりやフィルタ詰まりの原因になり得るため好ましくない。
【0005】
そこで本開示は、ダンパの近傍での液体の凝集を抑制することのできる液体吐出装置を提供することを目的とする。
【課題を解決するための手段】
【0006】
本願の発明者らの鋭意の研究により次のような新たな知見が得られた。すなわち、特許文献1のように、封止膜と連通基板とが接着剤により接合された構成の場合、封止膜と連通基板との間の接着剤の一部が共通液室の内方へはみ出してフィレット状を成す場合がある。そうすると、封止膜がダンパとして繰り返し変形するのに伴い、フィレット状の接着剤と繰り返し接触して静電気が発生し、この静電気によってインクの顔料等の色材が凝集する可能性がある。本開示は、このような新たに知見された課題を解決するべく、下記のような解決手段を提示するものである。
【0007】
本開示の第1の態様に係る液体吐出装置は、液体を吐出する複数のノズルが形成されたノズル部材と、複数の前記ノズルのそれぞれに連通する複数の圧力室が形成された圧力室部材と、複数の圧力室に連通する複数の個別路に接続された共通路が形成された流路部材と、前記流路部材に積層して接着剤により接合されて前記共通路の少なくとも一部を覆う可撓性のダンパ部分を有するシート部材と、前記シート部材に対して前記流路部材とは反対に積層された拘束部材と、を備え、前記拘束部材は、前記シート部材および前記拘束部材の積層方向に沿って見たときに、前記ダンパ部分により覆われる前記共通路の開口の縁部から、前記開口の内方へ向かって延びる延設部分を有する。
【発明の効果】
【0008】
本開示に係る液体吐出装置によれば、拘束部材の延設部分により、シート部材のダンパ部分の周縁部分の変形を抑制できる。これにより、フィレット状にはみだした接着剤があっても、液体が凝集するのを抑制できる。
【図面の簡単な説明】
【0009】
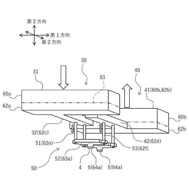
図1は、液体吐出装置の模式図である。
図2は、吐出ヘッドを平面視して内部に形成されている液体流路の一部を破線で示した模式図である。
図3は、吐出ヘッドについての図2のA-A矢視断面図である。
図4は、吐出ヘッドについての図2のB-B矢視断面図である。
図5は、吐出ヘッドについての図2のC-C矢視断面図である。
図6は、ノズルへインクが供給される流路およびノズルからインクが回収される流路を示す模式的な斜視図である。
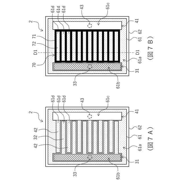
図7は、拘束部材を説明するための模式的平面図であり、図7Aは、シート部材と流路部材との積層態様を示し、図7Bは、シート部材と流路部材と拘束部材との積層態様を示している。
図8は、フレーム部材、拘束部材、シート部材、および、流路部材の積層態様を示す模式的断面図である。
【発明を実施するための形態】
【0010】
以下、本開示の実施の形態に係る液体吐出装置について図面を参照しつつ説明する。なお、以下の説明で用いる方向の概念は、説明する上で便宜上使用するものであって、各開示の構成の向き等をその方向に限定するものではない。また、以下に説明する液体吐出装置は本開示の一実施形態に過ぎない。従って、本開示は以下の実施形態に限定されず、開示の趣旨を逸脱しない範囲で構成の追加、削除、または変更が可能である。
(【0011】以降は省略されています)
この特許をJ-PlatPat(特許庁公式サイト)で参照する
関連特許
ブラザー工業株式会社
搬送装置
4日前
ブラザー工業株式会社
制御装置
6日前
ブラザー工業株式会社
画像形成装置
2日前
ブラザー工業株式会社
画像形成装置
3日前
ブラザー工業株式会社
液体吐出装置
10日前
ブラザー工業株式会社
液体吐出装置
10日前
ブラザー工業株式会社
画像形成装置
6日前
ブラザー工業株式会社
画像形成装置
10日前
ブラザー工業株式会社
画像形成装置
2日前
ブラザー工業株式会社
画像形成装置
2日前
ブラザー工業株式会社
画像形成装置
2日前
ブラザー工業株式会社
液体吐出ヘッド
2日前
ブラザー工業株式会社
液体吐出ヘッド
6日前
ブラザー工業株式会社
サポートプログラム
9日前
ブラザー工業株式会社
システム及び管理装置
4日前
ブラザー工業株式会社
システム及びプログラム
4日前
ブラザー工業株式会社
システム及びプログラム
4日前
ブラザー工業株式会社
プリンタ、及び切断ユニット
6日前
ブラザー工業株式会社
仮想プリンタ管理プログラム
2日前
ブラザー工業株式会社
システムおよび画像形成装置
10日前
ブラザー工業株式会社
システムおよび画像形成装置
10日前
ブラザー工業株式会社
システムおよび画像形成装置
10日前
ブラザー工業株式会社
システムおよび画像形成装置
10日前
ブラザー工業株式会社
プログラム及び情報処理装置
6日前
ブラザー工業株式会社
システムおよび画像形成装置
10日前
ブラザー工業株式会社
プログラムおよび情報処理装置
6日前
ブラザー工業株式会社
カシメ装置及び缶製品作製装置
10日前
ブラザー工業株式会社
画像形成装置及び画像形成システム
2日前
ブラザー工業株式会社
プログラム、および、画像処理装置
2日前
ブラザー工業株式会社
情報処理プログラム及び情報処理装置
3日前
ブラザー工業株式会社
回転継手装置、モータ、及び工作機械
10日前
ブラザー工業株式会社
プログラム、および、データ処理装置
6日前
ブラザー工業株式会社
画像処理プログラム及び情報処理装置
6日前
ブラザー工業株式会社
情報処理プログラム及び情報処理装置
2日前
ブラザー工業株式会社
画像処理プログラム及び情報処理装置
2日前
ブラザー工業株式会社
トナーカートリッジのリサイクル方法
3日前
続きを見る
他の特許を見る