TOP
|
特許
|
意匠
|
商標
特許ウォッチ
Twitter
他の特許を見る
10個以上の画像は省略されています。
公開番号
2025142698
公報種別
公開特許公報(A)
公開日
2025-10-01
出願番号
2024042206
出願日
2024-03-18
発明の名称
搬送装置
出願人
ブラザー工業株式会社
代理人
個人
,
個人
主分類
B65H
26/02 20060101AFI20250924BHJP(運搬;包装;貯蔵;薄板状または線条材料の取扱い)
要約
【課題】駆動部を発熱により停止させた後に装置を容易に再稼働できるようにする。
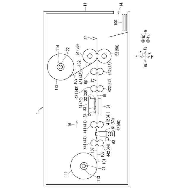
【解決手段】ラミネート装置1は、第1部材101を搬送向き16に搬送する第1搬送ローラ41と、第1搬送ローラ41を駆動する第1モータと、張力発生部60と、制御部とを備えている。張力発生部60は、第1搬送ローラ41と張力発生部60との間の第1部材101にテンションを付与する。制御部は、第1モータの温度Taが第2基準値TH2に到達したと判断したことに応じて、高温時処理において、第1部材101を第1搬送ローラ41によって把持されない巻き戻し位置まで第1搬送ローラ41にて搬送向き16とは逆向きに搬送させるよう第1モータを駆動させる。
【選択図】図2
特許請求の範囲
【請求項1】
部材を搬送向きに搬送する搬送機構と、
上記搬送機構を駆動する駆動部と、
上記搬送機構より上記搬送向きの上流に位置するテンション付与部と、
制御部と、を備え、
上記テンション付与部は、上記搬送機構と上記テンション付与部との間の上記部材にテンションを付与するものであり、
上記制御部は、上記駆動部の温度が第1値に到達したと判断したことに応じて、上記部材を上記搬送機構によって把持されない位置まで上記搬送機構にて上記搬送向きとは逆向きに搬送させるよう上記駆動部を駆動させる逆搬送制御を行う搬送装置。
続きを表示(約 1,900 文字)
【請求項2】
上記テンション付与部より上記搬送向きの上流に位置する第2搬送機構と、
上記第2搬送機構を駆動する第2駆動部と、をさらに備え、
上記テンション付与部は、上記搬送機構と上記第2搬送機構との間の上記部材に上記テンションを付与するものであり、
上記制御部は、上記駆動部の温度が上記第1値に到達したと判断したことに応じて、上記第2駆動部を制御して上記部材を上記第2搬送機構にて上記上流に向けて搬送させる請求項1に記載の搬送装置。
【請求項3】
上記駆動部はモータであり、
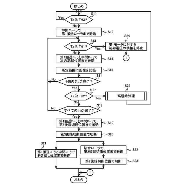
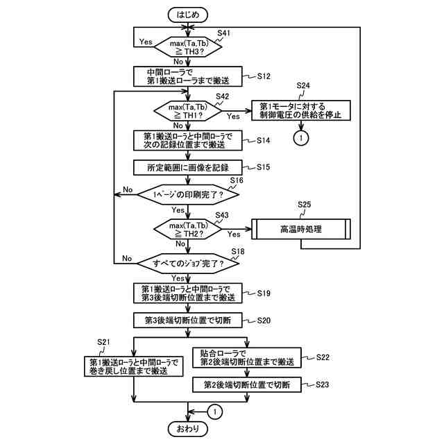
上記制御部は、上記駆動部の温度が上記第1値より高い第2値に到達したと判断したことに応じて、上記モータに対する制御電圧の供給を停止する請求項2に記載の搬送装置。
【請求項4】
上記搬送機構より上記搬送向きの下流に位置し、上記部材に画像を記録する記録部をさらに備え、
上記テンション付与部は、上記搬送機構と上記第2搬送機構との間の上記部材の長さが所定長以上である場合に上記部材にテンションを付与せず、上記長さが上記所定長未満である場合に上記部材にテンションを付与するように構成されており、
上記制御部は、上記部材に画像を記録するジョブを取得したことに応じて、上記搬送機構を制御してテンションをかけながら上記部材を上記記録部の記録位置まで搬送させる搬送動作と、上記搬送機構を制御してテンションをかけながら上記部材を上記記録位置に留まらせ、上記記録部を制御して上記部材に画像を記録させる記録動作とを交互に行う間欠搬送制御を行い、
上記間欠搬送制御の実行中に、上記駆動部の温度が上記第1値に到達したと判断したことに応じて、上記逆搬送制御を行う請求項2に記載の搬送装置。
【請求項5】
上記制御部は、上記間欠搬送制御の実行中に、上記駆動部の温度が上記第1値に到達したと判断したことに応じて、上記ジョブで指定されるページの印刷ごとに上記逆搬送制御を行う請求項4に記載の搬送装置。
【請求項6】
上記制御部は、上記間欠搬送制御の実行中に、上記駆動部の温度が上記第1値に到達したと判断したことに応じて、上記ジョブに関するすべての間欠搬送制御を完了した後に、上記逆搬送制御を行う請求項4に記載の搬送装置。
【請求項7】
上記記録部より上記搬送向きの下流に位置する第2テンション付与部と、
上記搬送向きにおいて上記搬送機構と上記第2テンション付与部との間に位置し、上記部材を切断する切断部と、をさらに備え、
上記第2テンション付与部は、上記搬送機構と上記第2テンション付与部との間の上記部材にテンションを付与するものであり、
上記制御部は、
上記間欠搬送制御の実行中に、上記第2テンション付与部を制御して上記搬送機構と上記第2テンション付与部との間の上記部材に対する上記テンションを継続的に付与させ、
上記間欠搬送制御の実行中に、上記駆動部の温度が上記第1値に到達したと判断したことに応じて、上記切断部を制御して上記部材を切断させた後に、上記逆搬送制御を行う請求項4に記載の搬送装置。
【請求項8】
上記制御部は、上記間欠搬送制御の実行中に、上記駆動部の温度が上記第1値に到達したと判断したことに応じて、上記搬送機構を制御して画像が記録された部分が上記切断部より上記搬送向きの下流となる位置まで上記部材を搬送させ、上記切断部を制御して上記部材を切断させ、上記逆搬送制御を行う請求項7に記載の搬送装置。
【請求項9】
上記制御部は、上記間欠搬送制御の実行中に、上記駆動部の温度が上記第1値に到達したと判断したことに応じて、上記第2テンション付与部を制御して上記搬送機構と上記第2テンション付与部との間の上記部材に対する上記テンションの付与を停止させた後に、上記切断部を制御して上記部材を切断させ、上記逆搬送制御を行う請求項7に記載の搬送装置。
【請求項10】
上記搬送機構より上記搬送向きの下流に位置し、上記部材と別の部材とを貼り合わせる貼合ローラと、
上記搬送向きにおいて上記搬送機構と上記貼合ローラとの間に位置し、上記部材を切断する切断部と、をさらに備え、
上記制御部は、上記駆動部の温度が上記第1値に到達したと判断したことに応じて、上記切断部を制御して上記部材を切断させた後に、上記逆搬送制御を行う請求項1に記載の搬送装置。
(【請求項11】以降は省略されています)
発明の詳細な説明
【技術分野】
【0001】
本発明は、部材を搬送する搬送装置に関する。
続きを表示(約 1,800 文字)
【背景技術】
【0002】
特許文献1には、連続運転時のDCモータの発熱による巻線抵抗値の上昇などによってDCモータの回転速度が変動しても、DCモータの回転量が所定数に達するごとに、サーマルヘッドを印字駆動する印字周期を補正することにより、高精度の定長印刷を行えるテープ印刷装置が記載されている。
【先行技術文献】
【特許文献】
【0003】
特開2007-111863号公報
【発明の概要】
【発明が解決しようとする課題】
【0004】
特許文献1に記載の印刷装置では、搬送機構を駆動するモータを停止させれば、テープの搬送は停止し、モータに負荷はかからなくなる。しかし、搬送機構以外にテープにテンションを与える機構を備えた装置では、搬送機構を駆動するモータを停止させても、テープにテンションがかかり続けるので、テープが意図しない位置まで移動してしまうという問題が発生する。
【0005】
本発明は、上記の事情に鑑みてなされたものであり、その目的は、搬送機構以外に部材にテンションを与える機構を備える場合に、搬送機構を駆動する駆動部を発熱により停止させた後に装置を容易に再稼働できる手段を提供することである。
【課題を解決するための手段】
【0006】
(1) 本発明の搬送装置は、
部材を搬送向きに搬送する搬送機構と、上記搬送機構を駆動する駆動部と、上記搬送機構より上記搬送向きの上流に位置するテンション付与部と、制御部と、を備えている。上記テンション付与部は、上記搬送機構と上記テンション付与部との間の上記部材にテンションを付与するものである。上記制御部は、上記駆動部の温度が第1値に到達したと判断したことに応じて、上記部材を上記搬送機構によって把持されない位置まで上記搬送機構にて上記搬送向きとは逆向きに搬送させるよう上記駆動部を駆動させる逆搬送制御を行う。
【0007】
上記の搬送装置では、駆動部の温度が第1値に到達した場合に、制御部は、駆動部を駆動させて、搬送機構によって把持されない位置まで部材を搬送させる。これにより、テンション付与部が部材に付与するテンションが解放され、駆動部の温度上昇が抑制されると共に、部材の先端が搬送機構とテンション付与部との間に位置するため、搬送装置を容易に再稼働できる。
【0008】
(2) 好ましくは、上記搬送装置は、上記テンション付与部より上記搬送向きの上流に位置する第2搬送機構と、上記第2搬送機構を駆動する第2駆動部と、をさらに備え、上記テンション付与部は、上記搬送機構と上記第2搬送機構との間の上記部材に上記テンションを付与するものであり、上記制御部は、上記駆動部の温度が上記第1値に到達したと判断したことに応じて、上記第2駆動部を制御して上記部材を上記第2搬送機構にて上記上流に向けて搬送させてもよい。
【0009】
(3) 好ましくは、上記駆動部はモータであり、上記制御部は、上記駆動部の温度が上記第1値より高い第2値に到達したと判断したことに応じて、上記モータに対する制御電圧の供給を停止してもよい。
【0010】
(4) 好ましくは、上記搬送装置は、上記搬送機構より上記搬送向きの下流に位置し、上記部材に画像を記録する記録部をさらに備え、上記テンション付与部は、上記搬送機構と上記第2搬送機構との間の上記部材の長さが所定長以上である場合に上記部材にテンションを付与せず、上記長さが上記所定長未満である場合に上記部材にテンションを付与するように構成されており、上記制御部は、上記部材に画像を記録するジョブを取得したことに応じて、上記搬送機構を制御してテンションをかけながら上記部材を上記記録部の記録位置まで搬送させる搬送動作と、上記搬送機構を制御してテンションをかけながら上記部材を上記記録位置に留まらせ、上記記録部を制御して上記部材に画像を記録させる記録動作とを交互に行う間欠搬送制御を行い、上記間欠搬送制御の実行中に、上記駆動部の温度が上記第1値に到達したと判断したことに応じて、上記逆搬送制御を行ってもよい。
(【0011】以降は省略されています)
この特許をJ-PlatPat(特許庁公式サイト)で参照する
関連特許
個人
収容箱
2か月前
個人
コンベア
4か月前
個人
ゴミ収集器
6か月前
個人
段ボール箱
6か月前
個人
段ボール箱
6か月前
個人
容器
8か月前
個人
角筒状構造体
4か月前
個人
楽ちんハンド
4か月前
個人
バンド
1か月前
個人
土嚢運搬器具
7か月前
個人
宅配システム
6か月前
個人
お薬の締結装置
5か月前
個人
廃棄物収容容器
1か月前
個人
コード類収納具
7か月前
個人
閉塞装置
9か月前
個人
包装容器
13日前
個人
ゴミ処理機
8か月前
個人
貯蔵サイロ
6か月前
個人
蓋閉止構造
3か月前
株式会社和気
包装用箱
8か月前
個人
蓋閉止構造
3か月前
個人
把手付米袋
3か月前
個人
積み重ね用補助具
1か月前
株式会社コロナ
梱包材
4か月前
個人
輸送積荷用動吸振器
5か月前
三甲株式会社
蓋体
7か月前
個人
コード折り畳み器具
3か月前
株式会社イシダ
搬送装置
5か月前
個人
袋入り即席麺
6か月前
三甲株式会社
容器
5か月前
個人
搬送システム
5か月前
三甲株式会社
容器
5か月前
個人
包装箱
9か月前
株式会社KY7
封止装置
2か月前
株式会社新弘
容器
2か月前
三甲株式会社
蓋体
8か月前
続きを見る
他の特許を見る