TOP
|
特許
|
意匠
|
商標
特許ウォッチ
Twitter
他の特許を見る
公開番号
2025137266
公報種別
公開特許公報(A)
公開日
2025-09-19
出願番号
2024036375
出願日
2024-03-08
発明の名称
画像形成装置
出願人
ブラザー工業株式会社
代理人
個人
,
個人
,
個人
主分類
G03G
21/00 20060101AFI20250911BHJP(写真;映画;光波以外の波を使用する類似技術;電子写真;ホログラフイ)
要約
【課題】メイン基板と低圧基板とを電気的に接続するハーネスを減らすことができる画像形成装置を提供する。
【解決手段】画像形成装置1は、本体筐体10と、定着器70と、定着器70を制御する制御信号を出力可能なメイン基板110と、定着器70に電力を出力可能な低圧基板120と、メイン基板110と電気的に接続され、制御信号を送信可能な第1無線通信ユニット130と、低圧基板120と電気的に接続され、制御信号を受信可能な第2無線通信ユニット140とを備える。
【選択図】図2
特許請求の範囲
【請求項1】
画像形成装置であって、
本体筐体と、
定着器と、
前記定着器を制御する制御信号を出力可能なメイン基板と、
前記定着器に電力を出力可能な低圧基板と、
前記メイン基板と電気的に接続された第1無線通信ユニットであって、前記制御信号を送信可能な第1無線通信ユニットと、
前記低圧基板と電気的に接続された第2無線通信ユニットであって、前記制御信号を受信可能な第2無線通信ユニットと、を備えることを特徴とする画像形成装置。
続きを表示(約 1,200 文字)
【請求項2】
前記メイン基板は、前記制御信号を前記第1無線通信ユニットおよび前記第2無線通信ユニットを介して前記低圧基板に送信し、
前記低圧基板は、前記制御信号に基づいて前記定着器に出力する電力を制御することを特徴とする請求項1に記載の画像形成装置。
【請求項3】
前記定着器は、前記低圧基板と電気的に接続された温度センサであって、前記定着器の温度を示す検知信号を前記低圧基板に送信可能な温度センサを備えることを特徴とする請求項2に記載の画像形成装置。
【請求項4】
前記制御信号は、前記定着器の目標温度を示す信号であり、
前記メイン基板は、前記制御信号を前記第1無線通信ユニットおよび前記第2無線通信ユニットを介して前記低圧基板に送信可能なメインCPUを有し、
前記低圧基板は、前記制御信号と、前記温度センサから受信した前記検知信号とに基づいて前記定着器に出力する電力を制御する低圧基板CPUを有することを特徴とする請求項3に記載の画像形成装置。
【請求項5】
前記メインCPUは、前記画像形成装置を使った印刷の終了を示す終了信号を前記第1無線通信ユニットおよび前記第2無線通信ユニットを介して前記低圧基板CPUに送信することを特徴とする請求項4に記載の画像形成装置。
【請求項6】
前記低圧基板CPUは、前記定着器の異常を示す定着器異常信号を前記第2無線通信ユニットおよび前記第1無線通信ユニットを介して前記メインCPUに送信することを特徴とする請求項5に記載の画像形成装置。
【請求項7】
前記低圧基板CPUは、前記終了信号を受信し、かつ、前記温度センサから受信した前記検知信号に基づく前記定着器の温度が、所定時間内に所定温度以下にならない場合、前記定着器異常信号を前記メインCPUに送信することを特徴とする請求項6に記載の画像形成装置。
【請求項8】
前記メイン基板は、メインCPUを有し、
前記低圧基板は、低圧基板CPUを有し、
前記低圧基板は、前記メイン基板に所定の電圧を供給可能であり、
前記メインCPUは、前記低圧基板が前記メイン基板に供給している電圧の電圧値を要求する第1要求信号を前記第1無線通信ユニットおよび前記第2無線通信ユニットを介して前記低圧基板CPUに送信することを特徴とする請求項1に記載の画像形成装置。
【請求項9】
前記低圧基板CPUは、前記第1要求信号を受信した場合、前記電圧値を前記第2無線通信ユニットおよび前記第1無線通信ユニットを介して前記メインCPUに送信することを特徴とする請求項8に記載の画像形成装置。
【請求項10】
前記メインCPUは、前記低圧基板CPUから受信した前記電圧値が正常であるか否かを判定する電圧判定処理を実行することを特徴とする請求項9に記載の画像形成装置。
(【請求項11】以降は省略されています)
発明の詳細な説明
【技術分野】
【0001】
本開示は、画像形成装置に関する。
続きを表示(約 1,100 文字)
【背景技術】
【0002】
従来、画像形成装置として、メイン基板と、商用交流電源から入力される交流電圧を一定の直流電圧に変換してメイン基板に供給する低圧基板とを備えるものが知られている(特許文献1)。
【先行技術文献】
【特許文献】
【0003】
特開2019-117348号公報
【発明の概要】
【発明が解決しようとする課題】
【0004】
メイン基板と低圧基板とは、複数のハーネスによって電気的に接続されることが一般的である。
ところで、メイン基板と低圧基板とを電気的に接続するハーネスが多いと、低圧基板を交換する際に手間がかかるという問題がある。
【0005】
そこで、メイン基板と低圧基板とを電気的に接続するハーネスを減らすことができることが望まれる。
【課題を解決するための手段】
【0006】
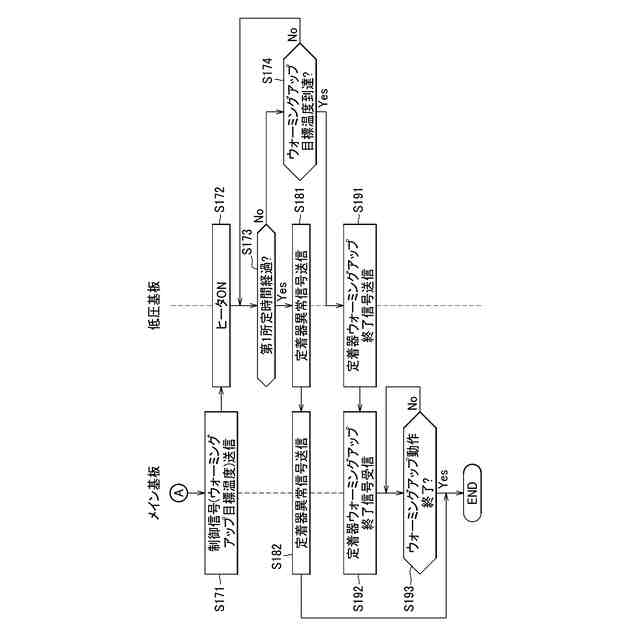
画像形成装置は、本体筐体と、定着器と、メイン基板と、低圧基板と、第1無線通信ユニットと、第2無線通信ユニットと、を備える。
メイン基板は、定着器を制御する制御信号を出力可能である。
低圧基板は、定着器に電力を出力可能である。
第1無線通信ユニットは、メイン基板と電気的に接続されている。第1無線通信ユニットは、制御信号を送信可能である。
第2無線通信ユニットは、低圧基板と電気的に接続されている。第2無線通信ユニットは、制御信号を受信可能である。
【0007】
メイン基板からの制御信号を第1無線通信ユニットおよび第2無線通信ユニットを介して低圧基板に送信可能であることで、メイン基板と低圧基板とを電気的に接続するハーネスを減らすことができる。
【0008】
メイン基板は、制御信号を第1無線通信ユニットおよび第2無線通信ユニットを介して低圧基板に送信し、低圧基板は、制御信号に基づいて定着器に出力する電力を制御してもよい。
【0009】
定着器は、温度センサを備えていてもよい。
温度センサは、低圧基板と電気的に接続されている。温度センサは、定着器の温度を示す検知信号を低圧基板に送信可能である。
【0010】
制御信号は、定着器の目標温度を示す信号であり、メイン基板は、メインCPUを有し、低圧基板は、低圧基板CPUを有していてもよい。
メインCPUは、制御信号を第1無線通信ユニットおよび第2無線通信ユニットを介して低圧基板に送信可能である。
低圧基板CPUは、制御信号と、温度センサから受信した検知信号とに基づいて定着器に出力する電力を制御する。
(【0011】以降は省略されています)
この特許をJ-PlatPat(特許庁公式サイト)で参照する
関連特許
ブラザー工業株式会社
空調機
19日前
ブラザー工業株式会社
ボビン
今日
ブラザー工業株式会社
空調機
19日前
ブラザー工業株式会社
空調機
19日前
ブラザー工業株式会社
空調機
19日前
ブラザー工業株式会社
空調機
19日前
ブラザー工業株式会社
固定具
今日
ブラザー工業株式会社
カセット
19日前
ブラザー工業株式会社
カセット
19日前
ブラザー工業株式会社
搬送装置
7日前
ブラザー工業株式会社
印刷装置
今日
ブラザー工業株式会社
制御装置
9日前
ブラザー工業株式会社
カセット
19日前
ブラザー工業株式会社
縫製装置
今日
ブラザー工業株式会社
カセット
19日前
ブラザー工業株式会社
糸巻回装置
今日
ブラザー工業株式会社
糸巻回装置
今日
ブラザー工業株式会社
画像形成装置
9日前
ブラザー工業株式会社
画像形成装置
19日前
ブラザー工業株式会社
画像形成装置
19日前
ブラザー工業株式会社
画像形成装置
13日前
ブラザー工業株式会社
液体吐出装置
13日前
ブラザー工業株式会社
画像形成装置
今日
ブラザー工業株式会社
液体吐出装置
13日前
ブラザー工業株式会社
画像形成装置
19日前
ブラザー工業株式会社
画像形成装置
5日前
ブラザー工業株式会社
画像形成装置
5日前
ブラザー工業株式会社
画像形成装置
6日前
ブラザー工業株式会社
画像形成装置
今日
ブラザー工業株式会社
画像形成装置
5日前
ブラザー工業株式会社
画像形成装置
5日前
ブラザー工業株式会社
画像形成装置
今日
ブラザー工業株式会社
画像形成装置
今日
ブラザー工業株式会社
画像形成装置
今日
ブラザー工業株式会社
画像形成装置
今日
ブラザー工業株式会社
画像形成装置
今日
続きを見る
他の特許を見る