TOP
|
特許
|
意匠
|
商標
特許ウォッチ
Twitter
他の特許を見る
公開番号
2025139091
公報種別
公開特許公報(A)
公開日
2025-09-26
出願番号
2024037839
出願日
2024-03-12
発明の名称
サポートプログラム
出願人
ブラザー工業株式会社
代理人
主分類
G06F
3/12 20060101AFI20250918BHJP(計算;計数)
要約
【課題】OS標準の汎用印刷プログラムが組み込まれた情報処理装置において、通信環境に応じて最適な圧縮処理による印刷を実現する。
【解決手段】PC1は、OS標準の汎用印刷プログラム41と、プリンタ2に対応する補助プログラム42とが組み込まれている。補助プログラム42は、編集アプリ43から汎用印刷プログラム41に対して印刷対象の画像を印刷する印刷指示があった場合、通信環境に応じた圧縮率での圧縮を汎用印刷プログラム41に指示する。補助プログラム42は、指示した圧縮率で圧縮がされた中間データを汎用印刷プログラム41から取得する。補助プログラム42は、取得した中間データから生成された印刷データを、プリンタ2に行わせるための処理を行う。
【選択図】 図3
特許請求の範囲
【請求項1】
情報処理装置のコンピュータによって実行可能であり、前記情報処理装置と接続するプリンタに対応するサポートプログラムであって、前記情報処理装置には、汎用印刷プログラムを有するオペレーティングシステムが搭載されており、
前記サポートプログラムは、前記コンピュータに、
前記情報処理装置と前記プリンタ間の通信環境情報を取得する通信環境取得処理と、
前記情報処理装置に組み込まれているアプリケーションプログラムから出力された印刷指示であって、前記汎用印刷プログラムに対して画像の印刷を前記プリンタに行わせる前記印刷指示があった場合に、
前記通信環境取得処理にて取得された前記通信環境情報に応じた圧縮を、前記汎用印刷プログラムに指示する指示処理と、
前記印刷指示による印刷対象の前記画像を示す中間データを取得する取得処理であって、前記指示処理にて指示した前記通信環境情報に応じた圧縮がなされた前記中間データを前記汎用印刷プログラムから取得する、前記取得処理と、
前記取得処理にて取得された前記中間データから生成された印刷データに基づく印刷を前記プリンタに行わせるための処理を行う印刷処理と、
を実行させる、
ように構成されるサポートプログラム。
続きを表示(約 1,100 文字)
【請求項2】
請求項1に記載されるサポートプログラムにおいて、
前記通信環境取得処理は、前記情報処理装置と前記プリンタ間の通信速度を計測する計速処理を含み、前記通信環境情報は前記計速処理で計測された通信速度を含む、
ように構成されるサポートプログラム。
【請求項3】
請求項2に記載されるサポートプログラムにおいて、
前記計速処理は、前記情報処理装置から計速用パケットを送信し所定の応答がされるまでの時間を計測する直接計速処理を含む、
ように構成されるサポートプログラム。
【請求項4】
請求項2に記載されるサポートプログラムにおいて、
前記計速処理は、前記情報処理装置にインストールされている計速アプリに前記情報処理装置と前記プリンタ間の通信速度の計測を要求し、前記計速アプリから計測された通信速度を取得する間接計速処理を含む、
ように構成されるサポートプログラム。
【請求項5】
請求項2に記載されるサポートプログラムにおいて、
前記計速処理は、前記プリンタから能力情報を取得するために要する時間を計測する計時処理を含む、
ように構成されるサポートプログラム。
【請求項6】
請求項1に記載されるサポートプログラムにおいて、
前記通信環境取得処理では、前記情報処理装置と前記プリンタ間の通信インタフェースの情報が取得され、前記通信環境情報は前記通信インタフェースの情報を含む、
ように構成されるサポートプログラム。
【請求項7】
請求項1に記載されるサポートプログラムにおいて、
前記通信環境取得処理では、前記情報処理装置と前記プリンタ間の通信経路の情報が取得され、前記通信環境情報は前記通信経路の情報を含む、
ように構成されるサポートプログラム。
【請求項8】
請求項1に記載されるサポートプログラムにおいて、
前記通信環境取得処理では、従量制課金の通信であるか否かの情報が取得され、前記通信環境情報は前記従量制課金の通信であるか否かの情報を含む、
ように構成されるサポートプログラム。
【請求項9】
請求項3に記載されるサポートプログラムにおいて、
前回の前記直接計速処理から所定時間経過していなければ前回の前記直接計速処理で計測された通信速度を前記通信環境情報に含ませる、
ように構成されるサポートプログラム。
【請求項10】
請求項4に記載されるサポートプログラムにおいて、
前記間接計速処理では、前記計速アプリが定期的に計速した最新の通信速度を取得する、
ように構成されるサポートプログラム。
発明の詳細な説明
【技術分野】
【0001】
本明細書に開示される技術分野は、プリンタの制御をサポートするサポートプログラムに関する。
続きを表示(約 2,000 文字)
【背景技術】
【0002】
近年、プリンタベンダから提供されるプリンタドライバを利用せず、オペレーティングシステム(OS)の一部を構成するOS標準の汎用印刷プログラムによってプリンタを制御する技術が実用化されている。この技術では、OSがプリンタを検知するとOS標準の汎用印刷プログラムとの関連付けを行い、以後、そのプリンタに対する印刷指示を受け付けた場合に、プリンタベンダから提供されるプリンタドライバを用いずに、OS標準の汎用印刷プログラムが印刷データを生成することで、OS標準の汎用印刷プログラムによる印刷が可能になる。
【0003】
OS標準の汎用印刷プログラムに関連する技術を開示した文献としては、例えば特許文献1がある。特許文献1には、汎用印刷プログラムをサポートするサポートプログラムが中間データをラスタライズし圧縮することで印刷開始の遅れを抑制することができる技術が開示されている。
【先行技術文献】
【特許文献】
【0004】
特開2023-049478号公報
【発明の概要】
【発明が解決しようとする課題】
【0005】
特許文献1には、サポートプログラムが汎用印刷プログラムから中間データを受けて、受けた中間データを用いてラスタライズ及び圧縮処理が行われる。ここで、汎用印刷プログラムから受ける中間データをラスタライズ及び圧縮するには、中間データが大きなサイズの場合、サポートプログラムが処理する時間を要してしまうおそれがあり、また、むやみに圧縮してしまうと画質低下を招くおそれがある。一方、圧縮をしない場合、通信量が必要以上に増大してしまうおそれがある。したがって、画質と処理時間と通信量のバランスの最適化には改善の余地がある。
【課題を解決するための手段】
【0006】
上述した課題の解決を目的としてなされたサポートプログラムは、情報処理装置のコンピュータによって実行可能であり、前記情報処理装置と接続するプリンタに対応するサポートプログラムであって、前記情報処理装置には、汎用印刷プログラムを有するオペレーティングシステムが搭載されており、前記サポートプログラムは、前記コンピュータに、前記情報処理装置と前記プリンタ間の通信環境情報を取得する通信環境取得処理と、前記情報処理装置に組み込まれているアプリケーションプログラムから出力された印刷指示であって、前記汎用印刷プログラムに対して画像の印刷を前記プリンタに行わせる前記印刷指示があった場合に、前記通信環境取得処理にて取得された前記通信環境情報に応じた圧縮を、前記汎用印刷プログラムに指示する指示処理と、前記印刷指示による印刷対象の前記画像を示す中間データを取得する取得処理であって、前記指示処理にて指示した前記通信環境情報に応じた圧縮がなされた前記中間データを前記汎用印刷プログラムから取得する、前記取得処理と、前記取得処理にて取得された前記中間データから生成された印刷データに基づく印刷を前記プリンタに行わせるための処理を行う印刷処理と、を実行させる、ように構成されている。
【0007】
上記構成を有するサポートプログラムは、前記情報処理装置と前記プリンタ間の通信環境情報を取得する通信環境取得処理にて取得された前記通信環境情報に応じた圧縮を、前記汎用印刷プログラムに指示する。サポートプログラムは、圧縮された中間データを汎用印刷プログラムから取得する。サポートプログラムは、取得した中間データから生成された印刷データに基づく印刷をプリンタに行わせる。このようなサポートプログラムによれば、汎用印刷プログラムによる圧縮機能を活用できるとともに、サポートプログラムの処理時間が削減される。そして通信環境情報に応じた圧縮を実行することにより、通信環境に最適な印刷処理を実現することができる。
【0008】
上記サポートプログラムの機能を実現するための装置、制御方法、および当該サポートプログラムを格納するコンピュータにて読取可能な記憶媒体も、新規で有用である。
【発明の効果】
【0009】
本明細書に開示される技術によれば、OS標準の汎用印刷プログラムが組み込まれた情報処理装置において、通信環境に応じて、画質と処理時間と通信量のバランスを最適なものとすることができる。
【図面の簡単な説明】
【0010】
PCの電気的構成の概略を示すブロック図である。
通信環境情報の取得の一例を示すシーケンス図である。
印刷実行指示がされる場合の処理の一例を示すシーケンス図である。
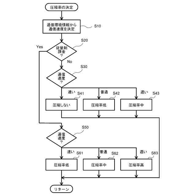
圧縮率の決定の一例を説明するフローチャートである。
通信環境情報の取得の他の一例を示すシーケンス図である。
【発明を実施するための形態】
(【0011】以降は省略されています)
この特許をJ-PlatPat(特許庁公式サイト)で参照する
関連特許
ブラザー工業株式会社
固定具
今日
ブラザー工業株式会社
ボビン
今日
ブラザー工業株式会社
搬送装置
7日前
ブラザー工業株式会社
縫製装置
今日
ブラザー工業株式会社
印刷装置
今日
ブラザー工業株式会社
糸巻回装置
今日
ブラザー工業株式会社
糸巻回装置
今日
ブラザー工業株式会社
画像形成装置
今日
ブラザー工業株式会社
画像形成装置
6日前
ブラザー工業株式会社
画像形成装置
5日前
ブラザー工業株式会社
画像形成装置
5日前
ブラザー工業株式会社
画像形成装置
5日前
ブラザー工業株式会社
画像形成装置
今日
ブラザー工業株式会社
液体吐出装置
1日前
ブラザー工業株式会社
液体吐出装置
今日
ブラザー工業株式会社
画像形成装置
今日
ブラザー工業株式会社
画像形成装置
5日前
ブラザー工業株式会社
画像形成装置
今日
ブラザー工業株式会社
画像形成装置
今日
ブラザー工業株式会社
画像形成装置
今日
ブラザー工業株式会社
画像形成装置
今日
ブラザー工業株式会社
画像形成装置
今日
ブラザー工業株式会社
画像形成装置
今日
ブラザー工業株式会社
画像形成装置
今日
ブラザー工業株式会社
画像形成装置
今日
ブラザー工業株式会社
画像形成装置
今日
ブラザー工業株式会社
液体吐出ヘッド
5日前
ブラザー工業株式会社
システム及び管理装置
7日前
ブラザー工業株式会社
システム及びプログラム
7日前
ブラザー工業株式会社
システム及びプログラム
7日前
ブラザー工業株式会社
仮想プリンタ管理プログラム
5日前
ブラザー工業株式会社
移動検出装置及び縫製システム
今日
ブラザー工業株式会社
シート搬送装置及び画像形成装置
今日
ブラザー工業株式会社
プログラム、および、画像処理装置
5日前
ブラザー工業株式会社
画像形成装置及び画像形成システム
5日前
ブラザー工業株式会社
情報処理プログラム及び情報処理装置
5日前
続きを見る
他の特許を見る