TOP
|
特許
|
意匠
|
商標
特許ウォッチ
Twitter
他の特許を見る
10個以上の画像は省略されています。
公開番号
2025141045
公報種別
公開特許公報(A)
公開日
2025-09-29
出願番号
2024040779
出願日
2024-03-15
発明の名称
液体吐出ヘッド
出願人
セイコーエプソン株式会社
代理人
弁理士法人旺知国際特許事務所
主分類
B41J
2/14 20060101AFI20250919BHJP(印刷;線画機;タイプライター;スタンプ)
要約
【課題】圧電素子および振動板で構成されるアクチュエーターでのクラックの発生を抑制する。
【解決手段】液体吐出ヘッドは、圧電素子と、圧電素子の駆動により振動する振動板と、振動板の振動により液体に圧力を付与する圧力室が設けられる圧力室基板と、を備え、圧力室基板、振動板および圧電素子がこの順で積層方向に積層されており、振動板は、構成元素としてケイ素を含む第1層と、積層方向において第1層上に設けられ、酸化チタンを含む第2層と、を有し、第2層に含まれる酸化チタンの主状態が、アナターゼ構造、ブルッカイト構造およびアモルファスのうちのいずれかである。
【選択図】図5
特許請求の範囲
【請求項1】
圧電素子と、
前記圧電素子の駆動により振動する振動板と、
前記振動板の振動により液体に圧力を付与する圧力室が設けられる圧力室基板と、を備え、
前記圧力室基板、前記振動板および前記圧電素子がこの順で積層方向に積層されており、
前記振動板は、
構成元素としてケイ素を含む第1層と、
前記積層方向において前記第1層上に設けられ、酸化チタンを含む第2層と、を有し、
前記第2層に含まれる酸化チタンの主状態が、アナターゼ構造、ブルッカイト構造およびアモルファスのうちのいずれかである、
ことを特徴とする液体吐出ヘッド。
続きを表示(約 530 文字)
【請求項2】
前記第2層に含まれる酸化チタンの主状態は、アナターゼ構造およびブルッカイト構造のうちのいずれかである、
請求項1に記載の液体吐出ヘッド。
【請求項3】
前記第2層をX線結晶構造解析で測定したとき、測定データにおいて、2θが20°以上50°以下であり、かつ、γが-95°以上-85°以下である範囲にピークを示さない、
請求項1に記載の液体吐出ヘッド。
【請求項4】
前記第2層の膜応力は、700MPa以下の引張応力である、
請求項1に記載の液体吐出ヘッド。
【請求項5】
前記振動板は、前記第2層と前記圧電素子との間に配置され、構成元素としてジルコニアを含む第3層をさらに備える、
請求項1から4のいずれか1項に記載の液体吐出ヘッド。
【請求項6】
前記圧電素子は、前記積層方向において前記第2層に接する、
請求項1から4のいずれか1項に記載の液体吐出ヘッド。
【請求項7】
前記圧電素子は、構成元素として鉛を含む圧電体層を有し、
前記第2層は、鉛を含む、
請求項1から4のいずれか1項に記載の液体吐出ヘッド。
発明の詳細な説明
【技術分野】
【0001】
本発明は、液体吐出ヘッドに関する。
続きを表示(約 1,700 文字)
【背景技術】
【0002】
ピエゾ方式のインクジェットプリンターに代表される装置に用いられる液体吐出ヘッドは、圧電素子と、圧電素子の駆動により振動する振動板と、を有する。例えば、特許文献1では、二酸化シリコンからなる弾性膜と酸化ジルコニウムからなる絶縁体膜とを有する振動板が開示される。ここで、弾性膜は、シリコン単結晶基板の一方の面を熱酸化することにより形成される。絶縁体膜は、スパッタリング法等により弾性膜上に形成されたジルコニウム単体の層を熱酸化することにより形成される。
【先行技術文献】
【特許文献】
【0003】
特開2008-78407号公報
【発明の概要】
【発明が解決しようとする課題】
【0004】
特許文献1に記載の技術では、振動板等のクラックが生じる虞があった。
【課題を解決するための手段】
【0005】
以上の課題を解決するために、本発明に係る液体吐出ヘッドの一態様は、圧電素子と、前記圧電素子の駆動により振動する振動板と、前記振動板の振動により液体に圧力を付与する圧力室が設けられる圧力室基板と、を備え、前記圧力室基板、前記振動板および前記圧電素子がこの順で積層方向に積層されており、前記振動板は、構成元素としてケイ素を含む第1層と、前記積層方向において前記第1層上に設けられ、酸化チタンを含む第2層と、を有し、前記第2層に含まれる酸化チタンの主状態が、アナターゼ構造、ブルッカイト構造およびアモルファスのうちのいずれかである。
【図面の簡単な説明】
【0006】
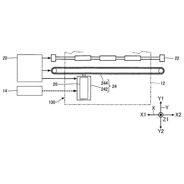
第1実施形態に係る液体吐出ヘッドを備える液体吐出装置を模式的に示す構成図である。
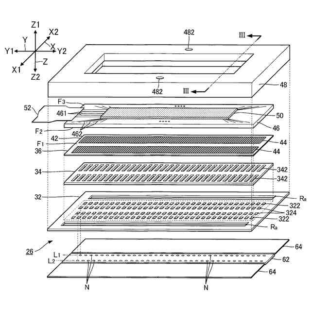
第1実施形態に係る液体吐出ヘッドの分解斜視図である。
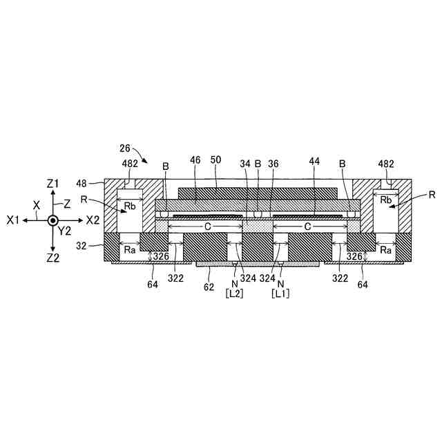
図2中のIII-III線断面図である。
第1実施形態における液体吐出ヘッドの振動板を示す平面図である。
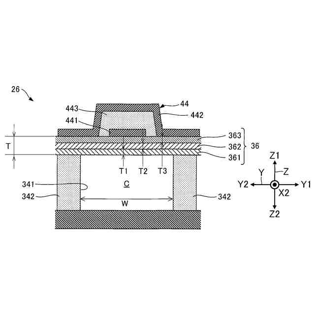
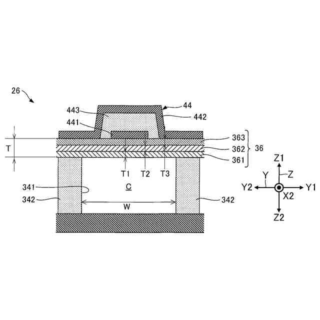
図4中のV-V線断面図である。
第2層をX線結晶構造解析で測定した結果の一例を示す図である。
液体吐出ヘッドの製造方法を説明するための図である。
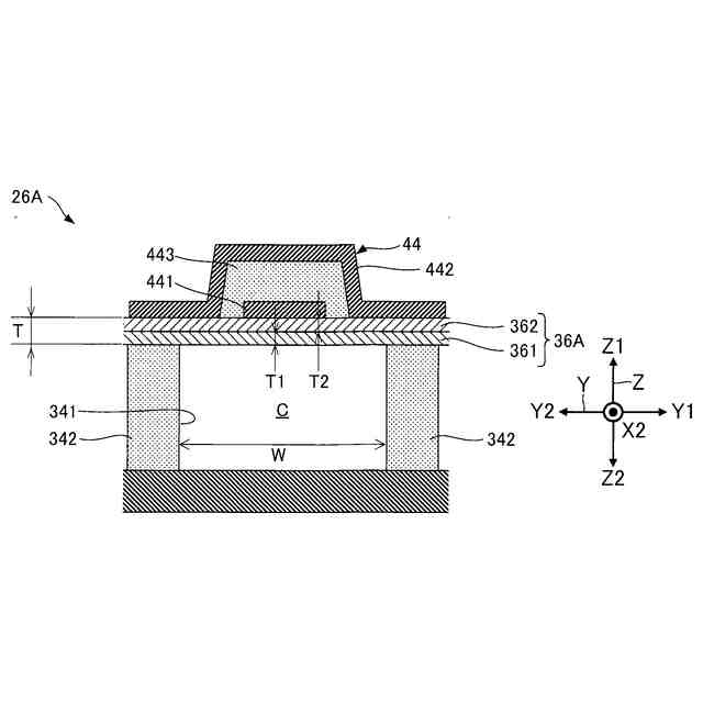
第2実施形態に係る液体吐出ヘッドの断面図である。
実施例1-9および比較例の第2層の状態と評価との関係を示す図である。
【発明を実施するための形態】
【0007】
以下、添付図面を参照しながら本発明に係る好適な実施形態を説明する。なお、図面において各部の寸法または縮尺は実際と適宜に異なり、理解を容易にするために模式的に示している部分もある。また、本発明の範囲は、以下の説明において特に本発明を限定する旨の記載がない限り、これらの形態に限られない。
【0008】
なお、以下の説明は、互いに交差するX軸、Y軸およびZ軸を適宜に用いて行う。また、X軸に沿う一方向をX1方向といい、X1方向と反対の方向をX2方向という。同様に、Y軸に沿って互いに反対の方向をY1方向およびY2方向という。また、Z軸に沿って互いに反対の方向をZ1方向およびZ2方向という。また、Z軸に沿う方向でみることを「平面視」という。
【0009】
ここで、典型的には、Z軸が鉛直な軸であり、Z2方向が鉛直方向での下方向に相当する。ただし、Z軸は、鉛直な軸でなくともよい。また、X軸、Y軸およびZ軸は、典型的には互いに直交するが、これに限定されず、例えば、80°以上100°以下の範囲内の角度で交差すればよい。
【0010】
1.第1実施形態
1-1.液体吐出装置の全体構成
図1は、第1実施形態に係る液体吐出ヘッド26を備える液体吐出装置100を模式的に示す構成図である。液体吐出装置100は、液体の一例であるインクを液滴として媒体12に吐出するインクジェット方式の印刷装置である。媒体12は、典型的には印刷用紙である。なお、媒体12は、印刷用紙に限定されず、例えば、樹脂フィルムまたは布帛等の任意の材質の印刷対象でもよい。
(【0011】以降は省略されています)
この特許をJ-PlatPat(特許庁公式サイト)で参照する
関連特許
個人
箔熱転写装置
22日前
シヤチハタ株式会社
印判
4か月前
キヤノン株式会社
記録装置
15日前
独立行政法人 国立印刷局
印刷物
6か月前
三光株式会社
感熱記録材料
5か月前
株式会社リコー
印刷システム
3日前
株式会社リコー
液体吐出装置
7か月前
株式会社リコー
液体吐出装置
4か月前
株式会社リコー
画像形成装置
22日前
日本製紙株式会社
感熱記録体
7か月前
株式会社リコー
液体吐出装置
7か月前
株式会社リコー
液体吐出装置
3か月前
独立行政法人 国立印刷局
貼付装置
1か月前
株式会社リコー
液体吐出装置
1か月前
株式会社リコー
液体吐出装置
5か月前
独立行政法人 国立印刷局
貼付機構
1か月前
株式会社リコー
画像形成装置
3日前
株式会社リコー
液体吐出装置
4か月前
理想科学工業株式会社
印刷装置
6か月前
独立行政法人 国立印刷局
潜像印刷物
1か月前
キヤノン株式会社
画像形成装置
4か月前
ブラザー工業株式会社
プリンタ
1か月前
ブラザー工業株式会社
プリンタ
7か月前
ブラザー工業株式会社
プリンタ
3か月前
キヤノン株式会社
画像記録装置
15日前
キヤノン株式会社
画像形成装置
1か月前
ブラザー工業株式会社
液体吐出ヘッド
15日前
キヤノン株式会社
画像形成装置
3か月前
キヤノン株式会社
画像形成装置
5か月前
ブラザー工業株式会社
プリンタ
5か月前
ブラザー工業株式会社
プリンタ
5か月前
キヤノン株式会社
画像形成装置
6か月前
理想科学工業株式会社
印刷装置
7日前
キヤノン株式会社
印刷システム
6か月前
キヤノン株式会社
画像処理装置
4か月前
キヤノン株式会社
画像形成装置
7か月前
続きを見る
他の特許を見る